вконтакте

Контактный телефон: +7 (981) 121-46-93, +7 (800) 200-90-76 , Email: parts-katalog@yandex.ru, где купить

 
 

  Логин:

Пароль:

Регистрация

www.partskatalog.ru Все каталоги Запчасти Mercury Запчасти Suzuki Запчасти Tohatsu Запчасти Honda Контакты



УВАЖАЕМЫЕ КЛИЕНТЫ!
C 19 ДЕКАБРЯ 2025 ПО 02 МАРТА 2026 ГОДА ОТДЕЛ ЗАПЧАСТЕЙ И СЕРВИС РАБОТАТЬ НЕ БУДУТ
ПРОДАЖА ЛОДОЧНЫХ МОТОРОВ В ШТАТНОМ РЕЖИМЕ
ОБ ИЗМЕНЕНИЯХ В ГРАФИКЕ РАБОТЫ ЧИТАЙТЕ НА САЙТА




Выбрать другую модель

назад Раздел:   вперёд

вернуться к списку узлов и деталей

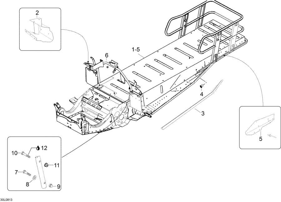
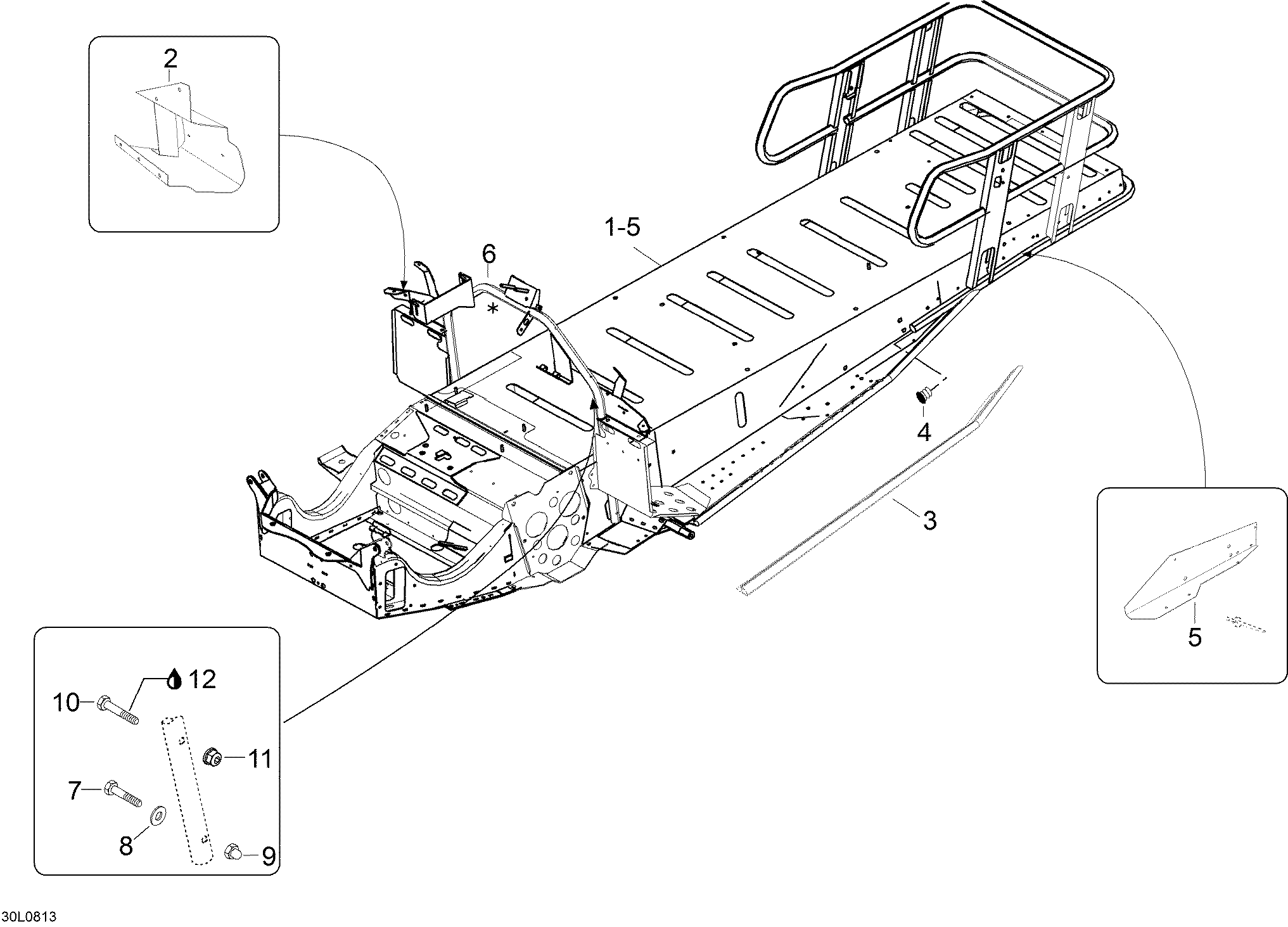
ДЕТАЛИРОВКА ДЛЯ МОДЕЛИ: LYNX YETI V-800, 2008


Snowmobile lynx  - Рама / Frame

Номер на
рисунке
АртикулНаименованиеКол-во
на складе
Цена
1 605155314

Рама в сборе. Includes 1 to 5 (Frame assy. Includes 1 to 5)

под заказ211700 руб.
2 605350839

R.H. Footrest (R.H. Footrest)

под заказ1670 руб.
2 605350840

L.H. Footrest (L.H. Footrest)

под заказ1560 руб.
3 605250773

L.H. Sвышеport (L.H. Support)

под заказ2660 руб.
3 605250774

R.H. Sвышеport (R.H. Support)

под заказ2660 руб.
4 28210

Заглушка (Plug)

под заказ240 руб.
5 605350845

L.H. Кронштейн (L.H. Bracket)

под заказ1080 руб.
5 605350846

R.H. Кронштейн (R.H. Bracket)

под заказ1080 руб.
6 605153995

Рулевая опора (Steering support)

под заказ19030 руб.
7 40003

Шестигранный винт M6 x 35 (Hex. screw M6 x 35)

под заказ50 руб.
8 20003

Шайба A6, 4 (Washer A6,4)

под заказ20 руб.
8

(последний код)

под заказпо запросу
9 33051

Гайка M6 (Nut M6)

под заказ80 руб.
9 3399051

(последний код) NUT M6(USE 33051)

под заказ50 руб.
10 40002

Шестигранный винт M6 x 40 (Hex. screw M6 x 40)

под заказ60 руб.
11 33200

Elastic Фланецd Гайка M6 (Elastic flanged nut M6)

под заказпо запросу
11 33072

(последний код) NUT-FLANGE HEX. M6 DIN 6927 8.8 YIC

под заказпо запросу
12 293800060

Loctite 243 10ml (Loctite 243 10ml)

под заказ2150 руб.
12 420897651

(последний код) LOCTITE-243

под заказпо запросу
lynx

 
 

данный сайт носит информационный характер и не является публичной офертой

склад запчастей для водомоторной техники