вконтакте

Контактный телефон: +7 (981) 121-46-93, +7 (800) 200-90-76 , Email: parts-katalog@yandex.ru, где купить

 
 

  Логин:

Пароль:

Регистрация

www.partskatalog.ru Все каталоги Запчасти Mercury Запчасти Suzuki Запчасти Tohatsu Запчасти Honda Контакты



УВАЖАЕМЫЕ КЛИЕНТЫ!
C 19 ДЕКАБРЯ 2025 ПО 02 МАРТА 2026 ГОДА ОТДЕЛ ЗАПЧАСТЕЙ И СЕРВИС РАБОТАТЬ НЕ БУДУТ
ПРОДАЖА ЛОДОЧНЫХ МОТОРОВ В ШТАТНОМ РЕЖИМЕ
ОБ ИЗМЕНЕНИЯХ В ГРАФИКЕ РАБОТЫ ЧИТАЙТЕ НА САЙТА




Выбрать другую модель

назад Раздел:   вперёд

вернуться к списку узлов и деталей

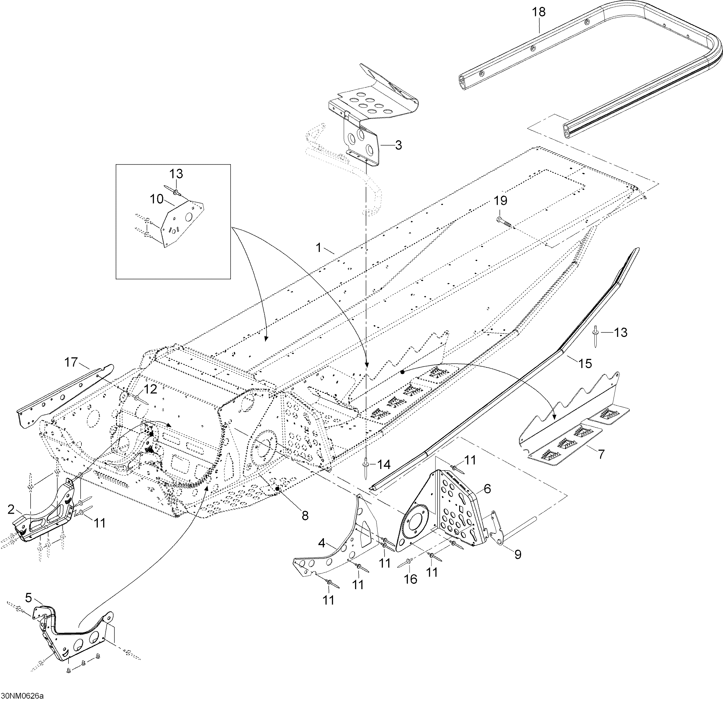
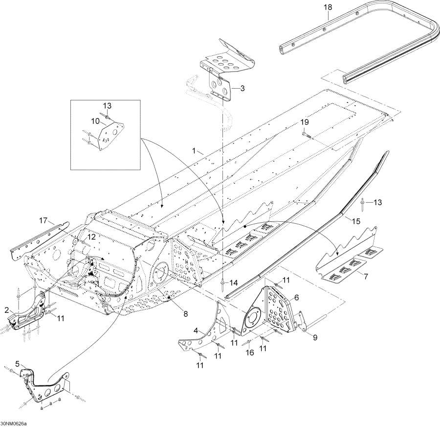
ДЕТАЛИРОВКА ДЛЯ МОДЕЛИ: LYNX Rave Xtrim N-Duro 550F, 2006


Снегоходы Lynx  - Рама - Frame

Номер на
рисунке
АртикулНаименованиеКол-во
на складе
Цена
1605152421

Рама в сборе. Includes 1 to 21 (Frame assy. Includes 1 to 21)

под заказ381100 руб.
2518323346

Stiffener (Stiffener)

под заказ1210 руб.
2518322235

(последний код) SUPP-ENGINE

под заказ950 руб.
3605353473

R.H. Toe hold (R.H. Toe hold)

под заказ2170 руб.
3605351601

(последний код) toesupport right

под заказ1990 руб.
3605353472

L.H. Toe hold (L.H. Toe hold)

под заказ2170 руб.
3605351600

(последний код) toesupport left

под заказ1990 руб.
4605350345

Inner reinдляcement (Inner reinforcement)

под заказ1280 руб.
5605451826

Двигатель sвышеport (Engine support)

под заказ1280 руб.
6518323805

R.H. footrest reinдляcement (R.H. footrest reinforcement)

под заказ2720 руб.
6518323369

(последний код) RENF.REP.-PI.DR*REINF.-FOOTREST RH

под заказ2130 руб.
6518324527

L.H. footrest reinдляcement (L.H. footrest reinforcement)

под заказ1590 руб.
6518323765

(последний код) RENFORT GAUCHE *REINFORCEMENT

под заказ1240 руб.
7605253924

R.H. footrest reinдляcement (R.H. footrest reinforcement)

под заказ3540 руб.
7605253923

L.H. footrest reinдляcement (L.H. footrest reinforcement)

под заказ3540 руб.
8605451590

Заклёпка Пластина (Rivet plate)

под заказ210 руб.
9605453453

L.H. Sвышеport Пластина (L.H. Support plate)

под заказ2020 руб.
9605453454

R.H. Sвышеport Пластина (R.H. Support plate)

под заказ2020 руб.
10605453605

R.H. Кронштейн (R.H. Bracket)

под заказ260 руб.
10605453604

L.H. Кронштейн (L.H. Bracket)

под заказ260 руб.
1136007

Заклёпка (Rivet)

под заказ50 руб.
1236094

Заклёпка (Rivet)

под заказпо запросу
1336108

Заклёпка (Rivet)

под заказ40 руб.
13

(последний код)

под заказпо запросу
1436489

Заклёпка (Rivet)

под заказ80 руб.
14

(последний код)

под заказпо запросу
15605353808

L.H. Ролик (L.H. Roller)

под заказ3670 руб.
15605353809

R.H. Ролик (R.H. Roller)

под заказ3670 руб.
1636006

Заклёпка (Rivet)

под заказ340 руб.
16293150096

(последний код) RIVET-HEMLOCK 1/4

под заказ430 руб.
17605353544

Stiffener (Stiffener)

под заказ1820 руб.
18605253597

Rear Бампер (Rear bumper)

под заказпо запросу
1940336

Винт M8 x 20 (Screw M8 x 20)

под заказ310 руб.
19

(последний код)

под заказпо запросу
lynx

 
 

данный сайт носит информационный характер и не является публичной офертой

склад запчастей для водомоторной техники