вконтакте

Контактный телефон: +7 (981) 121-46-93, +7 (800) 200-90-76 , Email: parts-katalog@yandex.ru, где купить

 
 

  Логин:

Пароль:

Регистрация

www.partskatalog.ru Все каталоги Запчасти Mercury Запчасти Suzuki Запчасти Tohatsu Запчасти Honda Контакты



УВАЖАЕМЫЕ КЛИЕНТЫ!
C 19 ДЕКАБРЯ 2025 ПО 02 МАРТА 2026 ГОДА ОТДЕЛ ЗАПЧАСТЕЙ И СЕРВИС РАБОТАТЬ НЕ БУДУТ
ПРОДАЖА ЛОДОЧНЫХ МОТОРОВ В ШТАТНОМ РЕЖИМЕ
ОБ ИЗМЕНЕНИЯХ В ГРАФИКЕ РАБОТЫ ЧИТАЙТЕ НА САЙТА




Выбрать другую модель

назад Раздел:   вперёд

вернуться к списку узлов и деталей

ДЕТАЛИРОВКА ДЛЯ МОДЕЛИ: LYNX Enduro Sport, 2005


Снегоходы Лункс  - Utilities / Utilities

Номер на
рисунке
АртикулНаименованиеКол-во
на складе
Цена
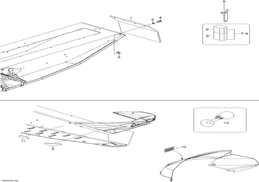
15246131

Snow guard (Snow guard)

под заказ6250 руб.
233200

Elastic Фланецd Гайка M6 (Elastic flanged nut M6)

под заказпо запросу
233072

(последний код) NUT-FLANGE HEX. M6 DIN 6927 8.8 YIC

под заказпо запросу
320009

Шайба A6.4 (Washer A6.4)

под заказпо запросу
3542376

(последний код) WASHER

под заказпо запросу
440078

Шестигранный винт M6 x 22 (Hex. screw M6 x 22)

под заказ150 руб.
4

(последний код)

под заказпо запросу
5520000311

Reflector, rear (Reflector, rear)

под заказ1270 руб.
6529032900

Гаечный ключ Регулятор (Wrench adjuster)

под заказ760 руб.
6529000035

(последний код) CLE DE REGLAGE *WRENCH-ADJ.

под заказ1150 руб.
7605350525

Комплект инструмента. Includes 7 to 9 (Tool set. Includes 7 to 9)

под заказ2560 руб.
7605350523

(последний код) TOOL BOX

под заказ2350 руб.
8708200041

Инструмент box (Tool box)

под заказпо запросу
8A50121179000

(последний код) COFFRE OUTILS *BOX-TOOL ASSY.

под заказ2010 руб.
9572036400

Крышка (Cover)

под заказ1570 руб.
9572036310

(последний код) COFFRE OUTILS *BOX-TOOL ASSY.

под заказ2010 руб.
1021118

Reflector, Bправый (Reflector, Bright)

под заказ1930 руб.
1121135

Reflector, жёлтый (Reflector, yellow)

под заказ840 руб.
1221003

Horn (Horn)

под заказпо запросу
12415040700

(последний код) AVERTISSEUR *HORN

под заказ1980 руб.
lynx

 
 

данный сайт носит информационный характер и не является публичной офертой

склад запчастей для водомоторной техники