|   | 
   
     
 Выбрать другую модель 
вернуться к списку узлов и деталей ДЕТАЛИРОВКА ДЛЯ МОДЕЛИ: LYNX Lynx 5900FCE, 2005 
 
 
 
 
Номер на   рисунке | Артикул | Наименование | Кол-во   на складе | Цена |  
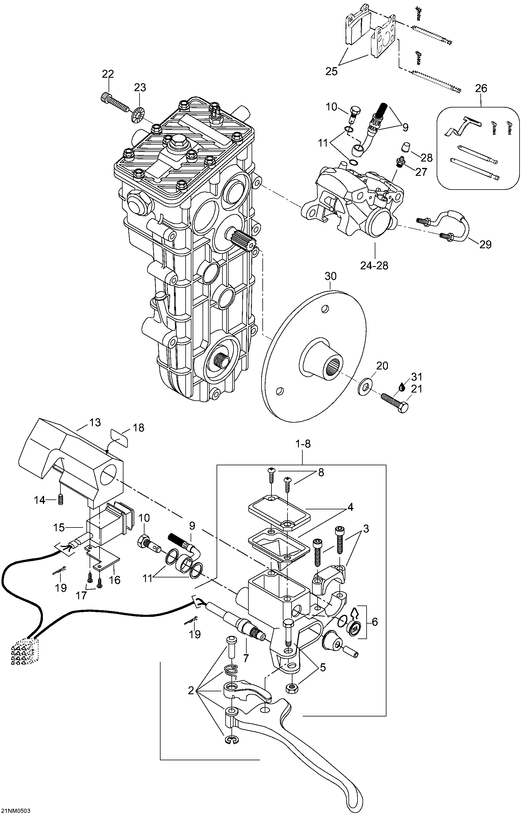
| 1 | 507032322 | Master Цилиндр. Includes 1 to 8 (Master cylinder. Includes 1 to 8)  | под заказ | по запросу |  
| 2 | 507032268 | Short тормоз Рычаг (Short brake lever)  | под заказ | 6930 руб. |  
| 2 | SM-08064 |      (не оригинальная запчасть) Ручка тормоза BRP SM-08064  | под заказ | 2 590 руб. |  
| 3 | 415029800 | Струбцина в сборе (Clamp assy)  | под заказ | 1570 руб. |  
| 3 | 507032477 | (последний код) BRIDE          *CLAMP                                                             | под заказ | 2010 руб. |  
| 4 | 415029900 | Крышка (Cover)  | под заказ | 3000 руб. |  
| 5 | 415030000 | Штифт в сборе (Pin assy)  | под заказ | 1290 руб. |  
| 5 | 507032280 | (последний код) AXE            *PIN                                                               | под заказ | 970 руб. |  
| 6 | 414990600 | Window (Window)  | под заказ | 1120 руб. |  
| 7 | 507032334 | MicroПереключатель в сборе (Microswitch assy)  | под заказ | 3700 руб. |  
| 7 | 507032366 | (последний код) MICROSWITCH                                                                       | под заказ | 5210 руб. |  
| 7 | 01-280-01 |      (не оригинальная запчасть) Выключатель стоп-сигнала BRP 01-280-01  | под заказ | 1 060 руб. |  
| 8 | 216141260 | Винт (Screw)  | под заказ | 290 руб. |  
| 8 | 415078900 | (последний код) VIS            *SCREW                                                             | под заказ | 230 руб. |  
| 9 | 507032219 | тормоз line (Brake line)  | под заказ | 4290 руб. |  
| 10 | 414920500 | Болт (Bolt)  | под заказ | 740 руб. |  
| 11 | 414920600 | Шайба (Washer)  | под заказ | 290 руб. |  
| 12 | 515175492 | Light Переключатель Корпус в сборе. Includes 12 to 18 (Light switch housing assy. Includes 12 to 18)  | под заказ | по запросу |  
| 13 | 572079500 | Корпус (Housing)  | под заказ | 1180 руб. |  
| 14 | 414440800 | Установочный винт (Set screw)  | под заказ | 290 руб. |  
| 14 | 114144408 | (последний код) SCREW                                                                             | под заказ | 220 руб. |  
| 15 | 515175371 | Переключатель (Switch)  | под заказ | 3130 руб. |  
| 15 | 515175423 | (последний код) COMMUTATEUR    *SWITCH                                                            | под заказ | 3410 руб. |  
| 15 | 01-120-36 |      (не оригинальная запчасть) Переключатель света BRP/Polaris/Yamaha 01-120-36  | под заказ | 2 310 руб. |  
| 16 | 517283800 | Корпус-Пластина (Housing-plate)  | под заказ | 410 руб. |  
| 17 | 414473200 | Винт (Screw)  | под заказ | 230 руб. |  
| 17 | 211000098 | (последний код) SCREW-THREAD CUT.PH.PAN TYPE25                                                    | под заказ | 290 руб. |  
| 18 | 415025500 | Переключатель Наклейка (Switch decal)  | под заказ | 430 руб. |  
| 19 | 42603 | Коннектор (Connector)  | под заказ | 60 руб. |  
| 19 | 605642628 | (последний код) CONNECTEUR     *CONNECTOR AMP 926887-3                                            | под заказ | 60 руб. |  
| 20 | 546336 | Шайба (Washer)  | под заказ | 760 руб. |  
| 20 |  | (последний код)   | под заказ | по запросу |  
| 21 | 40336 | Шестигранный винт M8 x 20 (Hex. screw M8 x 20)  | под заказ | 310 руб. |  
| 21 |  | (последний код)   | под заказ | по запросу |  
| 22 | 40277 | Socket head Винт M10 x 65 (Socket head screw M10 x 65)  | под заказ | 230 руб. |  
| 23 | 20068 | Шайба с блокировкой (Lock washer)  | под заказ | 840 руб. |  
| 23 |  | (последний код)   | под заказ | по запросу |  
| 24 | 507032412 | Jarrukaliberi Brembo 20.3500.12. Includes 24 to 28 (Jarrukaliberi Brembo 20.3500.12. Includes 24 to 28)  | под заказ | 22900 руб. |  
| 24 | 507032349 | (последний код) CALIPER                                                                           | под заказ | 21000 руб. |  
| 25 | 415084600 | тормоз lining kit (Brake lining kit)  | под заказ | 4640 руб. |  
| 25 | 414990000 | (последний код) ENS.GARNITURES *KIT-PADS BRAKE                                                    | под заказ | 3780 руб. |  
| 25 | SM-05059 |      (не оригинальная запчасть) Тормозные колодки BRP SM-05059  | под заказ | 2 440 руб. |  
| 25 | SM-05059F |      (не оригинальная запчасть) Тормозные колодки BRP SM-05059F  | под заказ | 3 850 руб. |  
| 26 | 414990700 | Kit (Штифтs, Фиксаторs, Пружина) (Kit (pins, retainers, spring))  | под заказ | 2920 руб. |  
| 27 | 414989800 | Винт-bleeder (Screw-bleeder)  | под заказ | 1610 руб. |  
| 28 | 414989700 | Boot (Boot)  | под заказ | 2340 руб. |  
| 29 | 414989900 | Трубка (Tube)  | под заказ | 2380 руб. |  
| 30 | 605350507 | тормоз disk в сборе. 5900FCE (Brake disk assy. 5900FCE)  | под заказ | 11460 руб. |  
| 30 | 605353250 | (последний код) BRAKE DISC                                                                        | под заказ | 12490 руб. |  
| 31 | 293800060 | Loctite 243, 10ml (Loctite 243, 10ml)  | под заказ | 2150 руб. |  
| 31 | 420897651 | (последний код) LOCTITE-243                                                                       | под заказ | по запросу |  
 
     
    | 
     |