вконтакте

Контактный телефон: +7 (981) 121-46-93, +7 (800) 200-90-76 , Email: parts-katalog@yandex.ru, где купить

 
 

  Логин:

Пароль:

Регистрация

www.partskatalog.ru Все каталоги Запчасти Mercury Запчасти Suzuki Запчасти Tohatsu Запчасти Honda Контакты



УВАЖАЕМЫЕ КЛИЕНТЫ!
C 19 ДЕКАБРЯ 2025 ПО 02 МАРТА 2026 ГОДА ОТДЕЛ ЗАПЧАСТЕЙ И СЕРВИС РАБОТАТЬ НЕ БУДУТ
ПРОДАЖА ЛОДОЧНЫХ МОТОРОВ В ШТАТНОМ РЕЖИМЕ
ОБ ИЗМЕНЕНИЯХ В ГРАФИКЕ РАБОТЫ ЧИТАЙТЕ НА САЙТА




Выбрать другую модель

назад Раздел:   вперёд

вернуться к списку узлов и деталей

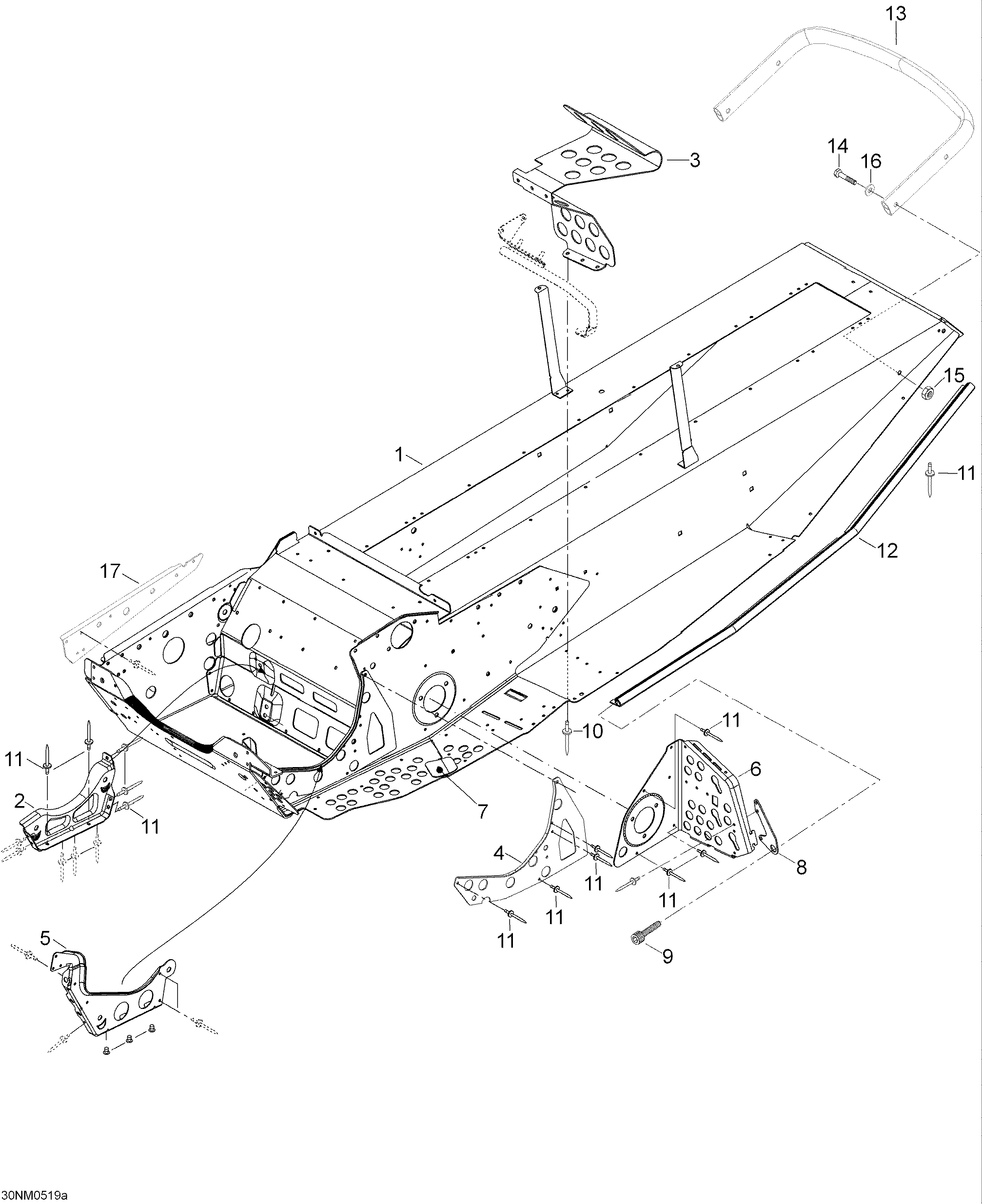
ДЕТАЛИРОВКА ДЛЯ МОДЕЛИ: LYNX Rave 800, 2005


Snow mobile Lynx  - Frame / Рама

Номер на
рисунке
АртикулНаименованиеКол-во
на складе
Цена
1605149620

Рама. Includes 1 to 12. Includes 1 to 17 (Frame. Includes 1 to 12. Includes 1 to 17)

под заказ381100 руб.
2518323346

Stiffener (Stiffener)

под заказ1210 руб.
2518322235

(последний код) SUPP-ENGINE

под заказ950 руб.
3605351601

R.H. Toe hold (R.H. Toe hold)

под заказ1990 руб.
3605353473

(последний код) toesupport right

под заказ2170 руб.
3605351600

L.H. Toe hold (L.H. Toe hold)

под заказ1990 руб.
3605353472

(последний код) toesupport left

под заказ2170 руб.
4605350345

Inner reinдляcement (Inner reinforcement)

под заказ1280 руб.
5605451826

Двигатель sвышеport (Engine support)

под заказ1280 руб.
6518323805

R.H. footrest reinдляcement (R.H. footrest reinforcement)

под заказ2720 руб.
6518323369

(последний код) RENF.REP.-PI.DR*REINF.-FOOTREST RH

под заказ2130 руб.
6518324527

L.H. footrest reinдляcement (L.H. footrest reinforcement)

под заказ1590 руб.
6518323765

(последний код) RENFORT GAUCHE *REINFORCEMENT

под заказ1240 руб.
7605451590

Заклёпка Пластина (Rivet plate)

под заказ210 руб.
8605450199

Sвышеport Пластина (Support plate)

под заказпо запросу
940398

Socket head Винт M12 x 25 (Socket head screw M12 x 25)

под заказпо запросу
1036108

Заклёпка (Rivet)

под заказ40 руб.
10

(последний код)

под заказпо запросу
1136489

Заклёпка (Rivet)

под заказ80 руб.
11

(последний код)

под заказпо запросу
12605349884

L.H. Ролик (L.H. Roller)

под заказ3450 руб.
12605349885

R.H. Ролик (R.H. Roller)

под заказ3450 руб.
13605350891

Rear Бампер (Rear bumper)

под заказ4610 руб.
1440007

Шестигранный винт M8 x 40 (Hex. screw M8 x 40)

под заказпо запросу
144099007

(последний код) SCREW M8X40(USE 40007)

под заказпо запросу
1533201

Elastic Фланецd Гайка M8 (Elastic flanged nut M8)

под заказ230 руб.
15233281414

(последний код) NUT-FLANGE ELASTIC DIN.6926

под заказ290 руб.
1620004

Шайба A8, 4 (Washer A8,4)

под заказ110 руб.
16234081410

(последний код) WASHER-FLAT DIN.125A

под заказ130 руб.
17605350346

Stiffener (Stiffener)

под заказпо запросу
lynx

 
 

данный сайт носит информационный характер и не является публичной офертой

склад запчастей для водомоторной техники