вконтакте

Контактный телефон: +7 (981) 121-46-93, +7 (800) 200-90-76 , Email: parts-katalog@yandex.ru, где купить

 
 

  Логин:

Пароль:

Регистрация

www.partskatalog.ru Все каталоги Запчасти Mercury Запчасти Suzuki Запчасти Tohatsu Запчасти Honda Контакты


Выбрать другую модель

назад Раздел:   вперёд

вернуться к списку узлов и деталей

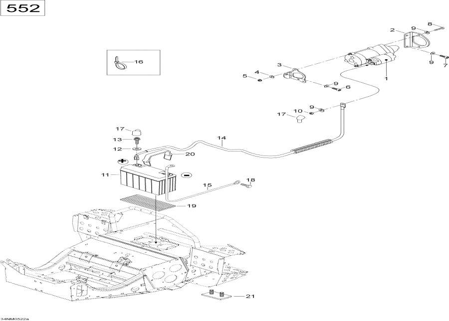
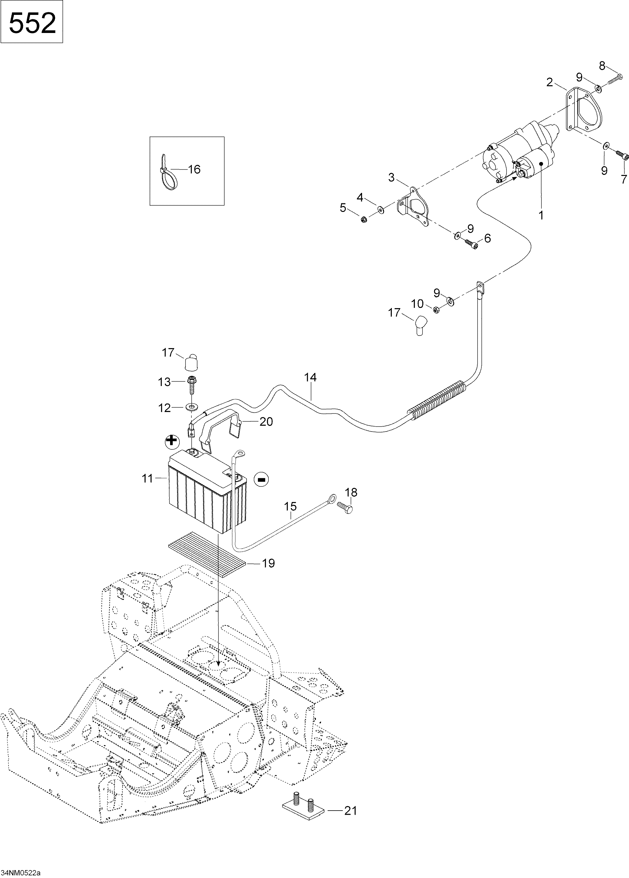
ДЕТАЛИРОВКА ДЛЯ МОДЕЛИ: LYNX ST550, 2005


Снегоходы Lynx  - Battery и Стартер, 550 / Battery And Starter, 550

Номер на
рисунке
АртикулНаименованиеКол-во
на складе
Цена
1410212400

Стартер (Starter)

под заказ40400 руб.
1410209200

(последний код) DEMARREUR *STARTER

под заказ36300 руб.
1SM-01215

     (не оригинальная запчасть) Стартер электрический BRP SM-01215

под заказ18 060 руб.
2515175633

Кронштейн, PTO (Bracket, PTO)

под заказ3010 руб.
3420951426

Кронштейн, MAG (Bracket, MAG)

под заказ2320 руб.
420008

Шайба A5, 3 (Washer A5,3)

под заказ30 руб.
4

(последний код)

под заказпо запросу
533009

Гайка M5 (Nut M5)

под заказпо запросу
5

(последний код)

под заказпо запросу
640066

Socket head Винт M8 x 16 (Socket head screw M8 x 16)

под заказ50 руб.
6

(последний код)

под заказпо запросу
740305

Socket head Винт M8 x 20 (Socket head screw M8 x 20)

под заказ60 руб.
7

(последний код)

под заказпо запросу
840036

Шестигранный винт M8 x 20 (Hex. screw M8 x 20)

под заказ60 руб.
8528801382

(последний код) SCREW

под заказ50 руб.
920014

Пружинная шайба (Spring washer)

под заказ20 руб.
1033003

Гайка M8 (Nut M8)

под заказ20 руб.
11515175642

Battery. Includes 11 to 13 (Battery. Includes 11 to 13)

под заказ8080 руб.
11410301203

(последний код) BATTERY 18AMPS(WET) YTX20LBS(619660002)

под заказ12230 руб.
11FTX20L-BS

     (не оригинальная запчасть) Аккумулятор FTX20L-BS (YTX20L-BS)

под заказ8 580 руб.
11FHD20HL-BS-GEL

     (не оригинальная запчасть) Аккумулятор гелевый FHD20HL-BS-GEL (YTX20HL-BS, YTX20L-BS)

под заказ11 110 руб.
12391302100

Шайба (Washer)

под заказ130 руб.
12399901500

(последний код) WASHER-FLAT

под заказ110 руб.
13207161644

Винт M6 x 16 (Screw M6 x 16)

под заказ290 руб.
13420241186

(последний код) SCREW-HEX.M6 X 16

под заказ230 руб.
14605349434

+ Cabel (+ Cabel)

под заказ1790 руб.
14

(последний код)

под заказпо запросу
15549887

Провод заземления (Ground wire)

под заказ2020 руб.
1627026

Tie-rap (Tie-rap)

под заказ110 руб.
16414115200

(последний код) Гарантийный комплект TIE-RAP 180 MM

под заказ130 руб.
17570151000

Колпачок protection (Cap protection)

под заказ1350 руб.
17673580

(последний код) CAPUCHON PROT. *CAP-PROTECTION

под заказ810 руб.
1840327

Шестигранный винт M6 x 12 (Hex. screw M6 x 12)

под заказ60 руб.
1840329

(последний код) HEX SCREW M6 X12 DIN 7500DZNE

под заказ40 руб.
19605350237

Rubber (Rubber)

под заказ430 руб.
20515175475

Battery Хомут (Battery strap)

под заказ1230 руб.
20515176044

(последний код) SANGLE BATTERIE*STRAP-BATTERY

под заказ1580 руб.
2050-17-005

     (не оригинальная запчасть) Ремень крепления аккумулятора BRP 50-17-005

под заказ580 руб.
215448286

Sвышеport Пластина (Support plate)

под заказ1540 руб.
lynx

 
 

данный сайт носит информационный характер и не является публичной офертой

склад запчастей для водомоторной техники