вконтакте

Контактный телефон: +7 (981) 121-46-93, +7 (800) 200-90-76 , Email: parts-katalog@yandex.ru, где купить

 
 

  Логин:

Пароль:

Регистрация

www.partskatalog.ru Все каталоги Запчасти Mercury Запчасти Suzuki Запчасти Tohatsu Запчасти Honda Контакты



УВАЖАЕМЫЕ КЛИЕНТЫ!
C 19 ДЕКАБРЯ 2025 ПО 02 МАРТА 2026 ГОДА ОТДЕЛ ЗАПЧАСТЕЙ И СЕРВИС РАБОТАТЬ НЕ БУДУТ
ПРОДАЖА ЛОДОЧНЫХ МОТОРОВ В ШТАТНОМ РЕЖИМЕ
ОБ ИЗМЕНЕНИЯХ В ГРАФИКЕ РАБОТЫ ЧИТАЙТЕ НА САЙТА




Выбрать другую модель

назад Раздел:   вперёд

вернуться к списку узлов и деталей

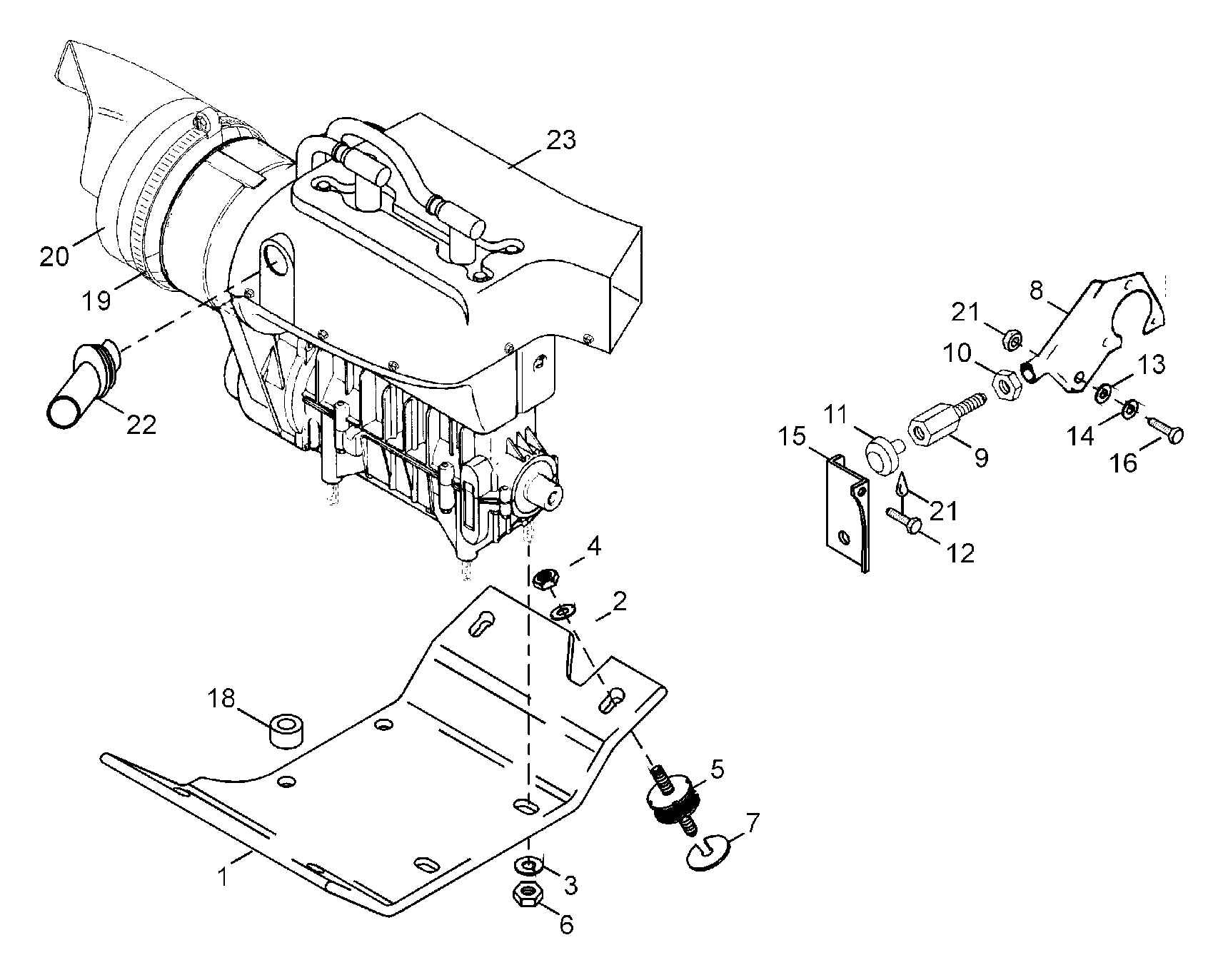
ДЕТАЛИРОВКА ДЛЯ МОДЕЛИ: LYNX Enduro 400 F, 2003


Snow mobile Лункс  - Магнето - Magneto

Номер на
рисунке
АртикулНаименованиеКол-во
на складе
Цена
1420889160

Магнето 12V / 300W. Includes items 1 thru 2 (Magneto 12V/300W. Includes items 1 thru 2)

под заказпо запросу
1420889370

Fly wheel (Fly wheel)

под заказ36600 руб.
1420889376

(последний код) FLYWHEEL

под заказ41700 руб.
2420889360

Статор в сборе (Stator assy)

под заказ46300 руб.
3420927571

Шайба (Washer)

под заказ250 руб.
420013

SКольцо Шайба (Sring washer)

под заказпо запросу
5420840515

Allen Винт M5x18 (Allen screw M5x18)

под заказ290 руб.
5290840515

(последний код) VIS ALLEN *SCREW-SOCKET

под заказ230 руб.
6420966548

Pick выше в сборе для reverse (Pick up assy for reverse)

под заказпо запросу
6420665162

(последний код) CAPTEUR ASS. *PICKUP-ASSY.

под заказпо запросу
6SU-01371A

     (не оригинальная запчасть) Датчик Холла BRP SU-01371A

под заказ4 300 руб.
7420966546

Pick выше в сборе (Pick up assy)

под заказ9710 руб.
7420665160

(последний код) CAPTEUR ASS. *PICKUP-ASSY.

под заказ11960 руб.
7SU-01379A

     (не оригинальная запчасть) Датчик Холла BRP SU-01379A

под заказ7 650 руб.
8420941925

Taptite Винт M5x16 (Taptite screw M5x16)

под заказ290 руб.
8941925

(последний код) SCREW M5 X 16(USE 420941925)

под заказ230 руб.
9420980486

Клиновидный ремень Шкив (V-belt pulley)

под заказ2710 руб.
9980485

(последний код) V-BELT-PULLEY

под заказ2010 руб.
10420852414

Starting Шкив (Starting pulley)

под заказ2140 руб.
10420852420

(последний код) POULIE DEMARRAG*SHEAVE-ROPE

под заказпо запросу
11420845311

Шайба с блокировкой (Lock washer)

под заказ140 руб.
12420841521

Allen Винт M8x12 (Allen screw M8x12)

под заказ160 руб.
13420899785

Loct 221 / viol / 6cm3 (Loct 221/viol/6cm3)

под заказпо запросу
13899786

(последний код) LOCTITE, SININEN 6 CM3

под заказпо запросу
14414961100

Свеча зажигания BR-9ES (Spark plug BR-9ES)

под заказ170 руб.
14414567000

(последний код) BOUGIE BR9ES *PLUG-SPARK

под заказ170 руб.
15512059518

Electronic box в сборе (Electronic box assy)

под заказ40700 руб.
16515174900

Protection Колпачок (Protection cap)

под заказ1420 руб.
17278001268

Ignition Кабели (Ignition cable)

под заказпо запросу
17420965521

(последний код) CABLE ALLUMAGE *CABLE-IGNITION

под заказпо запросу
18278000237

Свеча зажигания Коннектор (Spark plug connector)

под заказ1580 руб.
18420866708

(последний код) PROT.BOUGIE *PROT-SPARK PLU

под заказ1230 руб.
1920003

Шайба (Washer)

под заказ20 руб.
19

(последний код)

под заказпо запросу
2020052

Пружинная шайба (Spring washer)

под заказ120 руб.
20234161471

(последний код) WASHER-LOCK BLACK DIN.127B

под заказ130 руб.
2140364

Allen Винт M6x16 (Allen screw M6x16)

под заказ230 руб.
22413711500

Synthetic Смазка (Synthetic grease)

под заказпо запросу
22219700417

(последний код) GRAISE SYNTHETI*GREASE-SYNTHE.

под заказ7860 руб.
23512059494

Кронштейн (Bracket)

под заказ860 руб.
24418003000

Pending-Наклейки (Pending-label)

под заказпо запросу
2540052

Allen Винт M6x20 (Allen screw M6x20)

под заказ310 руб.
25

(последний код)

под заказпо запросу
26209561640

Винт (Screw)

под заказ230 руб.
26211000012

(последний код) SCREW-TAPP.HEX. 6.3 X 13

под заказ230 руб.
lynx

 
 

данный сайт носит информационный характер и не является публичной офертой

склад запчастей для водомоторной техники