вконтакте

Контактный телефон: +7 (981) 121-46-93, +7 (800) 200-90-76 , Email: parts-katalog@yandex.ru, где купить

 
 

  Логин:

Пароль:

Регистрация

www.partskatalog.ru Все каталоги Запчасти Mercury Запчасти Suzuki Запчасти Tohatsu Запчасти Honda Контакты



УВАЖАЕМЫЕ КЛИЕНТЫ!
C 19 ДЕКАБРЯ 2025 ПО 02 МАРТА 2026 ГОДА ОТДЕЛ ЗАПЧАСТЕЙ И СЕРВИС РАБОТАТЬ НЕ БУДУТ
ПРОДАЖА ЛОДОЧНЫХ МОТОРОВ В ШТАТНОМ РЕЖИМЕ
ОБ ИЗМЕНЕНИЯХ В ГРАФИКЕ РАБОТЫ ЧИТАЙТЕ НА САЙТА




Выбрать другую модель

назад Раздел:   вперёд

вернуться к списку узлов и деталей

ДЕТАЛИРОВКА ДЛЯ МОДЕЛИ: LYNX GLX ST 600, 2002


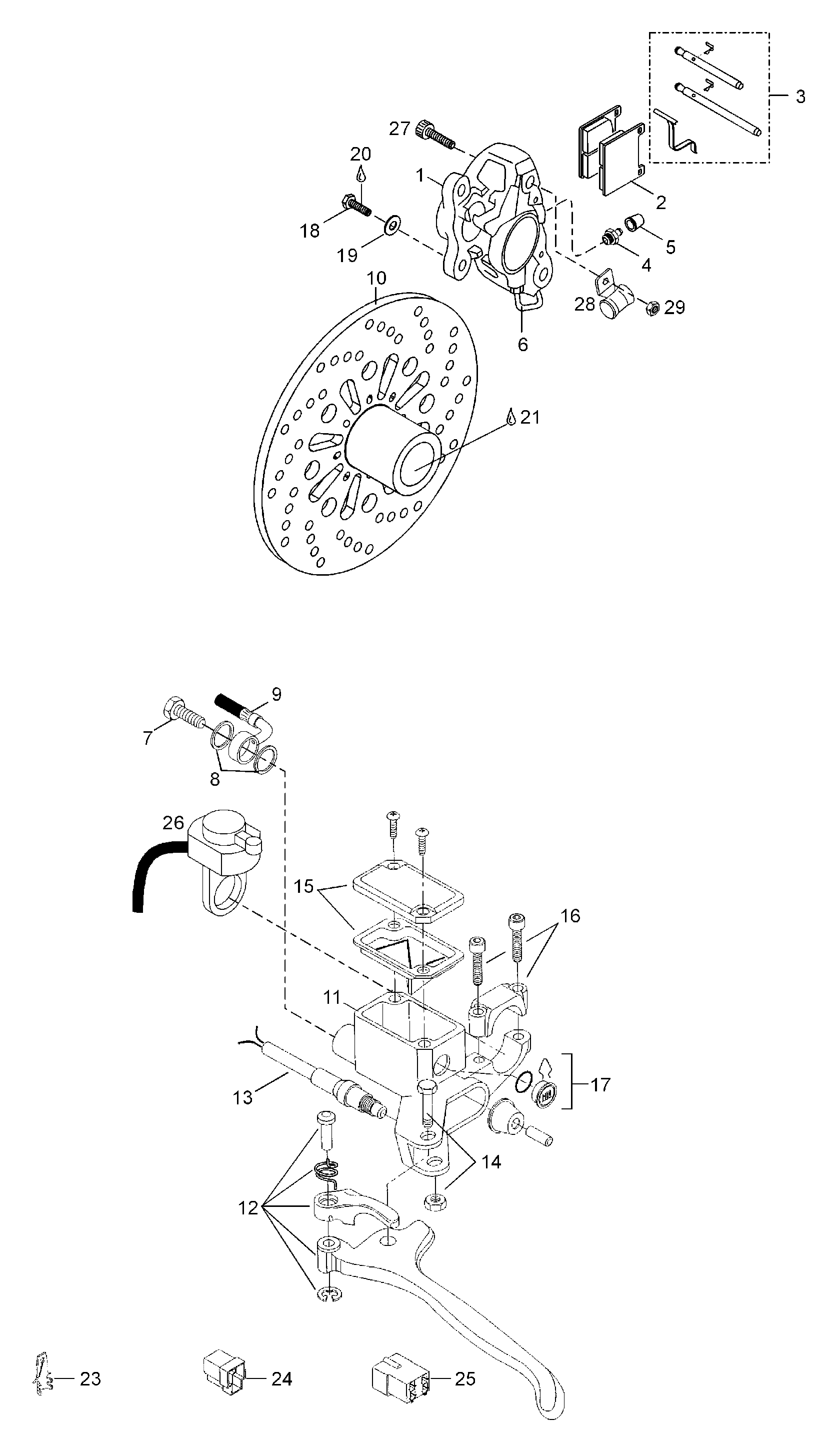
Snowmobiles Лункс  - Brake Assy - тормоз в сборе

Номер на
рисунке
АртикулНаименованиеКол-во
на складе
Цена
124041

Caliber. Includes items 1 thru 6 (Caliber. Includes items 1 thru 6)

под заказ21000 руб.
1507032412

(последний код) ETRIER *CALIPER

под заказ22900 руб.
2414990000

тормоз lining kit (Brake lining kit)

под заказ3780 руб.
2415084600

(последний код) ENS.GARNITURES *KIT-PADS BRAKE

под заказ4640 руб.
2SM-05059

     (не оригинальная запчасть) Тормозные колодки BRP SM-05059

под заказ2 440 руб.
2SM-05059F

     (не оригинальная запчасть) Тормозные колодки BRP SM-05059F

под заказ3 850 руб.
3414990700

Kit (Kit)

под заказ2920 руб.
4414989800

Винт-bleeder (Screw-bleeder)

под заказ1610 руб.
5414989700

Boot (Boot)

под заказ2340 руб.
6414989900

Трубка (Tube)

под заказ2380 руб.
7414920500

Болт (Bolt)

под заказ740 руб.
8414920600

Шайба (Washer)

под заказ290 руб.
9507032219

тормоз line (Brake line)

под заказ4290 руб.
11507032279

Master Цилиндр. Includes items 11 thru 17 (Master cylinder. Includes items 11 thru 17)

под заказпо запросу
11216141260

Винт (Screw)

под заказ290 руб.
11415078900

(последний код) VIS *SCREW

под заказ230 руб.
12507032268

Рычаг в сборе (Lever assy)

под заказ6930 руб.
12SM-08064

     (не оригинальная запчасть) Ручка тормоза BRP SM-08064

под заказ2 590 руб.
13507032334

MicroПереключатель в сборе (Microswitch assy)

под заказ3700 руб.
13507032366

(последний код) MICROSWITCH

под заказ5210 руб.
1301-280-01

     (не оригинальная запчасть) Выключатель стоп-сигнала BRP 01-280-01

под заказ1 060 руб.
14415030000

Штифт в сборе (Pin assy)

под заказ1290 руб.
14507032280

(последний код) AXE *PIN

под заказ970 руб.
15415029900

Крышка (Cover)

под заказ3000 руб.
16415029800

Струбцина в сборе (Clamp assy)

под заказ1570 руб.
16507032477

(последний код) BRIDE *CLAMP

под заказ2010 руб.
17414990600

Window (Window)

под заказ1120 руб.
1840277

Allen Винт M10x65 (Allen screw M10x65)

под заказ230 руб.
1920068

Шайба с блокировкой (Lock washer)

под заказ840 руб.
19

(последний код)

под заказпо запросу
205344710

тормоз disk в сборе (Brake disk assy)

под заказ11460 руб.
20605353250

(последний код) BRAKE DISC

под заказ12490 руб.
2140336

Винт M8x20 (Screw M8x20)

под заказ310 руб.
21

(последний код)

под заказпо запросу
22546336

Шайба (Washer)

под заказ760 руб.
22

(последний код)

под заказпо запросу
2342031

Коннектор (Connector)

под заказ80 руб.
2442122

Коннектор Корпус (Connector housing)

под заказ180 руб.
2542036

Коннектор Корпус (Connector housing)

под заказ200 руб.
26515175492

Light Переключатель Корпус as. Includes items 26 thru 31 (Light switch housing as. Includes items 26 thru 31)

под заказпо запросу
26414440800

Установочный винт (Set screw)

под заказ290 руб.
26114144408

(последний код) SCREW

под заказ220 руб.
27515175371

Light Переключатель (Light switch)

под заказ3130 руб.
27515175423

(последний код) COMMUTATEUR *SWITCH

под заказ3410 руб.
2701-120-36

     (не оригинальная запчасть) Переключатель света BRP/Polaris/Yamaha 01-120-36

под заказ2 310 руб.
28517283800

Корпус-Пластина (Housing-plate)

под заказ410 руб.
29414473200

Self tabbing Винт (Self tabbing screw)

под заказ230 руб.
29211000098

(последний код) SCREW-THREAD CUT.PH.PAN TYPE25

под заказ290 руб.
30415025500

Dimmer Переключатель Наклейка (Dimmer switch decal)

под заказ430 руб.
31572079500

Корпус-dimmer (Housing-dimmer)

под заказ1180 руб.
lynx

 
 

данный сайт носит информационный характер и не является публичной офертой

склад запчастей для водомоторной техники