вконтакте

Контактный телефон: +7 (981) 121-46-93, +7 (800) 200-90-76 , Email: parts-katalog@yandex.ru, где купить

 
 

  Логин:

Пароль:

Регистрация

www.partskatalog.ru Все каталоги Запчасти Mercury Запчасти Suzuki Запчасти Tohatsu Запчасти Honda Контакты



УВАЖАЕМЫЕ КЛИЕНТЫ!
C 31 ОКТЯБРЯ 2025 ПО 10 НОЯБРЯ 2025 ГОДА РАБОТАТЬ НЕ БУДЕМ




Выбрать другую модель

назад Раздел:   вперёд

вернуться к списку узлов и деталей

ДЕТАЛИРОВКА ДЛЯ МОДЕЛИ: LYNX GLX ST 600, 2002


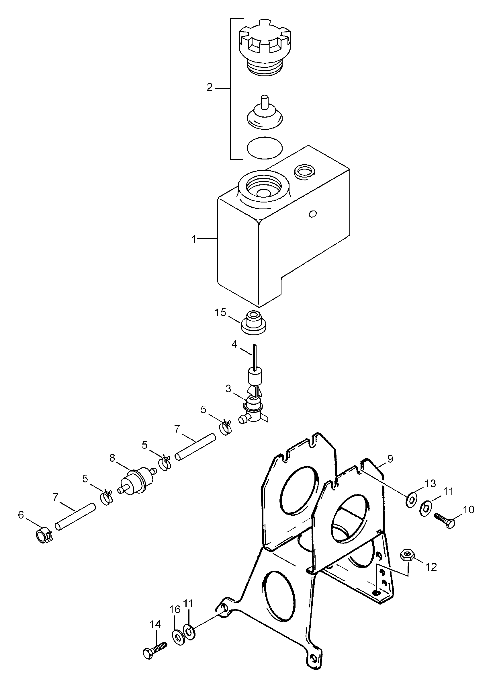
Snow mobile Лункс  - Электростартер

Номер на
рисунке
АртикулНаименованиеКол-во
на складе
Цена
1515175537

Электростартер. Includes items 1 thru 18 (Electric starter. Includes items 1 thru 18)

под заказпо запросу
1410210200

Якорь в сборе (Armature assy)

под заказ20900 руб.
2410213106

Корпус Стартер (Housing starter)

под заказ9750 руб.
3410213110

Корпус (Housing)

под заказпо запросу
4XXX

Корпус. Parts Маркировкаed with <> are Не доступно as spare parts (Housing. Parts marked with <> are not available as spare parts)

5410211200

Гайка (Nut)

под заказ250 руб.
6410213107

Щётка kit (Brush kit)

под заказ1710 руб.
7410209700

Держатель втулки (Brush holder)

под заказ950 руб.
7420866192

(последний код) BRUSH HOLDER

под заказпо запросу
8410209800

Пружина (Spring)

под заказ220 руб.
8420838200

(последний код) SPRING

под заказпо запросу
9410209900

Изолятор (Insulator)

под заказ1060 руб.
10410210100

Втулка brass (Bushing brass)

под заказ650 руб.
10420933247

(последний код) BUSHING

под заказпо запросу
11410210300

Переключатель в сборе (Switch assy)

под заказ16880 руб.
12410210400

Bendix wheel (Bendix wheel)

под заказ29600 руб.
12SM-01321

     (не оригинальная запчасть) Бендикс стартера BRP SM-01321

под заказ4 580 руб.
13410212500

Toothed Гайка (Toothed nut)

под заказ3030 руб.
13410210500

(последний код) ECROU *NUT

под заказ2370 руб.
14410212600

Стопорное кольцо (Circlip)

под заказ250 руб.
14410210600

(последний код) CIRCLIP *CIRCLIP

под заказ200 руб.
15410213109

Рычаг (Lever)

под заказпо запросу
16410210900

Втулка brass (Bushing brass)

под заказ700 руб.
16420933245

(последний код) BUSHING

под заказпо запросу
17410213112

Болт (Bolt)

под заказ320 руб.
18410211100

Гайка (Nut)

под заказ250 руб.
19AT-08541

     (не оригинальная запчасть) Пыльник шрус AT-08541

под заказ1 460 руб.
19201-409F-01B.001

     (не оригинальная запчасть) Привод для Yamaha 201-409F-01B.001

под заказ17 260 руб.
19201-410R-01L.001

     (не оригинальная запчасть) Привод для Yamaha 201-410R-01L.001

под заказ17 260 руб.
19201-423R-01B.001

     (не оригинальная запчасть) Привод для Yamaha 201-423R-01B.001

под заказ17 260 руб.
19201-410R-01R.001

     (не оригинальная запчасть) Привод для Yamaha 201-410R-01R.001

под заказ17 260 руб.
19AT-08540

     (не оригинальная запчасть) Пыльник шрус AT-08540

под заказ1 390 руб.
19010-824PK

     (не оригинальная запчасть) Поршневой к-т Yamaha 1300R (номинал) 010-824PK

под заказ12 950 руб.
196A0-24421-01

     (не оригинальная запчасть) Клапаны в топливный насос Yamaha 6A0-24421-01

под заказнет данных
19AT-01100

     (не оригинальная запчасть) Реле стартера Yamaha AT-01100

под заказ2 810 руб.
19SM-01109

     (не оригинальная запчасть) Задний фонарь Yamaha SM-01109

под заказ3 300 руб.
196H3-11181-A0

     (не оригинальная запчасть) Прокладка под головку Yamaha 6H3-11181-A0

под заказнет данных
19010-495-01K

     (не оригинальная запчасть) Ремкомплект RAVE клапана BRP 787RFI 010-495-01K

под заказ19 400 руб.
19SM-01364

     (не оригинальная запчасть) Статор BRP SM-01364

под заказ23 730 руб.
1918-3551

     (не оригинальная запчасть) Термостат Mercruiser 18-3551

под заказ1 990 руб.
19NW-40006

     (не оригинальная запчасть) Поршневой к-т Yamaha 1300R (номинал) NW-40006

под заказ10 870 руб.
19SM-07213

     (не оригинальная запчасть) Топливный насос BRP SM-07213

под заказ9 930 руб.
19SM-07214

     (не оригинальная запчасть) Топливный насос Yamaha SM-07214

под заказ6 890 руб.
19SM-03287

     (не оригинальная запчасть) Ремкомплект ведомого вариатора Arctic Cat SM-03287

под заказ3 130 руб.
19ATV-YA-804

     (не оригинальная запчасть) Привод для квадроцикла Yamaha ATV-YA-804

под заказ14 400 руб.
19ATV-YA-809

     (не оригинальная запчасть) Привод для квадроцикла Yamaha ATV-YA-809

под заказ14 400 руб.
19SC-GS090

     (не оригинальная запчасть) Прокладка под головку Yamaha SC-GS090

под заказ1 740 руб.
19ATV-YA-808

     (не оригинальная запчасть) Привод для Yamaha ATV-YA-808

под заказ14 400 руб.
19ATV-YA-803

     (не оригинальная запчасть) Привод для Yamaha ATV-YA-803

под заказ14 400 руб.
19SM-10108

     (не оригинальная запчасть) Ремкомплект помпы охлаждения Polaris SM-10108

под заказ10 800 руб.
19SM-10107

     (не оригинальная запчасть) Ремкомплект помпы охлаждения Polaris SM-10107

под заказ15 300 руб.
2033003

Гайка M8 (Nut M8)

под заказ20 руб.
2120004

Шайба (Washer)

под заказ110 руб.
21234081410

(последний код) WASHER-FLAT DIN.125A

под заказ130 руб.
2220072

Locking Шайба (Locking washer)

под заказ190 руб.
lynx

 
 

данный сайт носит информационный характер и не является публичной офертой

склад запчастей для водомоторной техники