вконтакте

Контактный телефон: +7 (981) 121-46-93, +7 (800) 200-90-76 , Email: parts-katalog@yandex.ru, где купить

 
 

  Логин:

Пароль:

Регистрация

www.partskatalog.ru Все каталоги Запчасти Mercury Запчасти Suzuki Запчасти Tohatsu Запчасти Honda Контакты



УВАЖАЕМЫЕ КЛИЕНТЫ!
C 19 ДЕКАБРЯ 2025 ПО 02 МАРТА 2026 ГОДА ОТДЕЛ ЗАПЧАСТЕЙ И СЕРВИС РАБОТАТЬ НЕ БУДУТ
ПРОДАЖА ЛОДОЧНЫХ МОТОРОВ В ШТАТНОМ РЕЖИМЕ
ОБ ИЗМЕНЕНИЯХ В ГРАФИКЕ РАБОТЫ ЧИТАЙТЕ НА САЙТА




Выбрать другую модель

назад Раздел:   вперёд

вернуться к списку узлов и деталей

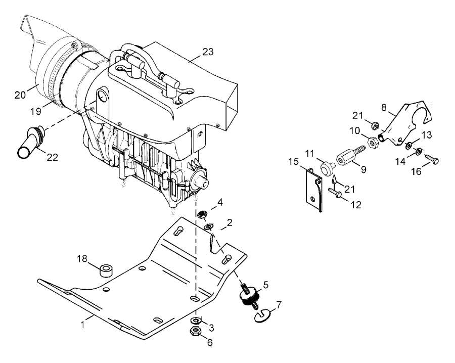
ДЕТАЛИРОВКА ДЛЯ МОДЕЛИ: LYNX 5900 ST, 2000


Snow mobile Лункс  - Fly Wheel

Номер на
рисунке
АртикулНаименованиеКол-во
на складе
Цена
1420850430

Уплотнительное кольцо (O-ring)

под заказ1000 руб.
1850430

(последний код) O-RING 75-2,5(USE 420850430)

под заказ790 руб.
2420930695

Oil-Сальник (Oil-seal)

под заказ2710 руб.
2930695

(последний код) OIL-SEAL (USE 420930695)

под заказ2150 руб.
3420810265

Якорь Пластина (Armature plate)

под заказпо запросу
4420888111

Магнето 12V / 220W. Includes items 4 thru 6 (Magneto 12V/220W. Includes items 4 thru 6)

под заказпо запросу
4420886584

Статор в сборе (Stator assy)

под заказ34300 руб.
4410922905

(последний код) PLAQUE REACTEUR*PLATE-STATOR A

под заказ37400 руб.
5420888325

Магнето Маховик (Magneto flywheel)

под заказпо запросу
6420965642

Pick выше в сборе (Pick up assy)

под заказ6160 руб.
8420941540

Allen Винт M5x20 (Allen screw M5x20)

под заказ170 руб.
8941540

(последний код) ALLEN SCREW (USE420941540)

под заказ140 руб.
9420840886

Allen Винт M6x30 (Allen screw M6x30)

под заказ290 руб.
9290840886

(последний код) VIS ALLEN *SCREW-SOCKET

под заказ230 руб.
10420827800

Шайба (Washer)

под заказ290 руб.
10290827800

(последний код) RONDELLE *WASHER

под заказ230 руб.
11420840511

Allen Винт M5x16 (Allen screw M5x16)

под заказ160 руб.
12420860965

Кабели Пыльник (Cable grommet)

под заказ980 руб.
13420852416

Starting Шкив (Starting pulley)

под заказ1420 руб.
13420852590

(последний код) PULL-STARTING

под заказ2140 руб.
14420945752

Шайба с блокировкой (Lock washer)

под заказ120 руб.
14402001600

(последний код) RONDELLE-FREIN *WASHER-LOCK#8

под заказ110 руб.
15420841520

Allen Винт M8x12 (Allen screw M8x12)

под заказ130 руб.
16420810700

Pick выше Крышка (Pick up cover)

под заказ1130 руб.
17420899785

Loctite 221 violet (Loctite 221 violet)

под заказпо запросу
17899786

(последний код) LOCTITE, SININEN 6 CM3

под заказпо запросу
18420899788

Loctite 648 зелёный (Loctite 648 green)

под заказпо запросу
18899788

(последний код) LOCTITE 648, VUHREA 5 G

под заказпо запросу
19420897330

Lithium-Основание Смазка (Lithium-base grease)

под заказпо запросу
20415085300

Amplifier-box (Amplifier-box)

под заказпо запросу
21415085400

Катушка зажигания (Ignition coil)

под заказ7930 руб.
22278000237

Свеча зажигания Защита (Spark plug protector)

под заказ1580 руб.
22420866708

(последний код) PROT.BOUGIE *PROT-SPARK PLU

под заказ1230 руб.
23414961100

Свеча зажигания BR9ES (Spark plug BR9ES)

под заказ170 руб.
23414567000

(последний код) BOUGIE BR9ES *PLUG-SPARK

под заказ170 руб.
24420965033

Свеча зажигания Кабели (Spark plug cable)

под заказ1010 руб.
24278002198

(последний код) FIL BOUGIE *WIRE-SPARK PLUG

под заказ1290 руб.
2540030

Винт M6x20 (Screw M6x20)

под заказ60 руб.
2540075

(последний код) VIS *SCREW

под заказ50 руб.
2620052

Шайба с блокировкой (Lock washer)

под заказ120 руб.
26234161471

(последний код) WASHER-LOCK BLACK DIN.127B

под заказ130 руб.
2740115

Винт M6x12 (Screw M6x12)

под заказ30 руб.
27061010

(последний код) SCREW-HEX. M6X10 DIN 933 M8.8 ZNE

под заказ20 руб.
lynx

 
 

данный сайт носит информационный характер и не является публичной офертой

склад запчастей для водомоторной техники