вконтакте

Контактный телефон: +7 (981) 121-46-93, +7 (800) 200-90-76 , Email: parts-katalog@yandex.ru, где купить

 
 

  Логин:

Пароль:

Регистрация

www.partskatalog.ru Все каталоги Запчасти Mercury Запчасти Suzuki Запчасти Tohatsu Запчасти Honda Контакты



УВАЖАЕМЫЕ КЛИЕНТЫ!
C 19 ДЕКАБРЯ 2025 ПО 02 МАРТА 2026 ГОДА ОТДЕЛ ЗАПЧАСТЕЙ И СЕРВИС РАБОТАТЬ НЕ БУДУТ
ПРОДАЖА ЛОДОЧНЫХ МОТОРОВ В ШТАТНОМ РЕЖИМЕ
ОБ ИЗМЕНЕНИЯХ В ГРАФИКЕ РАБОТЫ ЧИТАЙТЕ НА САЙТА




Выбрать другую модель

назад Раздел:   вперёд

вернуться к списку узлов и деталей

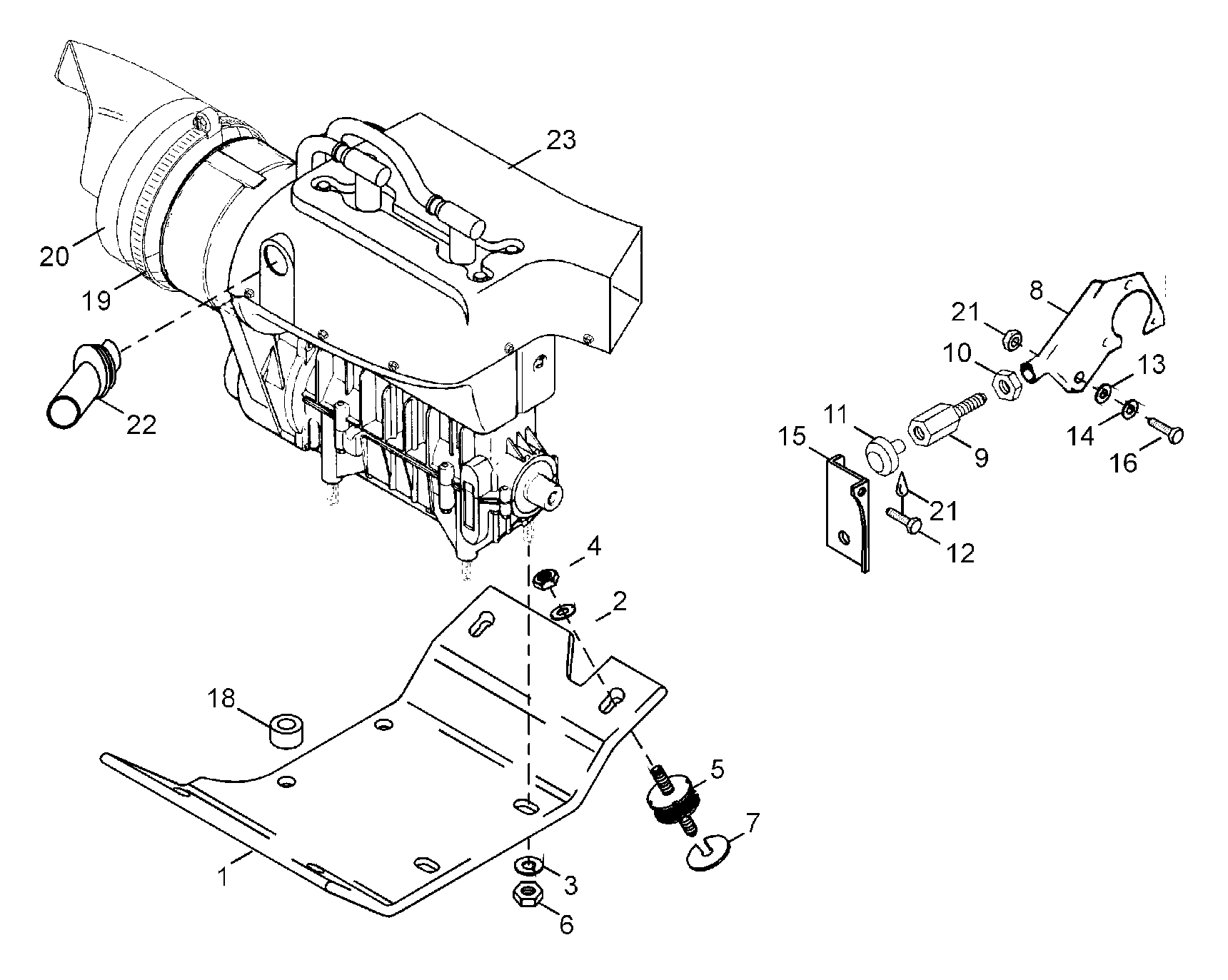
ДЕТАЛИРОВКА ДЛЯ МОДЕЛИ: LYNX Sport XR, 1999


Snowmobiles Лункс  - Engine Mount Plate,Двигатель Крепление Пластина

Номер на
рисунке
АртикулНаименованиеКол-во
на складе
Цена
15342858

Двигатель sвышеport (Engine support)

под заказпо запросу
2512056700

Шайба (Washer)

под заказ550 руб.
2517168000

(последний код) RONDELLE-FREIN *WASHER-LOCK

под заказ430 руб.
320047

Пружинная шайба (Spring washer)

под заказ150 руб.
3

(последний код)

под заказпо запросу
433012

Гайка elastic M10 (Nut elastic M10)

под заказ40 руб.
4

(последний код)

под заказпо запросу
5570127700

Крепёжная резинка (Mount rubber)

под заказ2440 руб.
5570128700

(последний код) TAMPON ANCRAGE *MOUNT-RUBBER

под заказ4070 руб.
509-217

     (не оригинальная запчасть) Опора (подушка) двигателя BRP 09-217

под заказ760 руб.
633004

Гайка M10 (Nut M10)

под заказ20 руб.
6232006414

(последний код) NUT-HEXAGONAL DIN.934

под заказ290 руб.
7546221

Шайба (Washer)

под заказ360 руб.
85341161

Двигатель sвышеport weld. (Engine support weld.)

под заказпо запросу
9517244200

Винт (Screw)

под заказ1630 руб.
917076

(последний код) SCREW 517244200

под заказ1490 руб.
1033063

Гайка M12 (Nut M12)

под заказ40 руб.
11570025100

Тяга Фиксатор (Rod retainer)

под заказ920 руб.
1240035

Винт M8x16 (Screw M8x16)

под заказ60 руб.
12

(последний код)

под заказпо запросу
1320009

Шайба (Washer)

под заказпо запросу
13542376

(последний код) WASHER

под заказпо запросу
1420052

Шайба с блокировкой (Lock washer)

под заказ120 руб.
14234161471

(последний код) WASHER-LOCK BLACK DIN.127B

под заказ130 руб.
155344446

Стопор Пластина (Stopper plate)

под заказ860 руб.
15

(последний код)

под заказпо запросу
1640029

Винт M6x16 (Screw M6x16)

под заказ30 руб.
18548491

Проставка (Spacer)

под заказ790 руб.
19408803600

Струбцинаing Кольцо (Clamping ring)

под заказпо запросу
20572058400

Air deflector (Air deflector)

под заказ940 руб.
21413703000

Loctite 242, 10cc (Loctite 242, 10cc)

под заказ1680 руб.
21293800060

(последний код) LOCTITE 243 *LOCTITE-243

под заказ2150 руб.
22AT-08541

     (не оригинальная запчасть) Пыльник шрус AT-08541

под заказ1 460 руб.
22201-409F-01B.001

     (не оригинальная запчасть) Привод для Yamaha 201-409F-01B.001

под заказ17 260 руб.
22201-410R-01L.001

     (не оригинальная запчасть) Привод для Yamaha 201-410R-01L.001

под заказ17 260 руб.
22201-423R-01B.001

     (не оригинальная запчасть) Привод для Yamaha 201-423R-01B.001

под заказ17 260 руб.
22201-410R-01R.001

     (не оригинальная запчасть) Привод для Yamaha 201-410R-01R.001

под заказ17 260 руб.
22AT-08540

     (не оригинальная запчасть) Пыльник шрус AT-08540

под заказ1 390 руб.
22010-824PK

     (не оригинальная запчасть) Поршневой к-т Yamaha 1300R (номинал) 010-824PK

под заказ12 950 руб.
226A0-24421-01

     (не оригинальная запчасть) Клапаны в топливный насос Yamaha 6A0-24421-01

под заказнет данных
22AT-01100

     (не оригинальная запчасть) Реле стартера Yamaha AT-01100

под заказ2 810 руб.
22SM-01109

     (не оригинальная запчасть) Задний фонарь Yamaha SM-01109

под заказ3 300 руб.
226H3-11181-A0

     (не оригинальная запчасть) Прокладка под головку Yamaha 6H3-11181-A0

под заказнет данных
22010-495-01K

     (не оригинальная запчасть) Ремкомплект RAVE клапана BRP 787RFI 010-495-01K

под заказ19 400 руб.
22SM-01364

     (не оригинальная запчасть) Статор BRP SM-01364

под заказ23 730 руб.
2218-3551

     (не оригинальная запчасть) Термостат Mercruiser 18-3551

под заказ1 990 руб.
22NW-40006

     (не оригинальная запчасть) Поршневой к-т Yamaha 1300R (номинал) NW-40006

под заказ10 870 руб.
22SM-07213

     (не оригинальная запчасть) Топливный насос BRP SM-07213

под заказ9 930 руб.
22SM-07214

     (не оригинальная запчасть) Топливный насос Yamaha SM-07214

под заказ6 890 руб.
22SM-03287

     (не оригинальная запчасть) Ремкомплект ведомого вариатора Arctic Cat SM-03287

под заказ3 130 руб.
22ATV-YA-804

     (не оригинальная запчасть) Привод для квадроцикла Yamaha ATV-YA-804

под заказ14 400 руб.
22ATV-YA-809

     (не оригинальная запчасть) Привод для квадроцикла Yamaha ATV-YA-809

под заказ14 400 руб.
22SC-GS090

     (не оригинальная запчасть) Прокладка под головку Yamaha SC-GS090

под заказ1 740 руб.
22ATV-YA-808

     (не оригинальная запчасть) Привод для Yamaha ATV-YA-808

под заказ14 400 руб.
22ATV-YA-803

     (не оригинальная запчасть) Привод для Yamaha ATV-YA-803

под заказ14 400 руб.
22SM-10108

     (не оригинальная запчасть) Ремкомплект помпы охлаждения Polaris SM-10108

под заказ10 800 руб.
22SM-10107

     (не оригинальная запчасть) Ремкомплект помпы охлаждения Polaris SM-10107

под заказ15 300 руб.
2311000039

Двигатель 377 (Engine 377)

под заказпо запросу
23300037703

(последний код) Short block engine

под заказпо запросу
lynx

 
 

данный сайт носит информационный характер и не является публичной офертой

склад запчастей для водомоторной техники