вконтакте

Контактный телефон: +7 (981) 121-46-93, +7 (800) 200-90-76 , Email: parts-katalog@yandex.ru, где купить

 
 

  Логин:

Пароль:

Регистрация

www.partskatalog.ru Все каталоги Запчасти Mercury Запчасти Suzuki Запчасти Tohatsu Запчасти Honda Контакты



УВАЖАЕМЫЕ КЛИЕНТЫ!
C 19 ДЕКАБРЯ 2025 ПО 02 МАРТА 2026 ГОДА ОТДЕЛ ЗАПЧАСТЕЙ И СЕРВИС РАБОТАТЬ НЕ БУДУТ
ПРОДАЖА ЛОДОЧНЫХ МОТОРОВ В ШТАТНОМ РЕЖИМЕ
ОБ ИЗМЕНЕНИЯХ В ГРАФИКЕ РАБОТЫ ЧИТАЙТЕ НА САЙТА




Выбрать другую модель

назад Раздел:   вперёд

вернуться к списку узлов и деталей

ДЕТАЛИРОВКА ДЛЯ МОДЕЛИ: SKIDOO Expedition LE 600HOETEC XU, 2012

Раздел: Utilities | Utilities


снегоход  Expedition LE 600HOETEC XU, 2012 раздел - Utilities

Номер на
рисунке
АртикулНаименованиеКол-во
на складе
Цена
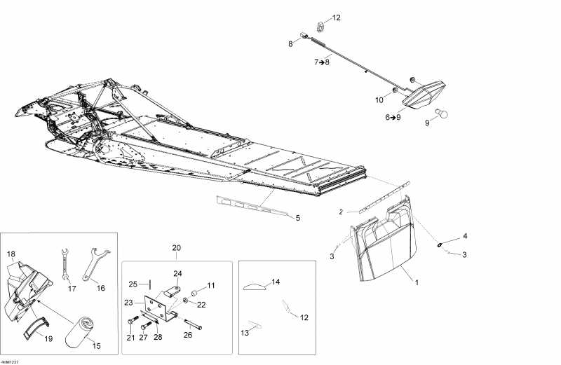
1 520001000

Snow Guard SKI-DOO 500, чёрный (Snow Guard SKI-DOO 500, Black)

под заказ6660 руб.
1 520001406

SNOW GUARD SKI-DOO 500 LONG BLACK

под заказ8910 руб.
2 520001021

Пластина (Plate)

под заказ2570 руб.
3 732600030

Винт (Screw)

под заказпо запросу
4 250200025

Шайба M5 (Washer M5)

под заказ284 руб.
4 SM-06020

     (не оригинальная запчасть) Крепеж для стекла BRP SM-06020

под заказ890 руб.
5 520000693

RH Защита (RH Protector)

под заказ3930 руб.
5 520000694

LH Защита (LH Protector)

под заказ3930 руб.
6 520000587

Rear Light (Rear Light)

под заказ7280 руб.
6 SM-01500

     (не оригинальная запчасть) Задний фонарь BRP SM-01500

под заказ4 820 руб.
7 520000849

Rear WiКольцо Жгут проводов (Rear Wiring Harness)

под заказ3570 руб.
8 515175494

Male Корпус, 3 Circuits (Male Housing, 3 Circuits)

под заказ1580 руб.
9 520000758

Лампочка (Bulb)

под заказ253 руб.
9 738052000

AMPOULE FEU ARR*BULB-TAIL LAMP

под заказ1010 руб.
10705003666

Rubber Пыльник (Rubber Grommet)

под заказ572 руб.
1128056

Крышка (Cover)

под заказ43 руб.
12520000843

RH Reflector (RH Reflector)

под заказ1450 руб.
13520000844

LH Reflector (LH Reflector)

под заказ1450 руб.
14705003412

красный Reflector (Red Reflector)

под заказ1290 руб.
15529000054

Набор инструмента (Tool Kit)

под заказ3260 руб.
15529000065

TOOL KIT

под заказ4780 руб.
16529035582

Adjustment Гаечный ключ (Adjustment Wrench)

под заказ1330 руб.
17XXX

Гаечный ключ (Wrench)

18520000720

Набор инструмента Rack (Tool Kit Rack)

под заказ1340 руб.
19520000528

Latch (Latch)

под заказ715 руб.
205344152

Tongue в сборе (Tongue Assy)

под заказ3040 руб.
21207782544

Carriage Болт, M8 X 25 (Carriage Bolt, M8 X 25)

под заказ284 руб.
2140855

LOCK SCREW M8X25 DIN603 8.8 ZN

под заказ230 руб.
22233281414

Hex. Фланецd Elastic Гайка M8 (Hex. Flanged Elastic Nut M8)

под заказ284 руб.
23M5344151

Пластина (Plate)

под заказпо запросу
24M548745

Hitch Пластина (Hitch Plate)

под заказпо запросу
25M41031

Штифт (Pin)

под заказпо запросу
26XXX

Стопор пружины (Spring Pin)

27207784044

Болт Carriage M8 X 40 (Bolt Carriage M8 X 40)

под заказ284 руб.
28520000727

Пластина (Plate)

под заказ2500 руб.
ski-doo

Время выполнения запроса 1.8281388282776 сек.


 
 

данный сайт носит информационный характер и не является публичной офертой

склад запчастей для водомоторной техники