вконтакте

Контактный телефон: +7 (981) 121-46-93, +7 (800) 200-90-76 , Email: parts-katalog@yandex.ru, где купить

 
 

  Логин:

Пароль:

Регистрация

www.partskatalog.ru Все каталоги Запчасти Mercury Запчасти Suzuki Запчасти Tohatsu Запчасти Honda Контакты



УВАЖАЕМЫЕ КЛИЕНТЫ!
C 31 ОКТЯБРЯ 2025 ПО 10 НОЯБРЯ 2025 ГОДА РАБОТАТЬ НЕ БУДЕМ




Выбрать другую модель

назад Раздел:   вперёд

вернуться к списку узлов и деталей

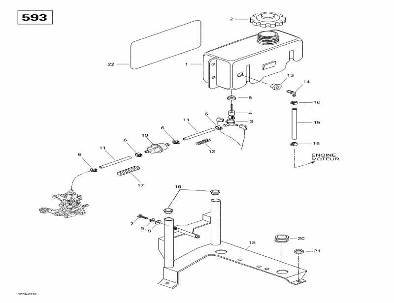
ДЕТАЛИРОВКА ДЛЯ МОДЕЛИ: SKIDOO Skandic 600, 2003

Раздел: Масляный бак и Sвышеport (593) | Oil Tank And Support (593)


snowmobile Skidoo модель Skandic 600, 2003 - Масляный бак и Sвышеport (593)

Номер на
рисунке
АртикулНаименованиеКол-во
на складе
Цена
1 M5146370

Масляный бак. Skandic 600. (Oil Tank. Skandic 600.)

под заказпо запросу
2 519000044

Масляный бак Колпачок. Skandic 600. (Oil Tank Cap. Skandic 600.)

под заказ3350 руб.
2 572071000

BOUCHON *CAP

под заказ1930 руб.
2 07-288-01

     (не оригинальная запчасть) Крышка топливного/масляного бака BRP 07-288-01

под заказ660 руб.
3 414681800

Oil Level Датчик. Skandic 600. (Oil Level Sensor. Skandic 600.)

под заказпо запросу
3 216818

OIL LEVEL SENSOR 414681800 BBD

под заказпо запросу
4 414681900

Поплавок. Skandic 600. (Float. Skandic 600.)

под заказпо запросу
4 2196819

KOHO SENSORILLE(USE 414681900)

под заказпо запросу
5 570023000

Insulated Кольцо. Skandic 600. (Insulated Ring. Skandic 600.)

под заказ572 руб.
5 2890230

GROMMET (USE 570023000)

под заказ450 руб.
5 SM-07403

     (не оригинальная запчасть) Уплотнительная втулка масляного бачка BRP SM-07403

под заказ140 руб.
6 414420700

Universal Пружина Струбцина. Skandic 600. (Universal Spring Clamp. Skandic 600.)

под заказ138 руб.
6 27414420700

SPRING CLIP 414420700

под заказ110 руб.
7 M40322

Винт. Skandic 600. (Screw. Skandic 600.)

под заказпо запросу
8 M20009

Шайба. Skandic 600. (Washer. Skandic 600.)

под заказпо запросу
9 234161471

Шайба с блокировкой 6 mm. Skandic 600. (Lock Washer 6 mm. Skandic 600.)

под заказ130 руб.
9 224761110

WASHER-LOCK THIN BLACK DIN.127

под заказ110 руб.
10414536500

Фильтр. Skandic 600. (Filter. Skandic 600.)

под заказ308 руб.
1007-246-05

     (не оригинальная запчасть) Фильтр масляный универсальный 07-246-05

под заказ370 руб.
1007-246-06

     (не оригинальная запчасть) Фильтр масляный BRP 07-246-06

под заказ470 руб.
1007-246-08

     (не оригинальная запчасть) Масляный фильтр 07-246-08

под заказ470 руб.
11415080700

Oil Line. Skandic 600. (Oil Line. Skandic 600.)

под заказ1150 руб.
11519000230

BOYAU *HOSE

под заказ900 руб.
12M250001

Пружина. Skandic 600. (Spring. Skandic 600.)

под заказпо запросу
13570135100

Пыльник. Skandic 600. (Grommet. Skandic 600.)

под заказ559 руб.
13709200285

PASSE-FILS *GROMMET

под заказ720 руб.
14414580700

Elbow Male Коннектор. Skandic 600. (Elbow Male Connector. Skandic 600.)

под заказ428 руб.
14414388900

RACCORD MALE *CONNECTOR-MALE

под заказ340 руб.
15M39004

Шланг. Skandic 600. (Hose. Skandic 600.)

под заказпо запросу
16414554800

Universal Пружина Струбцина. Skandic 600. (Universal Spring Clamp. Skandic 600.)

под заказ138 руб.
16414278600

BRIDE A RESSORT*CLAMP-SPRING

под заказ110 руб.
17M28015

Корпус. Skandic 600. (Housing. Skandic 600.)

под заказ1120 руб.
18M5246593

Sвышеport. Skandic 600. (Support. Skandic 600.)

под заказпо запросу
19M28136

Заглушка. Skandic 600. (Plug. Skandic 600.)

под заказ234 руб.
20M5446766

Пыльник. Skandic 600. (Grommet. Skandic 600.)

под заказпо запросу
21M33200

Гайка M6. Skandic 600. (Nut M6. Skandic 600.)

под заказпо запросу
22M5443578

Reflecting Sheet. Skandic 600. (Reflecting Sheet. Skandic 600.)

под заказпо запросу
ski-doo

Время выполнения запроса 1.5951309204102 сек.


 
 

данный сайт носит информационный характер и не является публичной офертой

склад запчастей для водомоторной техники