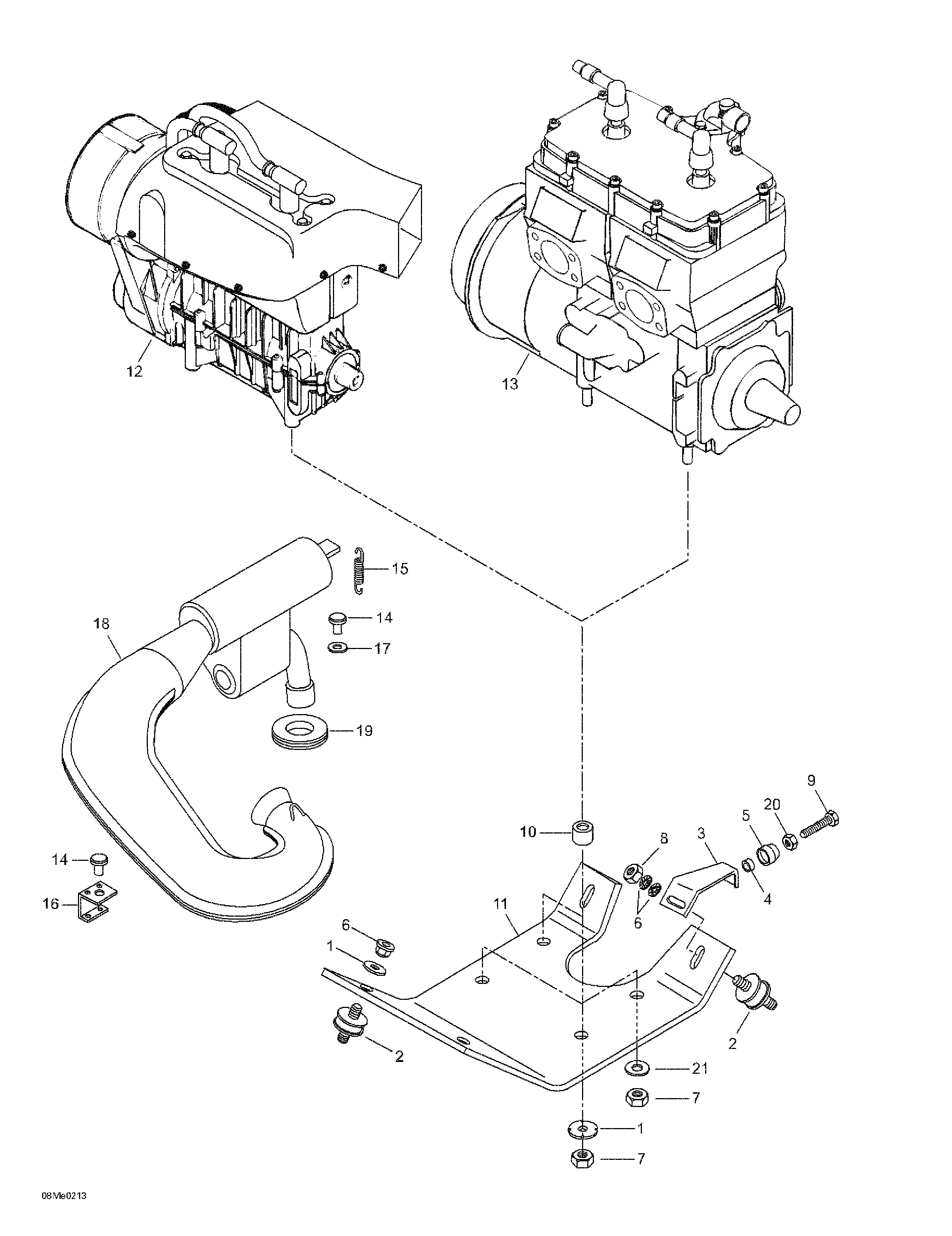
Номер на   рисунке | Артикул | Наименование | Кол-во   на складе | Цена | 
|  1  | 512056700 | Шайба с блокировкой (Lock Washer)  | под заказ | 548 руб. | 
|  1  | 517168000 | RONDELLE-FREIN *WASHER-LOCK                                                       | под заказ | 430 руб. | 
|  2  | 570127700 | Монтажная резинка (Rubber Mount)  | под заказ | 2440 руб. | 
|  2  | 570128700 | TAMPON ANCRAGE *MOUNT-RUBBER                                                      | под заказ | 4070 руб. | 
|  2  | 09-217 |      (не оригинальная запчасть) Опора (подушка) двигателя BRP 09-217  | под заказ | 760 руб. | 
|  3  | M539902 | Sвышеport (Support)  | под заказ | по запросу | 
|  4  | M2846014 | Rubber Шайба (Rubber Washer)  | под заказ | по запросу | 
|  5  | M5440091 | Гильза (Sleeve)  | под заказ | по запросу | 
|  6  | M20068 | Шайба (Washer)  | под заказ | по запросу | 
|  7  | 233601416 | Эластичная гайка со стопором M10 (Elastic Stop Nut M10)  | под заказ | 284 руб. | 
|  7  | 228501045 | NUT-LOCKING ELASTIC DIN.982                                                       | под заказ | по запросу | 
|  8  | 232006414 | Гайка M10 (Nut M10)  | под заказ | 284 руб. | 
|  8  | 420242091 | NUT-HEX.M10                                                                       | под заказ | 230 руб. | 
|  9  | M40121 | Шестигранный винт M8 x 25 (Hex. Screw M8 x 25)  | под заказ | по запросу | 
|  10 | M5440678 | Гильза. Skandic 500F. Skandic 500F (SWT) (Sleeve. Skandic 500F. Skandic 500F (SWT).)  | под заказ | 1030 руб. | 
|   | M5446347 | Гильза. Skandic 600. (Sleeve. Skandic 600.)  | под заказ | 853 руб. | 
|  11 | M5342951 | Двигатель Sвышеport. Skandic 500F. Skandic 500F (SWT) (Engine Support. Skandic 500F. Skandic 500F (SWT).)  | под заказ | 10420 руб. | 
|   | M5346175 | Двигатель Sвышеport. Skandic 600. (Engine Support. Skandic 600.)  | под заказ | по запросу | 
|  12 | XXX | <<503>> Двигатель. Skandic 500F. Skandic 500F (SWT) (<<503>> Engine. Skandic 500F. Skandic 500F (SWT).)  | 
|  13 | 400509733 | <<593>> Двигатель. Skandic 600. (<<593>> Engine. Skandic 600.)  | под заказ | по запросу | 
|  14 | 570048700 | Rubber Бампер (Rubber Bumper)  | под заказ | 898 руб. | 
|  14 | 514053654 | BUTOIR CAOUT.  *BUMPER RUBBER                                                     | под заказ | 1150 руб. | 
|  15 | 420938795 | Пружина (Spring)  | под заказ | 601 руб. | 
|  15 | 02-106-02 |      (не оригинальная запчасть) Пружина крепления глушителя BRP 02-106-02  | под заказ | 90 руб. | 
|  16 | M5444483 | Sвышеport. Skandic 500F. Skandic 500F (SWT) (Support. Skandic 500F. Skandic 500F (SWT).)  | под заказ | по запросу | 
|   | M5442681 | Sвышеport. Skandic 600. (Support. Skandic 600.)  | под заказ | по запросу | 
|  17 | M20087 | Шайба (Washer)  | под заказ | по запросу | 
|  18 | 420979853 | Tuned Трубка. Skandic 500F. Skandic 500F (SWT) (Tuned Pipe. Skandic 500F. Skandic 500F (SWT).)  | под заказ | 48600 руб. | 
|  18 | 605150131 | TUYAU ECHAPP.AS*PIPE-TUNED AS                                                     | под заказ | 53000 руб. | 
|   | 420979856 | Tuned Трубка. Skandic 600. (Tuned Pipe. Skandic 600.)  | под заказ | 46500 руб. | 
|   | 5142543 | TUYAU ECHAPP.AS*PIPE-TUNED AS                                                     | под заказ | 36400 руб. | 
|  19 | 570039000 | Выхлоп Шайба (Exhaust Washer)  | под заказ | 1570 руб. | 
|  19 | 570035600 | RONDELLE ECHAPP*GROMMET-EXHAUS                                                    | под заказ | 1220 руб. | 
|  20 | M33003 | Гайка (Nut)  | под заказ | по запросу | 
|  21 | M20105 | плоский Шайба (Flat Washer)  | под заказ | по запросу |