вконтакте

Контактный телефон: +7 (981) 121-46-93, +7 (800) 200-90-76 , Email: parts-katalog@yandex.ru, где купить

 
 

  Логин:

Пароль:

Регистрация

www.partskatalog.ru Все каталоги Запчасти Mercury Запчасти Suzuki Запчасти Tohatsu Запчасти Honda Контакты



УВАЖАЕМЫЕ КЛИЕНТЫ!
C 19 ДЕКАБРЯ 2025 ПО 02 МАРТА 2026 ГОДА ОТДЕЛ ЗАПЧАСТЕЙ И СЕРВИС РАБОТАТЬ НЕ БУДУТ
ПРОДАЖА ЛОДОЧНЫХ МОТОРОВ В ШТАТНОМ РЕЖИМЕ
ОБ ИЗМЕНЕНИЯХ В ГРАФИКЕ РАБОТЫ ЧИТАЙТЕ НА САЙТА




Выбрать другую модель

назад Раздел:   вперёд

вернуться к списку узлов и деталей

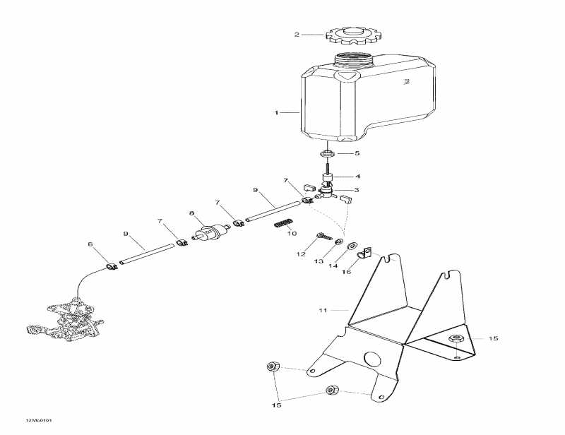
ДЕТАЛИРОВКА ДЛЯ МОДЕЛИ: SKIDOO Skandic 440F, 2001

Раздел: Масляный бак и Sвышеport | Oil Tank And Support


снегоход - Масляный бак и Sвышеport

Номер на
рисунке
АртикулНаименованиеКол-во
на складе
Цена
1 572106700

Масляный бак (Oil Tank)

под заказпо запросу
1 572091600

RESERVOIR HUILE*TANK-OIL

под заказпо запросу
2 572071000

Масляный бак Колпачок (Oil Tank Cap)

под заказ1930 руб.
2 519000044

BOUCHON *CAP

под заказ3350 руб.
2 07-288-01

     (не оригинальная запчасть) Крышка топливного/масляного бака BRP 07-288-01

под заказ660 руб.
3 414681800

Oil Level Датчик (Oil Level Sensor)

под заказпо запросу
3 216818

OIL LEVEL SENSOR 414681800 BBD

под заказпо запросу
4 414681900

Поплавок (Float)

под заказпо запросу
4 2196819

KOHO SENSORILLE(USE 414681900)

под заказпо запросу
5 570023000

Пыльник (Grommet)

под заказ572 руб.
5 2890230

GROMMET (USE 570023000)

под заказ450 руб.
5 SM-07403

     (не оригинальная запчасть) Уплотнительная втулка масляного бачка BRP SM-07403

под заказ140 руб.
6 414420700

Пружина Зажим (Spring Clip)

под заказ138 руб.
6 27414420700

SPRING CLIP 414420700

под заказ110 руб.
7 M27119F

Пружина Зажим (Spring Clip)

под заказпо запросу
8 414536500

Фильтр (Filter)

под заказ308 руб.
8 07-246-05

     (не оригинальная запчасть) Фильтр масляный универсальный 07-246-05

под заказ370 руб.
8 07-246-06

     (не оригинальная запчасть) Фильтр масляный BRP 07-246-06

под заказ470 руб.
8 07-246-08

     (не оригинальная запчасть) Масляный фильтр 07-246-08

под заказ470 руб.
9 415080700

Oil Line (Oil Line)

под заказ1150 руб.
9 519000230

BOYAU *HOSE

под заказ900 руб.
10M250003

Пружина (Spring)

под заказпо запросу
11M5246036

Oil Резервуар Sвышеport (Oil Reservoir Support)

под заказпо запросу
12207161044

Шестигранный винт M6 x 10 (Hex. Screw M6 x 10)

под заказ130 руб.
12420240771

SCREW-HEX.M6 X 10

под заказпо запросу
13234161471

Шайба с блокировкой 6 mm (Lock Washer 6 mm)

под заказ130 руб.
13224761110

WASHER-LOCK THIN BLACK DIN.127

под заказ110 руб.
14M20009

Шайба (Washer)

под заказпо запросу
15M33200

Гайка M6 (Nut M6)

под заказпо запросу
16M27039

Струбцина (Clamp)

под заказ393 руб.
ski-doo

Время выполнения запроса 1.9670779705048 сек.


 
 

данный сайт носит информационный характер и не является публичной офертой

склад запчастей для водомоторной техники