вконтакте

Контактный телефон: +7 (981) 121-46-93, +7 (800) 200-90-76 , Email: parts-katalog@yandex.ru, где купить

 
 

  Логин:

Пароль:

Регистрация

www.partskatalog.ru Все каталоги Запчасти Mercury Запчасти Suzuki Запчасти Tohatsu Запчасти Honda Контакты



УВАЖАЕМЫЕ КЛИЕНТЫ!
C 19 ДЕКАБРЯ 2025 ПО 02 МАРТА 2026 ГОДА ОТДЕЛ ЗАПЧАСТЕЙ И СЕРВИС РАБОТАТЬ НЕ БУДУТ
ПРОДАЖА ЛОДОЧНЫХ МОТОРОВ В ШТАТНОМ РЕЖИМЕ
ОБ ИЗМЕНЕНИЯХ В ГРАФИКЕ РАБОТЫ ЧИТАЙТЕ НА САЙТА




Выбрать другую модель

назад Раздел:   вперёд

вернуться к списку узлов и деталей

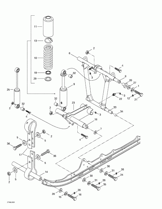
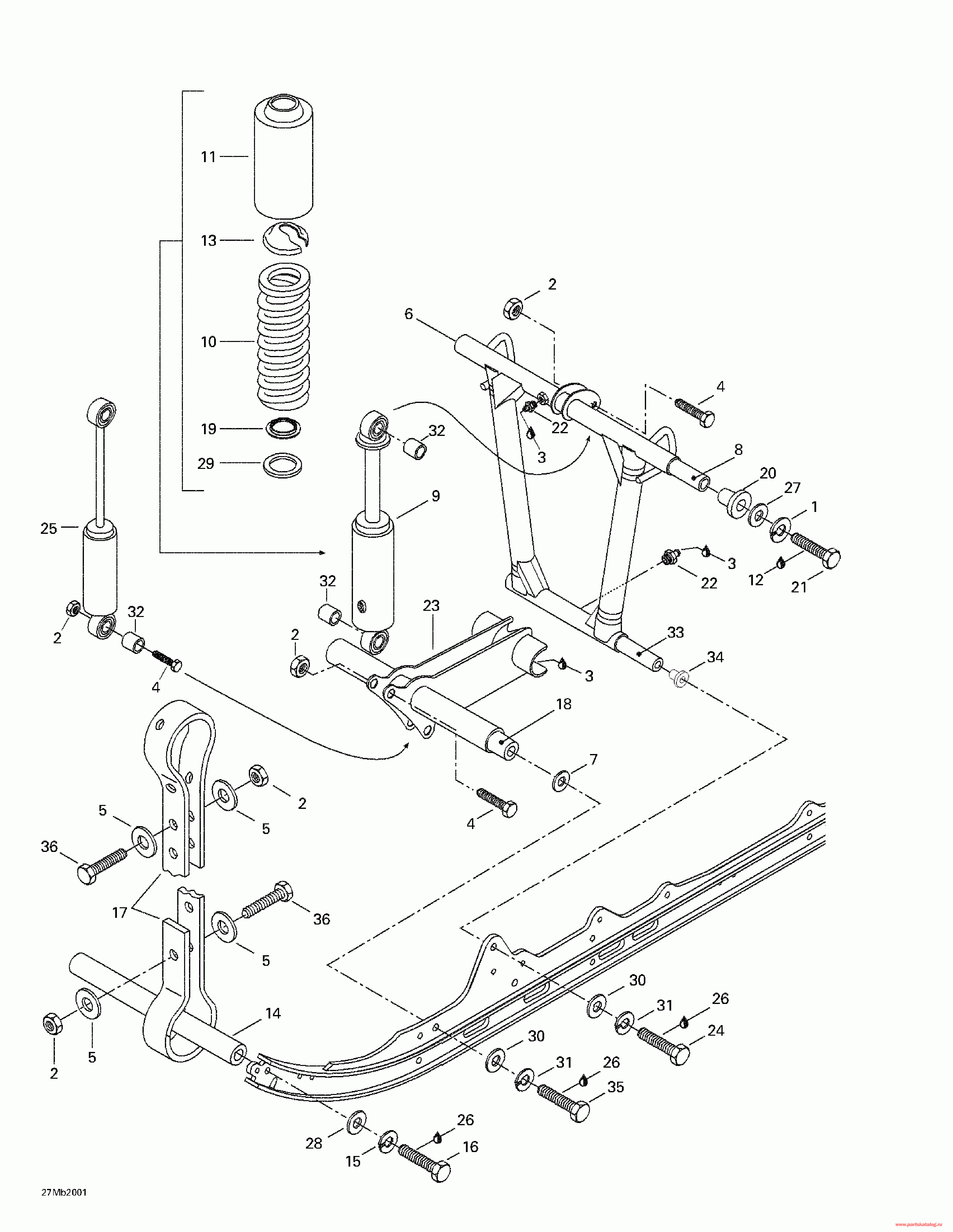
ДЕТАЛИРОВКА ДЛЯ МОДЕЛИ: SKIDOO Formula Deluxe 380/500, 2000

Раздел: Front Рычаг | Front Arm


snowmobile  Formula Deluxe 380/500, 2000 раздел - Front Arm

Номер на
рисунке
АртикулНаименованиеКол-во
на складе
Цена
1 234101601

Шайба с блокировкой 10 mm (Lock Washer 10 mm)

под заказ263 руб.
1 420845383

RONDELLE *WASHER LOCK

под заказ210 руб.
2 232581414

Эластичная гайка со стопором M8 (Elastic Stop Nut M8)

под заказ136 руб.
2 420942030

NUT-LOCK M8

под заказ110 руб.
3 219700417

Synthetic Смазка, 400g (Synthetic Grease, 400g)

под заказ7860 руб.
3 293550033

SYNTHETIC GREASE 10X14OZ (1шт=1кор=10 туб)

под заказ10050 руб.
4 207084044

Шестигранный винт M8 x 40 (Hex. Screw M8 x 40)

под заказ284 руб.
4 420940615

SCREW-HEX.M8 X 40

под заказ230 руб.
5 517078700

Шайба (Washer)

под заказ428 руб.
6 503189311

Welded Front Рычаг (Welded Front Arm)

под заказпо запросу
7 503175400

Hard Шайба (Hard Washer)

под заказ231 руб.
8 503188938

верхний Axle (Upper Axle)

под заказ1730 руб.
8 503190387

SHAFT

под заказ3000 руб.
9 503189174

Shock. дляmula S. (Shock. Formula S.)

под заказпо запросу
503189331

Shock. дляmula DLX 380. (Shock. Formula DLX 380.)

под заказ7940 руб.
10415069900

Пружина (Spring)

под заказпо запросу
11503188930

Защита дляmula S. (Protector. Formula S.)

под заказ1170 руб.
11572047600

PROTECTEUR *PROTECTOR

под заказ1080 руб.
12293800060

Loctite 243, 10ml (Loctite 243, 10ml)

под заказ2150 руб.
12420897651

LOCTITE-243

под заказпо запросу
13503140600

Пружина Стопор (Spring Stopper)

под заказ672 руб.
13706200881

BUTEE RESSORT *SPRING STOPPER

под заказ860 руб.
14503151600

Axle (Axle)

под заказ1120 руб.
15234181401

Шайба с блокировкой 8 mm (Lock Washer 8 mm)

под заказ138 руб.
15224781140

WASHER-LOCK DIN.127A

под заказ110 руб.
16207183044

Шестигранный винт M8 x 30 (Hex. Screw M8 x 30)

под заказ284 руб.
16732601083

SCREW-HEX.CAP DIN.933

под заказ230 руб.
17503189362

Стопор Хомут (Stopper Strap)

под заказ1000 руб.
17503190782

COURROIE ARRET *STOPPER STRAP

под заказ1570 руб.
18503174800

нижний Axle (Lower Axle)

под заказ2540 руб.
19503165100

Пружина Направляющая. дляmula S. (Spring Guide. Formula S.)

под заказ263 руб.
503187500

Пружина Направляющая. дляmula DLX 380. дляmula DLX 500. (Spring Guide. Formula DLX 380. Formula DLX 500.)

под заказ715 руб.
20503189324

Подушка (Cushion)

под заказ821 руб.
20503188939

COUSSINET *CUSHION

под заказ310 руб.
21207006044

Винт Hex. M10 x 60 (Screw Hex. M10 x 60)

под заказ284 руб.
21222006065

SCREW-HEX.CAP ISO.4014

под заказпо запросу
22408200700

Смазочный фиттинг M6 (Grease Fitting M6)

под заказ311 руб.
23503182100

Welded Shock Sвышеport (Welded Shock Support)

под заказпо запросу
24207026044

Шестигранный винт M12 x 60 (Hex. Screw M12 x 60)

под заказ284 руб.
25503188905

Shock. дляmula S. (Shock. Formula S.)

под заказ5280 руб.
25503188973

AMORTISSEUR *SHOCK

под заказ5750 руб.
503188973

Shock. дляmula DLX 380. дляmula DLX 500. (Shock. Formula DLX 380. Formula DLX 500.)

под заказ5750 руб.
503188905

AMORTISSEUR *SHOCK

под заказ5280 руб.
26293800005

Loctite 271, 10ml (Loctite 271, 10ml)

под заказ2150 руб.
26747020000

LOCTITE 271 *LOCTITE-271

под заказ1680 руб.
27234001410

плоский Шайба 10 mm (Flat Washer 10 mm)

под заказ284 руб.
27224001211

WASHER-FLAT DIN.125A

под заказ230 руб.
28234081410

плоский Шайба 8 mm (Flat Washer 8 mm)

под заказ130 руб.
29503184400

Шайба. дляmula S. (Washer. Formula S.)

под заказ255 руб.
505070401

Шайба. дляmula DLX 380. дляmula DLX 500. (Washer. Formula DLX 380. Formula DLX 500.)

под заказ221 руб.
30234021410

плоский Шайба 12 mm (Flat Washer 12 mm)

под заказ130 руб.
30224021251

WASHER-FLAT DIN.125A

под заказ110 руб.
31234120602

Шайба с блокировкой 12 mm (Lock Washer 12 mm)

под заказ465 руб.
31224721218

WASHER-LOCK SPRING DIN.128A-A2

под заказ430 руб.
32414936000

Подушка (Cushion)

под заказ907 руб.
414802600

Подушка (Европа) дляmula S. (Cushion (Europe). Formula S.)

под заказ367 руб.
33503189313

Вал (Shaft)

под заказ1030 руб.
34503189323

Подушка (Cushion)

под заказ821 руб.
35207123544

Шестигранный винт M12 x 35 (Hex. Screw M12 x 35)

под заказ284 руб.
35222023565

SCREW-HEX.CAP ISO.4017

под заказ230 руб.
36207182544

Шестигранный винт M8 x 25 (Hex. Screw M8 x 25)

под заказ284 руб.
36420240275

SCREW-HEX.M8 X 25

под заказ230 руб.
ski-doo

Время выполнения запроса 2.5542151927948 сек.


 
 

данный сайт носит информационный характер и не является публичной офертой

склад запчастей для водомоторной техники