вконтакте

Контактный телефон: +7 (981) 121-46-93, +7 (800) 200-90-76 , Email: parts-katalog@yandex.ru, где купить

 
 

  Логин:

Пароль:

Регистрация

www.partskatalog.ru Все каталоги Запчасти Mercury Запчасти Suzuki Запчасти Tohatsu Запчасти Honda Контакты



УВАЖАЕМЫЕ КЛИЕНТЫ!
C 19 ДЕКАБРЯ 2025 ПО 02 МАРТА 2026 ГОДА ОТДЕЛ ЗАПЧАСТЕЙ И СЕРВИС РАБОТАТЬ НЕ БУДУТ
ПРОДАЖА ЛОДОЧНЫХ МОТОРОВ В ШТАТНОМ РЕЖИМЕ
ОБ ИЗМЕНЕНИЯХ В ГРАФИКЕ РАБОТЫ ЧИТАЙТЕ НА САЙТА




Выбрать другую модель

назад Раздел:   вперёд

вернуться к списку узлов и деталей

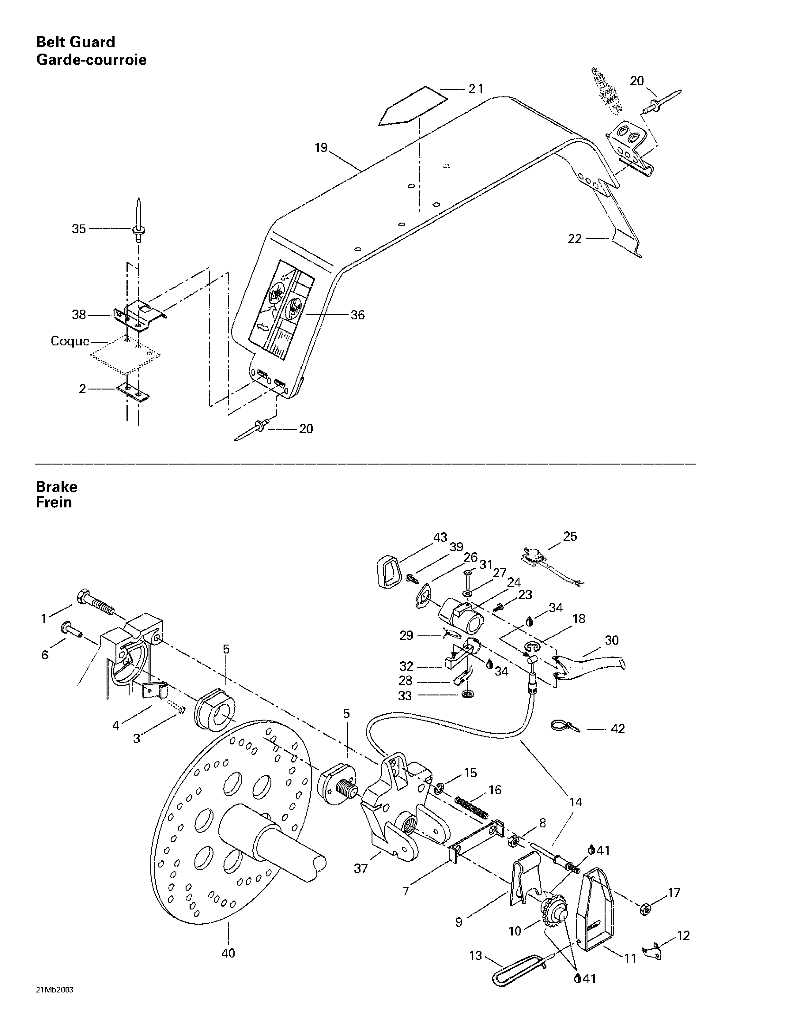
ДЕТАЛИРОВКА ДЛЯ МОДЕЛИ: SKIDOO Skandic 380/500, 2000

Раздел: Mechanic тормоз и Belt Guard | Mechanic Brake And Belt Guard


snowmobile SKIDOO модель Skandic 380/500, 2000 - Mechanic Brake And Belt Guard

Номер на
рисунке
АртикулНаименованиеКол-во
на складе
Цена
1 207085544

Шестигранный винт M8 x 55. Skandic 380. (Hex. Screw M8 x 55. Skandic 380.)

под заказ284 руб.
1 222085565

SCREW-HEX.CAP DIN.931

под заказ230 руб.
2 518207500

Reinдляcement. Skandic 380. (Reinforcement. Skandic 380.)

под заказ383 руб.
3 XXX

Заклёпка. Skandic 380. (Rivet. Skandic 380.)

4 507022600

тормоз Lining Wear Warner. Skandic 380. (Brake Lining Wear Warner. Skandic 380.)

под заказ659 руб.
5 860701700

тормоз Pad Kit. Includes 5 - 6. Skandic 380. (Brake Pad Kit. Includes 5 - 6. Skandic 380.)

2 шт3430 руб.
6 390409600

Pop Заклёпка 3 / 16. Skandic 380. (Pop Rivet 3/16. Skandic 380.)

под заказпо запросу
6 390910600

RIVET-POP 3/16 *RIVET-POP

под заказпо запросу
7 507020400

Lock Tab. Skandic 380. (Lock Tab. Skandic 380.)

под заказ186 руб.
8 232581414

Эластичная гайка со стопором M8. Skandic 380. Skandic 500. (Elastic Stop Nut M8. Skandic 380. Skandic 500.)

под заказ136 руб.
8 420942030

NUT-LOCK M8

под заказ110 руб.
9 507020200

Release Пружина. Skandic 380. (Release Spring. Skandic 380.)

под заказ766 руб.
9 507021800

RESSORT RAPPEL *SPRING-RELEASE

под заказ600 руб.
10507019600

Храповик Wheel. Skandic 380. (Ratchet Wheel. Skandic 380.)

под заказ1190 руб.
10507032310

ROUE CLIQUET SO*RATCHET-WHEEL WELD

под заказ1300 руб.
11507021500

тормоз Рычаг. Skandic 380. (Brake Lever. Skandic 380.)

под заказ808 руб.
11507012700

LEVIER FREIN *LEVER-BRAKE

под заказ640 руб.
12507009400

Храповик Wheel Пружина. Skandic 380. (Ratchet Wheel Spring. Skandic 380.)

под заказ178 руб.
12507019500

CLIQUET *PAWL

под заказпо запросу
13507027500

Hair Штифт. Skandic 380. (Hair Pin. Skandic 380.)

под заказ511 руб.
13507032306

GOUP.SURETE *PIN-HAIR

под заказ660 руб.
14414922500

тормоз Кабели. Skandic 380. (Brake Cable. Skandic 380.)

под заказ4540 руб.
14535657

CABLE FREIN *CABLE-BRAKE

под заказ3550 руб.
15371901300

Стопорное кольцо. Skandic 380. (Circlip. Skandic 380.)

под заказ61 руб.
16414460600

Пружина. Skandic 380. (Spring. Skandic 380.)

под заказ165 руб.
16414379400

RESSORT *SPRING

под заказ130 руб.
17232561414

Эластичная гайка со стопором M6. Skandic 380. (Elastic Stop Nut M6. Skandic 380.)

под заказ130 руб.
17420842040

NUT-STOP ELASTIC DIN.985

под заказ110 руб.
18414274500

Фиксатор Кольцо. Skandic 380. (Retainer Ring. Skandic 380.)

под заказ138 руб.
19417300012

Belt Guard в сборе. Includes 19 - 22. Skandic 380. (Belt Guard Assy. Includes 19 - 22. Skandic 380.)

под заказпо запросу
20390402200

Pop Заклёпка 3 / 16. Skandic 380. (Pop Rivet 3/16. Skandic 380.)

под заказ138 руб.
21516000132

Warning Наклейки. Skandic 380. (Warning Label. Skandic 380.)

под заказпо запросу
21516002670

ETIQUETTE SECUR*SECURITY-LABEL

под заказпо запросу
22414941800

Пружина (Инструмент Box) Skandic 380. (Spring (Tool Box). Skandic 380.)

под заказ236 руб.
23414440800

Установочный винт M8 x 10. Skandic 380. (Set Screw M8 x 10. Skandic 380.)

под заказ290 руб.
23114144408

SCREW

под заказ220 руб.
24572086500

тормоз Handle Корпус. Skandic 380. (Brake Handle Housing. Skandic 380.)

под заказ2370 руб.
25415085800

Dimmer Переключатель. Skandic 380. (Dimmer Switch. Skandic 380.)

под заказ2750 руб.
26572086600

L.H. Пластина. Skandic 380. (L.H. Plate. Skandic 380.)

под заказ701 руб.
26507032328

PLAQUE *PLATE

под заказ770 руб.
27414729400

Пружинная шайба. Skandic 380. (Spring Washer. Skandic 380.)

под заказ282 руб.
28517229300

Пружина. Skandic 380. (Spring. Skandic 380.)

под заказ447 руб.
28507032317

RESSORT *SPRING

под заказ580 руб.
29415085700

тормоз Light Переключатель. Skandic 380. (Brake Light Switch. Skandic 380.)

под заказ1210 руб.
30572025700

тормоз Handle. Skandic 380. (Brake Handle. Skandic 380.)

под заказ1320 руб.
30572068900

MANETTE FREIN *HANDLE-BRAKE

под заказ1040 руб.
31517229400

Штифт. Skandic 380. (Pin. Skandic 380.)

под заказ872 руб.
32572025200

тормоз Рычаг. Skandic 380. (Brake Lever. Skandic 380.)

под заказ326 руб.
33389804300

Push Гайка. Skandic 380. (Push Nut. Skandic 380.)

под заказ133 руб.
34293550004

Dielectric Смазка, 150 gr. Skandic 380. (Dielectric Grease, 150 gr. Skandic 380.)

под заказ4740 руб.
34747018002

GRAISSE *GREASE

под заказ3710 руб.
35390402200

Pop Заклёпка. Skandic 380. (Pop Rivet. Skandic 380.)

под заказ138 руб.
36418001702

Наклейка (Suspension Adjustment) Skandic 380. (Decal (Suspension Adjustment). Skandic 380.)

под заказпо запросу
36516001640

DECAL-AJUST.

под заказпо запросу
37507027600

Mobile тормоз Lining Держатель. Skandic 380. (Mobile Brake Lining Holder. Skandic 380.)

под заказ5410 руб.
38518314200

Кронштейн. Skandic 380. (Bracket. Skandic 380.)

под заказ236 руб.
39414473200

Self Саморез. Skandic 380. (Self Tapping Screw. Skandic 380.)

под заказ222 руб.
39211000098

SCREW-THREAD CUT.PH.PAN TYPE25

под заказ290 руб.
40507029000

тормоз Disk. Skandic 380. (Brake Disk. Skandic 380.)

под заказ8020 руб.
41293800023

Loctite 767, Antiseize Lubricant, 454 g. Skandic 380. (Loctite 767, Antiseize Lubricant,454 g. Skandic 380.)

под заказ1910 руб.
41293800070

loctite 767

под заказ2440 руб.
42414115200

Tie Rap. Skandic 380. (Tie Rap. Skandic 380.)

под заказ130 руб.
42414587300

TIE RAP *TIE-RAP

под заказ110 руб.
43572073800

тормоз Handle Крышка. Skandic 380. (Brake Handle Cover. Skandic 380.)

под заказ659 руб.
43572069100

COUVERCLE FREIN*COVER-BRAKE

под заказ520 руб.
ski-doo

Время выполнения запроса 7.1432068347931 сек.


 
 

данный сайт носит информационный характер и не является публичной офертой

склад запчастей для водомоторной техники