вконтакте

Контактный телефон: +7 (981) 121-46-93, +7 (800) 200-90-76 , Email: parts-katalog@yandex.ru, где купить

 
 

  Логин:

Пароль:

Регистрация

www.partskatalog.ru Все каталоги Запчасти Mercury Запчасти Suzuki Запчасти Tohatsu Запчасти Honda Контакты



УВАЖАЕМЫЕ КЛИЕНТЫ!
C 31 ОКТЯБРЯ 2025 ПО 10 НОЯБРЯ 2025 ГОДА РАБОТАТЬ НЕ БУДЕМ




Выбрать другую модель

назад Раздел:   вперёд

вернуться к списку узлов и деталей

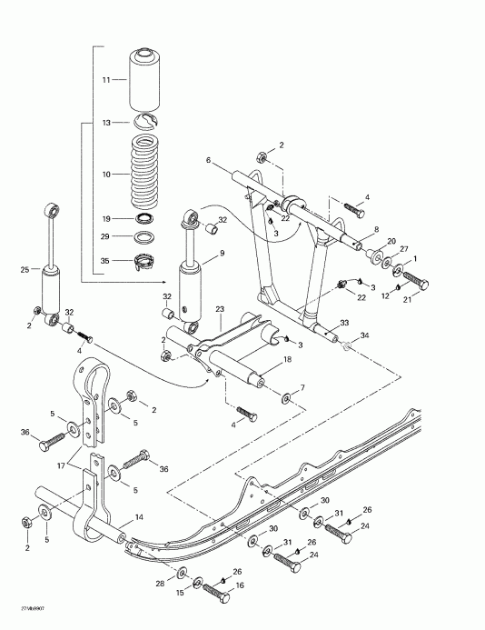
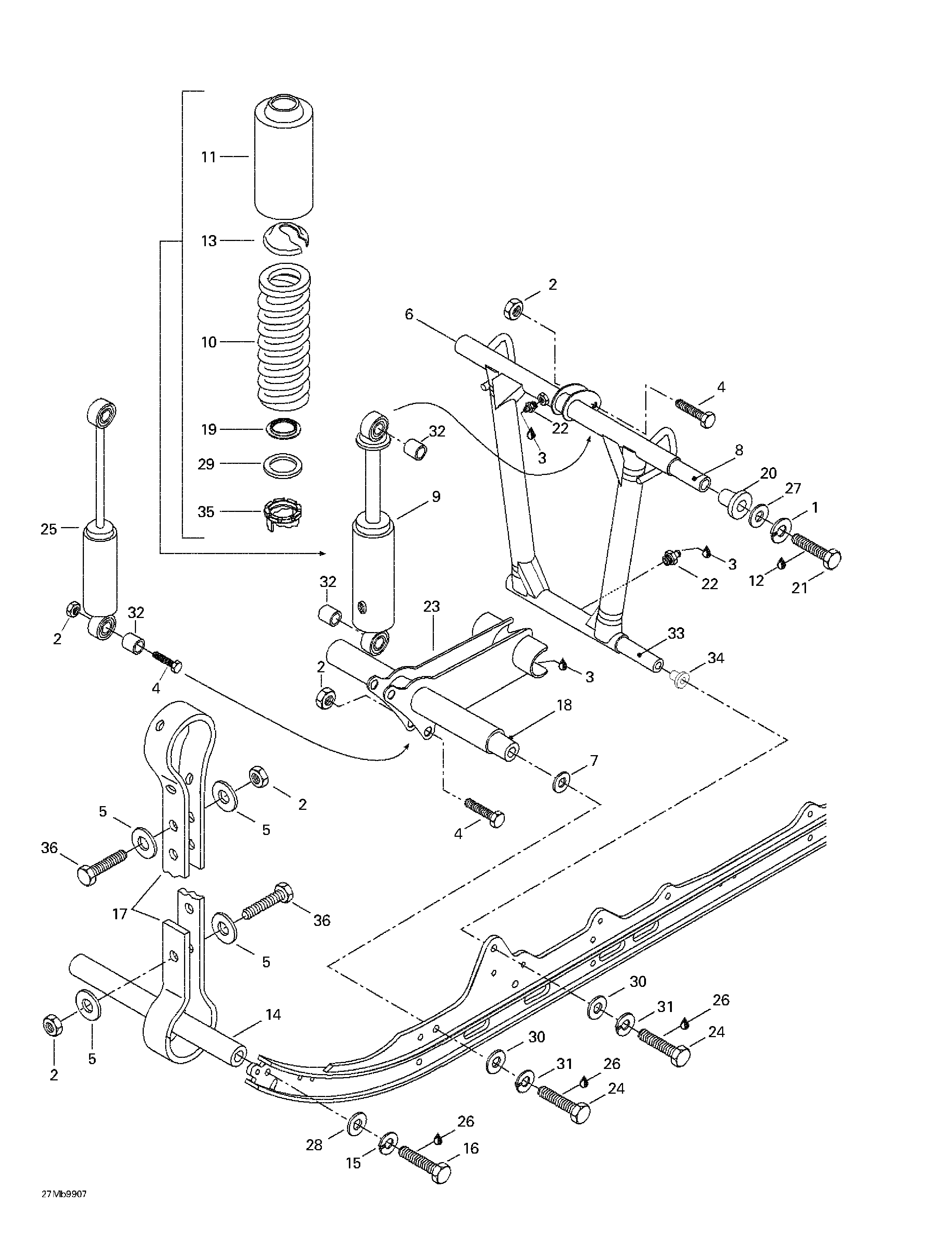
ДЕТАЛИРОВКА ДЛЯ МОДЕЛИ: SKIDOO Formula Deluxe 380/500, 1999

Раздел: Front Рычаг, Задняя подвеска | Front Arm, Rear Suspension


снегоход Skidoo Formula Deluxe 380/500, 1999 раздел - Front Рычаг, Задняя подвеска

Номер на
рисунке
АртикулНаименованиеКол-во
на складе
Цена
1 213000003

Шайба с блокировкой 10 mm (Lock Washer 10 mm)

под заказ206 руб.
1 234101601

WASHER-LOCK HELICAL DIN.127B-A2

под заказ270 руб.
2 228581045

Эластичная гайка со стопором M8 (Elastic Stop Nut M8)

под заказ106 руб.
2 232581414

NUT-STOP ELASTIC DIN.985

под заказ140 руб.
3 413706100

Lithium Смазка, 400 gr (Lithium Grease, 400 gr)

под заказпо запросу
3 219700417

GRAISE SYNTHETI*GREASE-SYNTHE.

под заказ7860 руб.
4 222084065

Шестигранный винт M8 x 40 (Hex. Screw M8 x 40)

под заказ222 руб.
4 207084044

SCREW-HEX.CAP DIN.931

под заказ290 руб.
5 517078700

Шайба (Washer)

под заказ428 руб.
6 503189222

Welded Front Рычаг (Welded Front Arm)

под заказпо запросу
6 503176100

BRAS AV.SOUDE *ARM-FRONT WELD

под заказпо запросу
7 503175400

Hard Шайба (Hard Washer)

под заказ231 руб.
8 503188938

верхний Axle (Upper Axle)

под заказ1730 руб.
8 503190387

SHAFT

под заказ3000 руб.
9 503188904

Shock. дляmula Deluxe 380. (Shock. Formula Deluxe 380.)

под заказпо запросу
503188906

Shock. дляmula Deluxe 500. (Shock. Formula Deluxe 500.)

под заказпо запросу
10415069900

Пружина. дляmula Deluxe 380. (Spring. Formula Deluxe 380.)

под заказпо запросу
415070100

Пружина. дляmula Deluxe 500. (Spring. Formula Deluxe 500.)

под заказ4030 руб.
414956200

RESSORT *SPRING

под заказ3150 руб.
11503188930

Защита (Protector)

под заказ1170 руб.
11572047600

PROTECTEUR *PROTECTOR

под заказ1080 руб.
12413703000

Loctite 242, 10 c.c (Loctite 242, 10 c.c)

под заказ1680 руб.
12293800060

LOCTITE 243 *LOCTITE-243

под заказ2150 руб.
13503140600

Пружина Стопор (Spring Stopper)

под заказ672 руб.
13706200881

BUTEE RESSORT *SPRING STOPPER

под заказ860 руб.
14503151600

Axle (Axle)

под заказ1120 руб.
15224781140

Шайба с блокировкой 8 mm (Lock Washer 8 mm)

под заказ108 руб.
15234181401

WASHER-LOCK DIN*.127B

под заказ140 руб.
16222083065

Шестигранный винт M8 x 30 (Hex. Screw M8 x 30)

под заказ222 руб.
16207183044

SCREW-HEX.CAP DIN.933

под заказ290 руб.
17570069300

Стопор Хомут (Stopper Strap)

под заказ1000 руб.
17503190986

COURROIE ARRET *STOPPER STRAP

под заказ1500 руб.
18503174800

нижний Axle (Lower Axle)

под заказ2540 руб.
19503165100

Пружина Направляющая. дляmula Deluxe 380. (Spring Guide. Formula Deluxe 380.)

под заказ263 руб.
503187500

Пружина Направляющая. дляmula Deluxe 500. (Spring Guide. Formula Deluxe 500.)

под заказ715 руб.
20503188939

Подушка (Cushion)

под заказ306 руб.
20503189324

COUSSINET *BUSHING

под заказ830 руб.
21222006065

Винт Hex. M10 x 60 (Screw Hex. M10 x 60)

под заказпо запросу
21702000102

BOULON *BOLT

под заказпо запросу
22408200700

Смазочный фиттинг M6 (Grease Fitting M6)

под заказ311 руб.
23503182100

Welded Shock Sвышеport (Welded Shock Support)

под заказпо запросу
24222023565

Шестигранный винт M12 x 35 (Hex. Screw M12 x 35)

под заказ222 руб.
24207123544

SCREW-HEX.CAP ISO.4017

под заказ290 руб.
25503188905

Shock. дляmula Deluxe 380. (Shock. Formula Deluxe 380.)

под заказ5280 руб.
25503188973

AMORTISSEUR *SHOCK

под заказ5750 руб.
503188973

Shock. дляmula Deluxe 500. (Shock. Formula Deluxe 500.)

под заказ5750 руб.
503188905

AMORTISSEUR *SHOCK

под заказ5280 руб.
26413707400

Loctite 271, 10 c.c (Loctite 271, 10 c.c)

под заказ1680 руб.
26293800005

LOCTITE 271 *LOCTITE-271

под заказ2150 руб.
27224001211

плоский Шайба 10 mm (Flat Washer 10 mm)

под заказ222 руб.
27234001410

WASHER-FLAT DIN.125A

под заказ290 руб.
28224081171

плоский Шайба 8 mm (Flat Washer 8 mm)

под заказ102 руб.
28234081410

WASHER-FLAT DIN.125A

под заказ130 руб.
29503184400

Шайба. дляmula Deluxe 380. (Washer. Formula Deluxe 380.)

под заказ255 руб.
30224021251

плоский Шайба 12 mm (Flat Washer 12 mm)

под заказ102 руб.
30234021410

WASHER-FLAT DIN.125A

под заказ130 руб.
31224721218

Шайба с блокировкой 12 mm (Lock Washer 12 mm)

под заказ426 руб.
31234120602

WASHER-LOCK SPRING DIN.128A-A2

под заказ470 руб.
32414802600

Подушка (Cushion)

под заказ367 руб.
33503182000

Вал (Shaft)

под заказпо запросу
34503188940

Подушка (Cushion)

под заказ505 руб.
34415026300

COUSSINET *CUSHION

под заказ400 руб.
35503183700

Cam. дляmula Deluxe 500. (Cam. Formula Deluxe 500.)

под заказ474 руб.
35505073625

CAME DE REGLAGE*ADJUSTER CAM

под заказ990 руб.
36222082565

Шестигранный винт M8 x 25 (Hex. Screw M8 x 25)

под заказ222 руб.
36207182544

SCREW-HEX.CAP DIN.933

под заказ290 руб.
ski-doo

Время выполнения запроса 2.5008459091187 сек.


 
 

данный сайт носит информационный характер и не является публичной офертой

склад запчастей для водомоторной техники