вконтакте

Контактный телефон: +7 (981) 121-46-93, +7 (800) 200-90-76 , Email: parts-katalog@yandex.ru, где купить

 
 

  Логин:

Пароль:

Регистрация

www.partskatalog.ru Все каталоги Запчасти Mercury Запчасти Suzuki Запчасти Tohatsu Запчасти Honda Контакты



УВАЖАЕМЫЕ КЛИЕНТЫ!
C 19 ДЕКАБРЯ 2025 ПО 02 МАРТА 2026 ГОДА ОТДЕЛ ЗАПЧАСТЕЙ И СЕРВИС РАБОТАТЬ НЕ БУДУТ
ПРОДАЖА ЛОДОЧНЫХ МОТОРОВ В ШТАТНОМ РЕЖИМЕ
ОБ ИЗМЕНЕНИЯХ В ГРАФИКЕ РАБОТЫ ЧИТАЙТЕ НА САЙТА




Выбрать другую модель

назад Раздел:   вперёд

вернуться к списку узлов и деталей

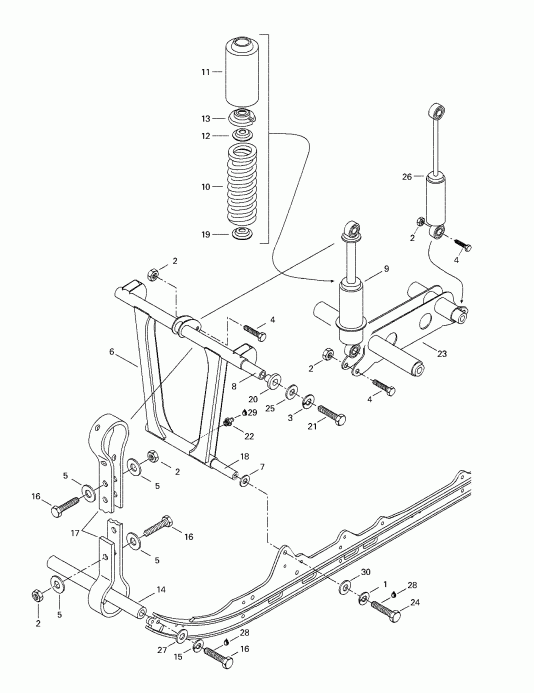
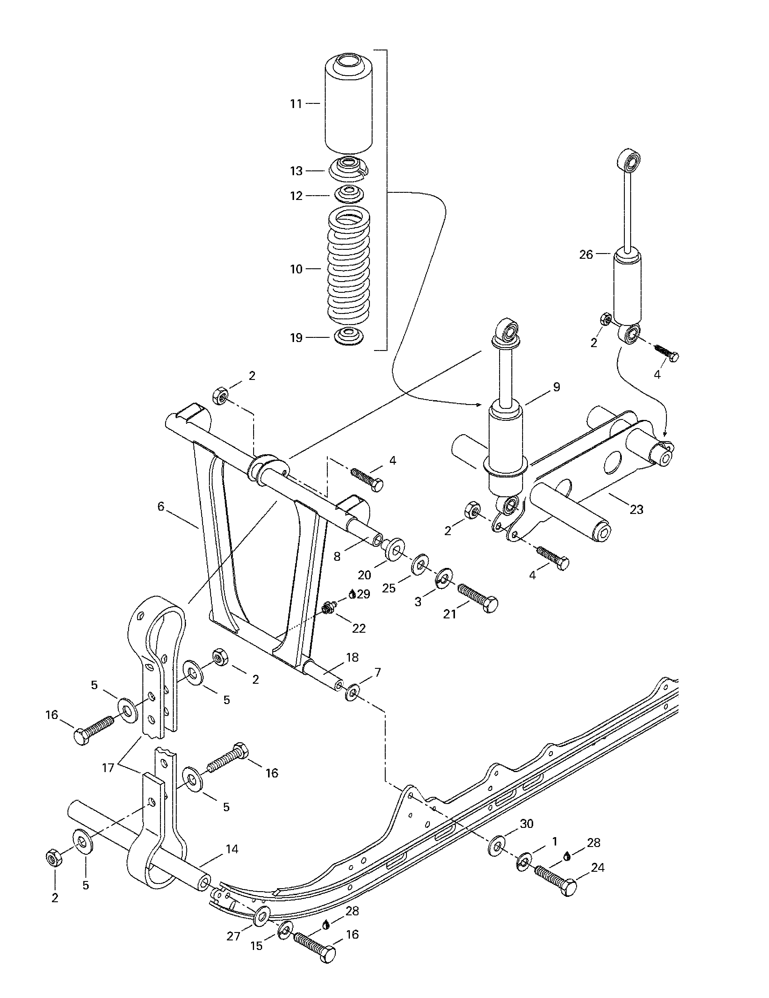
ДЕТАЛИРОВКА ДЛЯ МОДЕЛИ: SKIDOO Skandic 380/500, 1998

Раздел: Front Рычаг, Задняя подвеска | Front Arm, Rear Suspension


снегоход Skidoo Skandic 380/500, 1998 - Front Рычаг, Задняя подвеска

Номер на
рисунке
АртикулНаименованиеКол-во
на складе
Цена
1 224721218

Шайба с блокировкой 12 mm (Lock Washer 12 mm)

под заказ426 руб.
1 234120602

WASHER-LOCK SPRING DIN.128A-A2

под заказ470 руб.
2 228581045

Эластичная гайка со стопором M8 (Elastic Stop Nut M8)

под заказ106 руб.
2 232581414

NUT-STOP ELASTIC DIN.985

под заказ140 руб.
3 213000003

Шайба с блокировкой 10 mm (Lock Washer 10 mm)

под заказ206 руб.
3 234101601

WASHER-LOCK HELICAL DIN.127B-A2

под заказ270 руб.
4 222084065

Шестигранный винт M8 x 40 (Hex. Screw M8 x 40)

под заказ222 руб.
4 207084044

SCREW-HEX.CAP DIN.931

под заказ290 руб.
5 517078700

Шайба (Washer)

под заказ428 руб.
6 503167400

Welded Front Рычаг (Welded Front Arm)

под заказпо запросу
7 503175400

Hardened Шайба (Hardened Washer)

под заказ231 руб.
8 503159000

верхний Axle (Upper Axle)

под заказ1730 руб.
8 503190387

SHAFT

под заказ3000 руб.
9 414866400

Shock (Shock)

под заказпо запросу
10415069900

Center Shock Пружина (Center Shock Spring)

под заказпо запросу
11517280900

Защита (Protector)

под заказ1080 руб.
11503188930

PROTECTEUR *PROTECTOR

под заказ1170 руб.
12503141600

Колпачок (Cap)

под заказ243 руб.
12503191610

CAPUCHON *CAP

под заказ270 руб.
13503140600

Пружина Стопор (Spring Stopper)

под заказ672 руб.
13706200881

BUTEE RESSORT *SPRING STOPPER

под заказ860 руб.
14503151600

Axle (Axle)

под заказ1120 руб.
15224781140

Шайба с блокировкой 8 mm (Lock Washer 8 mm)

под заказ108 руб.
15234181401

WASHER-LOCK DIN*.127B

под заказ140 руб.
16222083065

Шестигранный винт M8 x 30 (Hex. Screw M8 x 30)

под заказ222 руб.
16207183044

SCREW-HEX.CAP DIN.933

под заказ290 руб.
17570038800

Стопор Хомут (Stopper Strap)

под заказ1000 руб.
17503190986

COURROIE ARRET *STOPPER STRAP

под заказ1500 руб.
18503174800

Вал (Shaft)

под заказ2540 руб.
19503165100

Пружина Направляющая (Spring Guide)

под заказ263 руб.
20414894900

Подушка (Cushion)

под заказпо запросу
21222006065

Шестигранный винт M10 x 60 (Hex. Screw M10 x 60)

под заказпо запросу
21702000102

BOULON *BOLT

под заказпо запросу
22408200700

Смазочный фиттинг M6 (Grease Fitting M6)

под заказ311 руб.
23503173300

Welded Shock Sвышеport (Welded Shock Support)

под заказпо запросу
23503189466

SUPPORT AMORT. *SUPPORT-SHOCK

под заказпо запросу
24222023565

Шестигранный винт M12 x 35 (Hex. Screw M12 x 35)

под заказ222 руб.
24207123544

SCREW-HEX.CAP ISO.4017

под заказ290 руб.
25224001211

плоский Шайба 10 mm (Flat Washer 10 mm)

под заказ222 руб.
25234001410

WASHER-FLAT DIN.125A

под заказ290 руб.
26414927700

Shock (Shock)

под заказпо запросу
27224081171

плоский Шайба 8 mm (Flat Washer 8 mm)

под заказ102 руб.
27234081410

WASHER-FLAT DIN.125A

под заказ130 руб.
28413707400

Loctite 271, 10cc (Loctite 271, 10cc)

под заказ1680 руб.
28293800005

LOCTITE 271 *LOCTITE-271

под заказ2150 руб.
29413706100

Lithium Смазка, 400 gr (Lithium Grease, 400 gr)

под заказпо запросу
29219700417

GRAISE SYNTHETI*GREASE-SYNTHE.

под заказ7860 руб.
30224021251

плоский Шайба 12 mm (Flat Washer 12 mm)

под заказ102 руб.
30234021410

WASHER-FLAT DIN.125A

под заказ130 руб.
ski-doo

Время выполнения запроса 0.96250796318054 сек.


 
 

данный сайт носит информационный характер и не является публичной офертой

склад запчастей для водомоторной техники