вконтакте

Контактный телефон: +7 (981) 121-46-93, +7 (800) 200-90-76 , Email: parts-katalog@yandex.ru, где купить

 
 

  Логин:

Пароль:

Регистрация

www.partskatalog.ru Все каталоги Запчасти Mercury Запчасти Suzuki Запчасти Tohatsu Запчасти Honda Контакты



УВАЖАЕМЫЕ КЛИЕНТЫ!
C 31 ОКТЯБРЯ 2025 ПО 10 НОЯБРЯ 2025 ГОДА РАБОТАТЬ НЕ БУДЕМ




Выбрать другую модель

назад Раздел:   вперёд

вернуться к списку узлов и деталей

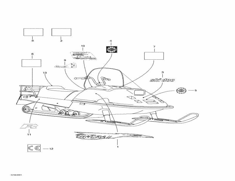
ДЕТАЛИРОВКА ДЛЯ МОДЕЛИ: SKIDOO Tundra II LT, 3270, 1998

Раздел: Наклейки | Decals


снегоход Skidoo Tundra II LT, 3270, 1998 - Наклейки

Номер на
рисунке
АртикулНаименованиеКол-во
на складе
Цена
1 414975100

Side Наклейка Kit (Hood) (Side Decal Kit (Hood))

под заказпо запросу
2 414108700

Наклейка - предупреждение (Шкив Guard) (Warning Decal (Pulley Guard))

под заказпо запросу
3 418000006

<> Наклейка (<> Decal)

под заказпо запросу
4 414751500

<> Наклейка (<> Decal)

под заказпо запросу
5 415037800

<> Logo (<> Logo)

под заказпо запросу
5 516000983

LOGO BOMBARDIER*LOGO-BOMB.

под заказпо запросу
6 414998500

Наклейка с инструкцией (Hitch) (Instruction Decal (Hitch))

под заказпо запросу
6 516001243

ETIQUETTE SECUR*SECURITY-LABEL

под заказпо запросу
7 414998000

Наклейка - предупреждение (Cab) (Warning Decal (Cab))

под заказпо запросу
7 516001208

ETIQUETTE SECUR*SECURITY-LABEL

под заказпо запросу
8 414161500

Наклейка - предупреждение (Air Глушитель) (Warning Decal (Air Silencer))

под заказпо запросу
9 418001605

Reverse Button Наклейка. Tundra R. (Reverse Button Decal. Tundra R.)

под заказпо запросу
10418001602

Reverse Наклейка. Tundra R. (Reverse Decal. Tundra R.)

под заказпо запросу
11418001104

Identification Наклейка. Tundra R. (Identification Decal. Tundra R.)

под заказпо запросу
12418002200

<> Наклейка (<> Decal)

под заказпо запросу
13415037900

белый Reflector (Европа) Tundra R. (White Reflector (Europe). Tundra R.)

под заказ1430 руб.
ski-doo

Время выполнения запроса 0.870854139328 сек.


 
 

данный сайт носит информационный характер и не является публичной офертой

склад запчастей для водомоторной техники