вконтакте

Контактный телефон: +7 (981) 121-46-93, +7 (800) 200-90-76 , Email: parts-katalog@yandex.ru, где купить

 
 

  Логин:

Пароль:

Регистрация

www.partskatalog.ru Все каталоги Запчасти Mercury Запчасти Suzuki Запчасти Tohatsu Запчасти Honda Контакты



УВАЖАЕМЫЕ КЛИЕНТЫ!
C 19 ДЕКАБРЯ 2025 ПО 02 МАРТА 2026 ГОДА ОТДЕЛ ЗАПЧАСТЕЙ И СЕРВИС РАБОТАТЬ НЕ БУДУТ
ПРОДАЖА ЛОДОЧНЫХ МОТОРОВ В ШТАТНОМ РЕЖИМЕ
ОБ ИЗМЕНЕНИЯХ В ГРАФИКЕ РАБОТЫ ЧИТАЙТЕ НА САЙТА




Все разделы каталога запчастей на этот двигатель

назад Раздел:   вперёд

вернуться к списку узлов и деталей

ДЕТАЛИРОВКА ДЛЯ МОДЕЛИ: EVINRUDE E200FCXSIF FFI, elec start, TNT, 25 in s

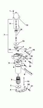
ДВИГАТЕЛЬ СТАРТЕРА | STARTER MOTOR;


Лодочный мотор EVINRUDE E200FCXSIF FFI, elec start, TNT, 25 in s  - arter Motor

Номер на
рисунке
АртикулНаименованиеКол-во
на складе
Цена
0586411

Двигатель стартера ASSEMBLY. (Not Shown.) (STARTER MOTOR ASSEMBLY. (Not Shown.))

нет в наличии, поставок нет
0586890

   (последний код) MOTOR AY,STARTER

1 шт47900 руб.
1 0302325

*Винт, Drive Корпус (SCREW, Drive housing)

нет в наличии, поставок нет
2 0332274

*END Колпачок (END CAP)

нет в наличии, поставок нет
3 0332275

*Колпачок, Drive и commutator (CAP, Drive and commutator)

нет в наличии, поставок нет
4 0332895

*Кронштейн, Tail sвышеport (BRACKET, Tail support)

нет в наличии, поставок нет
5 0397371

*Якорь в сборе (ARMATURE ASSEMBLY)

нет в наличии, поставок нет
6 0433850

*Щётка & Пружина SET (BRUSH & SPRING SET)

2 шт3900 руб.
6 0397373

   (последний код) BRUSH&SPRING SET

2 шт2990 руб.
7 5000333

*KIT в сборе., Шестерня привода (KIT ASSY., Drive gear)

нет в наличии, поставок нет
7 0586392

   (последний код) KIT AY,DRIVE GEAR

нет в наличии, поставок нет
8 5000369

**KIT, Drive & Вал (KIT, Drive & shaft)

нет в наличии, поставок нет
9 0397375

***DRIVE KIT (DRIVE KIT)

нет в наличии, поставок нет
10 0397372

*THRU Болт PACKAGE (THRU BOLT PACKAGE)

нет в наличии, поставок нет
12 0432939

*Корпус, Drive end (HOUSING, Drive end)

нет в наличии, поставок нет
13 0513398

*Стопорное кольцо (RETAINING RING)

нет в наличии, поставок нет
14 0336975

*Шайба (WASHER)

нет в наличии, поставок нет
15 0397376

*Крышка, Шестерня (COVER, Gear)

нет в наличии, поставок нет
16 0328740

Гайка, Заземление (NUT, Ground)

нет в наличии, поставок нет
16 0306375

   (последний код) NUT

нет в наличии, поставок нет
17 0302290

Шайба с блокировкой, Провод заземленияs (LOCK WASHER, Ground wires)

нет в наличии, поставок нет
17 0338307

   (последний код) WASHER,LOCK

нет в наличии, поставок нет
18 0328701

Шайба с блокировкой, Заземление (LOCK WASHER, Ground)

нет в наличии, поставок нет
18 3852182

   (последний код) WASHER,LOCK

нет в наличии, поставок нет
19 0331644

Винт, Стартер, Креплениеing (SCREW, Starter, mounting)

нет в наличии, поставок нет
19 0326697

   (последний код) SCREW

нет в наличии, поставок нет
20 0309543

Шайба с блокировкой, Sвышеport Кронштейн & Стартер (LOCK WASHER, Support bracket & starter)

нет в наличии, поставок нет
21 0552940

Винт, Sвышеport Кронштейн (SCREW, Support bracket)

нет в наличии, поставок нет
21 0313699

   (последний код) SCREW

нет в наличии, поставок нет
22 0330143

Болт, Double end (BOLT, Double end)

нет в наличии, поставок нет
22 0311328

   (последний код) BOLT

нет в наличии, поставок нет
evinrude

Время выполнения запроса 0.94901394844055 сек.


 
 

данный сайт носит информационный характер и не является публичной офертой

склад запчастей для водомоторной техники