вконтакте

Контактный телефон: +7 (981) 121-46-93, +7 (800) 200-90-76 , Email: parts-katalog@yandex.ru, где купить

 
 

  Логин:

Пароль:

Регистрация

www.partskatalog.ru Все каталоги Запчасти Mercury Запчасти Suzuki Запчасти Tohatsu Запчасти Honda Контакты


Все разделы каталога запчастей на этот двигатель

назад Раздел:   вперёд

вернуться к списку узлов и деталей

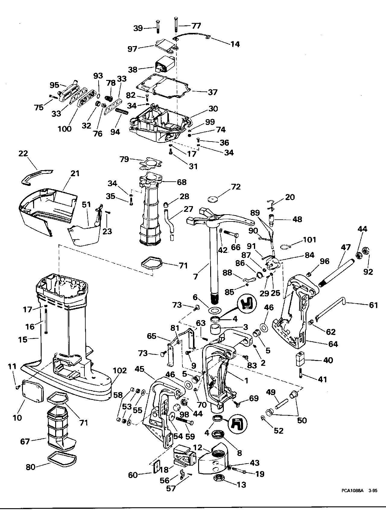
ДЕТАЛИРОВКА ДЛЯ МОДЕЛИ: EVINRUDE E8FRXEDC 1996

РУЛЕВАЯ СИСТЕМА & ПЕРЕКЛЮЧАТЕЛЬ HANDLE | STEERING & SHIFT HANDLE;


Двигатель Evinrude E8FRXEDC 1996  - eeКольцо & Переключатель Handle / eering & Shift Handle

Номер на
рисунке
АртикулНаименованиеКол-во
на складе
Цена
1 0435749

START BUTTON в сборе.. TE Models Only (START BUTTON ASSY.. TE Models Only)

нет в наличии, поставок нет
1 0338610

   (последний код) HOUSING

нет в наличии, поставок нет
2 0121470

Гайка, Винт, start button. TE Models Only (NUT, Screw, start button. TE Models Only)

нет в наличии, поставок нет
3 0333674

Винт, Start button. TE Models Only (SCREW, Start button. TE Models Only)

нет в наличии, поставок нет
4 0334083

ANCHOR, Тросик дросселя (ANCHOR, Throttle cable)

нет в наличии, поставок нет
5 0513356

Коннектор, Stop Переключатель (CONNECTOR, Stop switch)

нет в наличии, поставок нет
6 0584302

ADJUSTMENT, Idle (ADJUSTMENT, Idle)

нет в наличии, поставок нет
7 0338254

Ручка руля (румпель) (HANDLE, Steering)

нет в наличии, поставок нет
8 0433325

Кабели в сборе., Дроссель (CABLE ASSY., Throttle)

нет в наличии, поставок нет
9 0436216

TWIST Рукоятка (TWIST GRIP)

нет в наличии, поставок нет
10 0329879

Направляющая, Штифт (GUIDE, Pin)

нет в наличии, поставок нет
11 0339722

HELIX, Twist Рукоятка (HELIX, Twist grip)

нет в наличии, поставок нет
12 0329880

Штифт, Helix Роликs (PIN, Helix rollers)

нет в наличии, поставок нет
13 0329881

Ролик, Helix (ROLLER, Helix)

нет в наличии, поставок нет
16 0445085

Выключатель двигателя в сборе. (STOP SWITCH ASSY.)

нет в наличии, поставок нет
17 0511469

Клемма, Штифт (TERMINAL, Pin)

нет в наличии, поставок нет
17 3852229

   (последний код) TERMINAL,PIN

нет в наличии, поставок нет
18 0510818

Клемма, Кольцо (TERMINAL, Ring)

нет в наличии, поставок нет
18 3854243

   (последний код) TERMINAL,RIN

нет в наличии, поставок нет
19 0339691

Гильза, Дроссель (SLEEVE, Throttle)

нет в наличии, поставок нет
19 0441243

   (последний код) TUBING

нет в наличии, поставок нет
20 0337541

Винт стопора Переключатель (SCREW, Stop switch)

нет в наличии, поставок нет
20 0328649

   (последний код) SCREW

нет в наличии, поставок нет
21 0313838

Гайка, Румпель (NUT, Steering handle)

нет в наличии, поставок нет
22 0324602

Винт, Румпель (SCREW, Steering handle)

нет в наличии, поставок нет
23 0327944

Пластина, Управление дросселем (PLATE, Throttle control)

нет в наличии, поставок нет
23 0324771

   (последний код) PLATE

нет в наличии, поставок нет
24 0336347

Заглушка, Idle adjustment (PLUG, Idle adjustment)

нет в наличии, поставок нет
26 0329160

Винт, Anchor (SCREW, Anchor)

нет в наличии, поставок нет
27 0338872

Гильза, Винт, handle (SLEEVE, Screw, handle)

нет в наличии, поставок нет
29 0332226

Винт, Start Переключатель. TE Models Only (SCREW, Start switch. TE Models Only)

нет в наличии, поставок нет
29 3852207

   (последний код) SCREW

нет в наличии, поставок нет
30 0584581

START Переключатель в сборе.. TE Models Only (START SWITCH ASSY.. TE Models Only)

нет в наличии, поставок нет
31 0510818

Клемма (TERMINAL)

нет в наличии, поставок нет
31 3854243

   (последний код) TERMINAL,RIN

нет в наличии, поставок нет
32 0512550

Клемма (TERMINAL)

нет в наличии, поставок нет
32 3852235

   (последний код) TERMINAL,RIN

нет в наличии, поставок нет
33 0398602

Зажим & LANYARD в сборе. (CLIP & LANYARD ASSY.)

нет в наличии, поставок нет
34 0333499

Зажим (CLIP)

нет в наличии, поставок нет
evinrude

Время выполнения запроса 0.5775191783905 сек.


 
 

данный сайт носит информационный характер и не является публичной офертой

склад запчастей для водомоторной техники