| |
Все разделы каталога запчастей на этот двигатель
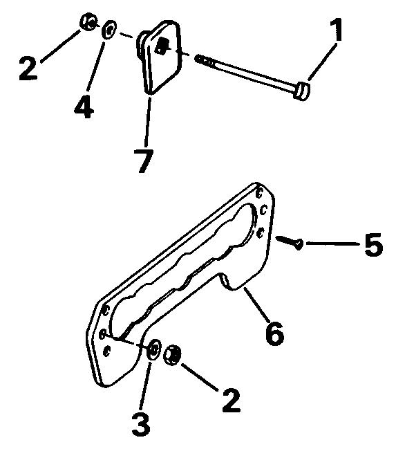
вернуться к списку узлов и деталей ДЕТАЛИРОВКА ДЛЯ МОДЕЛИ: EVINRUDE E45WMLEIA 1991
TRANSOM КРЕПЛЕНИЕ KIT | TRANSOM MOUNT KIT;
Номер на рисунке | Артикул | Наименование | Кол-во на складе | Цена |
| 0394219 | 0394219 | TRANSOM Крепление KIT. Not Shown (TRANSOM MOUNT KIT. Not Shown) | нет в наличии, поставок нет |
| 0394219 | 0384189 | (последний код) TRANSOM-MT | нет в наличии, поставок нет |
| 1 | 0334427 | Винт (SCREW) | нет в наличии, поставок нет |
| 1 | 0318512 | (последний код) SCREW | нет в наличии, поставок нет |
| 2 | 0310702 | Гайка (NUT) | нет в наличии, поставок нет |
| 3 | 0120196 | Шайба (WASHER) | нет в наличии, поставок нет |
| 3 | 0309192 | (последний код) WASHER | нет в наличии, поставок нет |
| 4 | 0315776 | Шайба (WASHER) | нет в наличии, поставок нет |
| 5 | 0303776 | Винт (SCREW) | нет в наличии, поставок нет |
| 6 | 0328594 | Пластина (PLATE) | нет в наличии, поставок нет |
| 6 | 0323539 | (последний код) TRANSOM PLATE | нет в наличии, поставок нет |
| 7 | 0315774 | PAD, Кронштейн (PAD, Bracket) | нет в наличии, поставок нет |

Время выполнения запроса 0.52255201339722 сек.
|
|