вконтакте

Контактный телефон: +7 (981) 121-46-93, +7 (800) 200-90-76 , Email: parts-katalog@yandex.ru, где купить

 
 

  Логин:

Пароль:

Регистрация

www.partskatalog.ru Все каталоги Запчасти Mercury Запчасти Suzuki Запчасти Tohatsu Запчасти Honda Контакты



УВАЖАЕМЫЕ КЛИЕНТЫ!
C 19 ДЕКАБРЯ 2025 ПО 02 МАРТА 2026 ГОДА ОТДЕЛ ЗАПЧАСТЕЙ И СЕРВИС РАБОТАТЬ НЕ БУДУТ
ПРОДАЖА ЛОДОЧНЫХ МОТОРОВ В ШТАТНОМ РЕЖИМЕ
ОБ ИЗМЕНЕНИЯХ В ГРАФИКЕ РАБОТЫ ЧИТАЙТЕ НА САЙТА




Все разделы каталога запчастей на этот двигатель

назад Раздел:   вперёд

вернуться к списку узлов и деталей

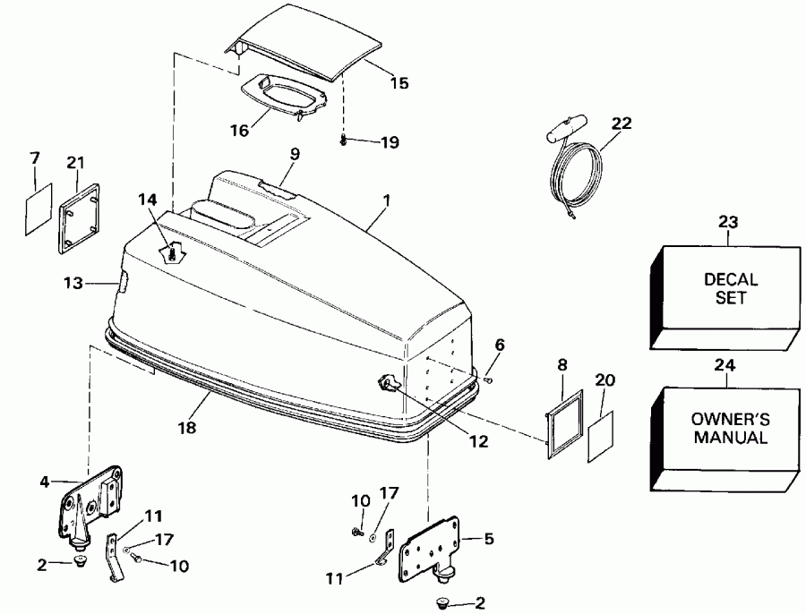
ДЕТАЛИРОВКА ДЛЯ МОДЕЛИ: EVINRUDE VE40ELESR 1990

КРЫШКА ДВИГАТЕЛЯ (КАПОТ) - JOHNSON 25-40 | ENGINE COVER - JOHNSON 25-40;


Подвесной лодочный мотор Эвинруд VE40ELESR 1990  - Johnson 25-40 / Johnson 25-40

Номер на
рисунке
АртикулНаименованиеКол-во
на складе
Цена
1 0433661

Крышка двигателя (капот) в сборе.. 40EC - 40EL - 40 TL 40TEC -40TEL - 40TTL (ENGINE COVER ASSY.. 40EC - 40EL - 40 TL 40TEC -40TEL - 40TTL)

нет в наличии, поставок нет
1 0439929

   (последний код) COVER AY,MOTOR-UPR

нет в наличии, поставок нет
1 0433688

Крышка двигателя (капот) в сборе.. TJ40EL - TJ40TEL (ENGINE COVER ASSY.. TJ40EL - TJ40TEL)

нет в наличии, поставок нет
2 0334432

Бампер, Locating Кронштейн (BUMPER, Locating bracket)

нет в наличии, поставок нет
4 0333939

LOCATING Кронштейн, Rear (LOCATING BRACKET, Rear)

нет в наличии, поставок нет
5 0333938

LOCATING Кронштейн, Front (LOCATING BRACKET, Front)

нет в наличии, поставок нет
6 0326948

Заклёпка, Locating Кронштейн (RIVET, Locating bracket)

нет в наличии, поставок нет
6 0331881

   (последний код) RIVET

нет в наличии, поставок нет
7 0334406

Пластина, Rear. 40EC - 40EL - 40 TL 40TEC -40TEL - 40TTL (PLATE, Rear. 40EC - 40EL - 40 TL 40TEC -40TEL - 40TTL)

нет в наличии, поставок нет
7 0335757

Пластина, Rear. TJ40EL - TJ40TEL (PLATE, Rear. TJ40EL - TJ40TEL)

нет в наличии, поставок нет
8 0334236

Рама, Front. 40EC - 40EL - 40 TL 40TEC -40TEL - 40TTL (FRAME, Front. 40EC - 40EL - 40 TL 40TEC -40TEL - 40TTL)

нет в наличии, поставок нет
8 0335033

Рама, Front. TJ40EL - TJ40TEL (FRAME, Front. TJ40EL - TJ40TEL)

нет в наличии, поставок нет
9 0206681

SOUND BLANKET, Top (SOUND BLANKET, Top)

нет в наличии, поставок нет
9 0341531

   (последний код) BLANKET,SOUND

нет в наличии, поставок нет
10 0305284

Винт, Крючок to Кронштейн (SCREW, Hook to bracket)

нет в наличии, поставок нет
10 0908158

   (последний код) SCREW

нет в наличии, поставок нет
11 0323176

Крючок, Кронштейн (HOOK, Bracket)

нет в наличии, поставок нет
11 0315191

   (последний код) HOOK

нет в наличии, поставок нет
12 0317223

Защелка, Applique (FASTENER, Applique)

нет в наличии, поставок нет
13 0206682

SOUND BLANKET, Side (SOUND BLANKET, Side)

нет в наличии, поставок нет
13 0341532

   (последний код) BLANKET,SOUND

нет в наличии, поставок нет
14 0323228

Винт, Рукоятка наклона, rear (SCREW, Tilt handle, rear)

нет в наличии, поставок нет
15 0208181

Рукоятка наклона (TILT HANDLE)

нет в наличии, поставок нет
16 0210296

BAFFLE, Рукоятка наклона (BAFFLE, Tilt handle)

нет в наличии, поставок нет
17 0313079

Шайба, Крючок to Кронштейн (WASHER, Hook to bracket)

нет в наличии, поставок нет
18 0211111

Резинка капота двигателя (SEAL, Engine cover)

нет в наличии, поставок нет
19 0323229

Винт, Рукоятка наклона, FRONT (SCREW, TILT HANDLE, FRONT)

нет в наличии, поставок нет
20 0334405

Пластина, Applique. 40EC - 40EL - 40 TL 40TEC -40TEL - 40TTL (PLATE, Applique. 40EC - 40EL - 40 TL 40TEC -40TEL - 40TTL)

нет в наличии, поставок нет
20 0335755

Пластина, Applique. TJ40EL - TJ40TEL (PLATE, Applique. TJ40EL - TJ40TEL)

нет в наличии, поставок нет
21 0334237

Рама, Rear. 40EC - 40EL - 40 TL 40TEC -40TEL - 40TTL (FRAME, Rear. 40EC - 40EL - 40 TL 40TEC -40TEL - 40TTL)

нет в наличии, поставок нет
21 0335042

Рама, Rear. TJ40EL - TJ40TEL (FRAME, Rear. TJ40EL - TJ40TEL)

нет в наличии, поставок нет
22 0378347

Шнур стартера (STARTER ROPE)

нет в наличии, поставок нет
23 0433117

Комплект наклеек. 40EC - 40EL - 40 TL 40TEC -40TEL - 40TTL (DECAL SET. 40EC - 40EL - 40 TL 40TEC -40TEL - 40TTL)

нет в наличии, поставок нет
23 0433205

Комплект наклеек. TJ40EL - TJ40TEL (DECAL SET. TJ40EL - TJ40TEL)

нет в наличии, поставок нет
24 0433311

OWNERS ручной. 40TEC -40TEL - 40TTL 4-Language Ownerft.s ручной (English, French, Spanish & Portuguese) (OWNERS MANUAL. 40TEC -40TEL - 40TTL 4-Language Ownerft.s Manual (English, French, Spanish & Portuguese))

нет в наличии, поставок нет
24 8011861

   (последний код) OM40/50RP433311

нет в наличии, поставок нет
24 0433312

OWNERS ручной. 40EC - 40EL - 40 TL TJ40EL - TJ40TEL 4-Language Ownerft.s ручной (English, French, Spanish & Portuguese) (OWNERS MANUAL. 40EC - 40EL - 40 TL TJ40EL - TJ40TEL 4-Language Ownerft.s Manual (English, French, Spanish & Portuguese))

нет в наличии, поставок нет
24 8011863

   (последний код) OM40/50EL433312

нет в наличии, поставок нет
24 0433313

OWNERS ручной. 40EC - 40EL - 40 TL 7-Language Ownerft.s ручной (German, Italian, Dutch, Swedish, Finnish, Danish & Norwegian) (OWNERS MANUAL. 40EC - 40EL - 40 TL 7-Language Ownerft.s Manual (German, Italian, Dutch, Swedish, Finnish, Danish & Norwegian))

нет в наличии, поставок нет
24 0433314

OWNERS ручной. 40TTL English Only Ownerft.s ручной (OWNERS MANUAL. 40TTL English Only Ownerft.s Manual)

нет в наличии, поставок нет
24 8011863

   (последний код) OM40/50EL433312

нет в наличии, поставок нет
24 0433310

OWNERS ручной. 40TEC -40TEL - 40TTL 7-Language Ownerft.s ручной (German, Italian, Dutch, Swedish, Finnish, Danish & Norwegian) (OWNERS MANUAL. 40TEC -40TEL - 40TTL 7-Language Ownerft.s Manual (German, Italian, Dutch, Swedish, Finnish, Danish & Norwegian))

нет в наличии, поставок нет
24 8011862

   (последний код) OM40/50RP433310

нет в наличии, поставок нет
evinrude

Время выполнения запроса 1.2527198791504 сек.


 
 

данный сайт носит информационный характер и не является публичной офертой

склад запчастей для водомоторной техники