| |
 |
|
 |
Вернуться к выбору узлов мотора
ДЕТАЛИРОВКА ДЛЯ МОДЕЛИ: SUZUKI DF15A/DF15AR/DF15ATH FROM 01504F-410001~ (P03 014)
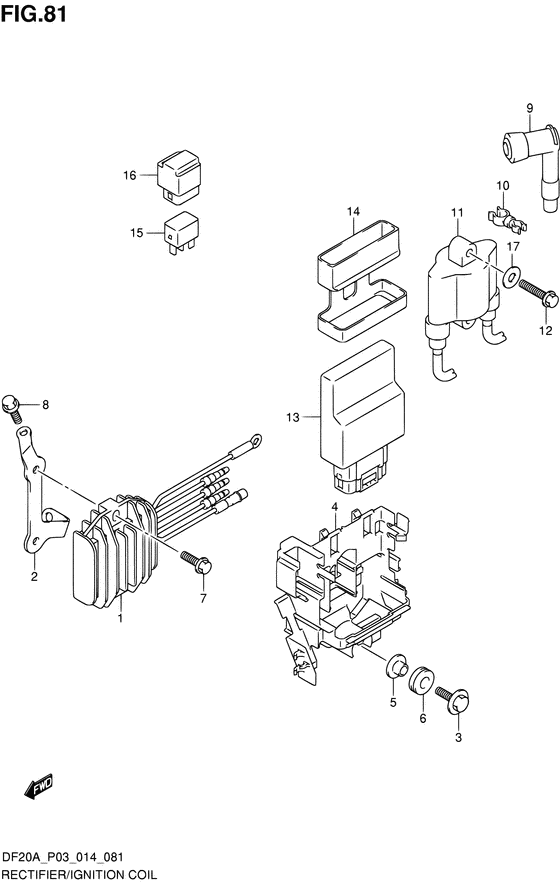
Выпрямитель / Катушка зажигания
Код модели двигателя: DF15AS/L; DF15ARS/L; DF15ATS/L
Год выпуска двигателя: 2014
Регион: USA/Thailand ,Код региона: P03/P014
Цвет: Shadow Black Metallic
Номер на рисунке | Артикул | Наименование | QTY | Кол-во на складе | Цена |
| 1 | 32800-89L00-000 | Выпрямитель & Регулятор в сборе - Rectifier & Regulator Assy (W/ELECTRIC STARTER # ) (Выпрямитель и регулятор) | | под заказ | 18290 руб. |
| 1 | 32800-89L02-000 | (актуальный код замены) Выпрямитель & Регулятор в сборе - Rectifier & Regulator Assy | | 1 шт | 19970 руб. |
| 2 | 32815-89L00-000 | Кронштейн выпрямителя - Bracket, Rectifier (W/ELECTRIC STARTER # ) (Bracket, rectifier) | | 12 шт | 1150 руб. |
| 3 | 09116-06196-000 | Болт (6x20) - Bolt (6x20) (Болт 6X20) | | под заказ | 170 руб. |
| 4 | 32890-89L00-000 | Держатель электрических частей - Holder, Electric Parts (Holder, electric parts) | | под заказ | 770 руб. |
| 5 | 09169-06063-000 | Шайба - Washer (Washer (6.3x17x6) # ) (Шайба) | | под заказ | 250 руб. |
| 6 | 09320-08051-000 | Подушка - Cushion (Cushion) | | 10 шт | 300 руб. |
| 6 | 09320-08515-000 | (актуальный код замены) Подушка (8.4x18x6) - Cushion (8.4x18x6) | | под заказ | 260 руб. |
| 7 | 01550-06207-000 | Болт - Bolt (Bolt # W/ELECTRIC STARTER # ) (Bolt (chrome)) | | 17 шт | 220 руб. |
| 8 | 01550-06167-000 | Болт - Bolt (W/ELECTRIC STARTER # ) (Bolt) | | 9 шт | 210 руб. |
| 9 | 33500-07H00-000 | Колпачок свечи зажигания - Cap, Spark Plug (Cap, spark plug) | | под заказ | 3870 руб. |
| 10 | 09408-00159-000 | Струбцина - Clamp (Clamp) | | под заказ | 260 руб. |
| 11 | 33410-89L00-000 | Катушка зажигания - Coil, Ignition (Coil comp, ignition) | | под заказ | 7400 руб. |
| 11 | 33410-89L11-000 | (актуальный код замены) Катушка зажигания - Coil Comp, Ignition | | 2 шт | 8890 руб. |
| 12 | 01550-06307-000 | Болт - Bolt (Bolt # ) (Bolt (chrome)) | | 8 шт | 250 руб. |
| 13 | 33920-89L40-000 | Модуль контроля зажигания - Unit, Engine Control (W/ELECTRIC STARTER # ) (Unit, engine control) | | под заказ | 66240 руб. |
| 13 | 33920-89LL0-000 | (актуальный код замены) Модуль контроля зажигания - Unit, Engine Control | | под заказ | 66240 руб. |
| 13 | 33920-89L50-000 | Модуль контроля зажигания - Unit, Engine Control (W/MANUAL STARTER # ) (Unit, engine control) | | под заказ | 60000 руб. |
| 13 | 33930-89L50-000 | (актуальный код замены) Модуль контроля зажигания - Unit, Engine Control | | под заказ | 60000 руб. |
| 14 | 33925-89L00-000 | Подушка модуля управления двигателем - Cushion, Engine Control Unit (Cushion, engine control unit) | | 1 шт | 780 руб. |
| 15 | 38860-76F01-000 | Реле в сборе - Relay Assy (Relay, starting motor # W/ELECTRIC STARTER # ) (Реле стартера) | | 7 шт | 5000 руб. |
| 16 | 38915-90J00-000 | Держатель реле - Holder, Relay (W/ELECTRIC STARTER # ) (Держатель реле) | | 2 шт | 370 руб. |
| 17 | 09160-06168-000 | Шайба (6x14x1) - Washer (6x14x1) (Шайба) | | под заказ | 430 руб. |
Время выполнения запроса 10.452887058258 сек. |
|