Подобрать оригинальные запчасти на подвесной двигатель Suzuki модель 1995 года - Корпус вала передачи
вконтакте

Контактный телефон: +7 (981) 121-46-93, +7 (800) 200-90-76 , Email: parts-katalog@yandex.ru, где купить

 
 

  Логин:

Пароль:

Регистрация

www.partskatalog.ru Все каталоги Запчасти Mercury Запчасти Suzuki Запчасти Tohatsu Запчасти Honda Контакты



УВАЖАЕМЫЕ КЛИЕНТЫ!
C 19 ДЕКАБРЯ 2025 ПО 02 МАРТА 2026 ГОДА ОТДЕЛ ЗАПЧАСТЕЙ И СЕРВИС РАБОТАТЬ НЕ БУДУТ
ПРОДАЖА ЛОДОЧНЫХ МОТОРОВ В ШТАТНОМ РЕЖИМЕ
ОБ ИЗМЕНЕНИЯХ В ГРАФИКЕ РАБОТЫ ЧИТАЙТЕ НА САЙТА



назад Раздел:   вперёд

Вернуться к выбору узлов мотора


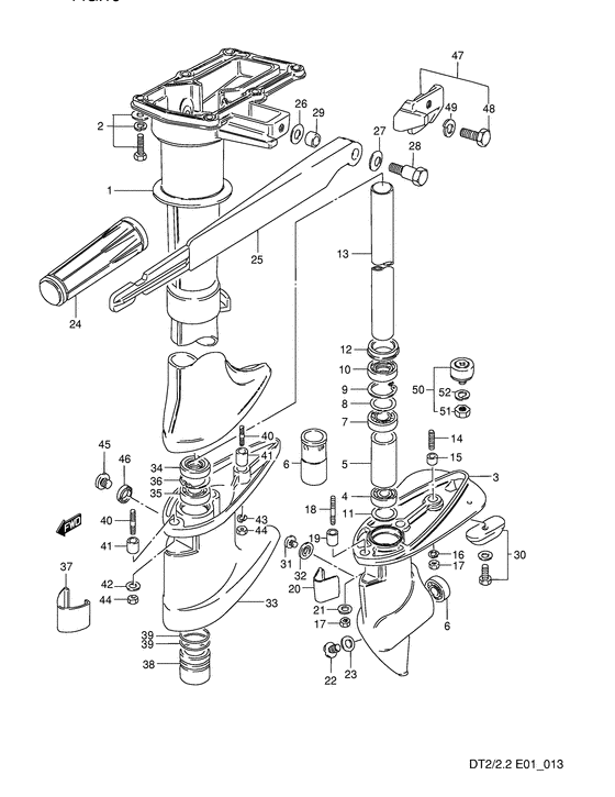
ДЕТАЛИРОВКА ДЛЯ МОДЕЛИ: SUZUKI DT2S(E1) S

Корпус вала передачи


Год выпуска двигателя: 1995

Регион: General Export No.1

Цвет: Серый (California Gray Metallic)

Номер на
рисунке
АртикулНаименованиеQTYКол-во
на складе
Цена
152111-98420-0ED

Корпус вала передачи (gray) - Housing, Drive Shaft (gray) (Housing, Drive Shaft (gray))

под заказ0 руб.
209118-06098-000

Болт (6x25) - Bolt (6x25) (Bolt (6x25);) (Bolt (6x25))

под заказ270 руб.
209118-06123-000

   (актуальный код замены) Болт (6x25) - Bolt (6x25)

под заказ270 руб.
209118-06123-000

Болт (6x25) - Bolt (6x25) (Bolt (6x25))

под заказ270 руб.
355110-98403-02M

(Case assy, gear (s); Model:86)

под заказнет сведений
309139-06049-000

Запчасть снята с производства - The Spare Part Is Laid Off (The Spare Part Is Laid Off)

под заказ0 руб.
309168-10022-000

Прокладка (10x17x1.5) - Gasket (10x17x15) (Gasket (10x17x1.5))

2205 шт150 руб.
355110-98440-0ED

Картер коробки передач (s) - Case, Gear (s) (Case assy, gear (s) ) (Case, Gear (s))

под заказ0 руб.
309168-06004-000

Прокладка (6.2x11x1.2) - Gasket (62x11x12) (Washer (6x11.8x1.5) ) (Gasket (6.2x11x1.2))

под заказ120 руб.
309248-10008-000

Заглушка (10x7.5) - Plug (10x75) (Plug (10x7.5))

120 шт500 руб.
309168-06004-000

Прокладка (6.2x11x1.2) - Gasket (62x11x12) (Washer (6x11.8x1.5) ) (Gasket (6.2x11x1.2))

под заказ120 руб.
309248-10008-000

Заглушка (10x7.5) - Plug (10x75) (Plug (10x7.5))

120 шт500 руб.
355110-98440-0ED

Картер коробки передач (s) - Case, Gear (s) (Case assy, gear (s) # Case assy, gear (s); Model:89~00, ) (Case, Gear (s))

под заказ0 руб.
355110-98411-02M

(Case assy, gear (l); F.no/676722~)

под заказнет сведений
309168-10022-000

Прокладка (10x17x1.5) - Gasket (10x17x15) (Gasket (10x17x1.5))

2205 шт150 руб.
309248-10008-000

Заглушка (10x7.5) - Plug (10x75) (Plug (10x7.5))

120 шт500 руб.
355110-98440-0ED

Картер коробки передач (s) - Case, Gear (s) (Case assy, gear (s) ) (Case, Gear (s))

под заказ0 руб.
309248-10008-000

Заглушка (10x7.5) - Plug (10x75) (Plug (10x7.5))

120 шт500 руб.
309248-10008-000

Заглушка (10x7.5) - Plug (10x75) (Plug (10x7.5))

120 шт500 руб.
355110-98411-01T

(Case assy, gear (l); F.no.676722~)

под заказнет сведений
309168-10022-000

Прокладка (10x17x1.5) - Gasket (10x17x15) (Gasket (10x17x1.5))

2205 шт150 руб.
309248-10008-000

Заглушка (10x7.5) - Plug (10x75) (Plug (10x7.5))

120 шт500 руб.
355110-98440-0ED

Картер коробки передач (s) - Case, Gear (s) (Case assy, gear (s) ) (Case, Gear (s))

под заказ0 руб.
309248-10008-000

Заглушка (10x7.5) - Plug (10x75) (Plug (10x7.5))

120 шт500 руб.
309248-10008-000

Заглушка (10x7.5) - Plug (10x75) (Plug (10x7.5))

120 шт500 руб.
355110-98450-0ED

(Case assy, gear (l); Model:89~96)

под заказнет сведений
309168-10022-000

Прокладка (10x17x1.5) - Gasket (10x17x15) (Gasket (10x17x1.5))

2205 шт150 руб.
309248-10008-000

Заглушка (10x7.5) - Plug (10x75) (Plug (10x7.5))

120 шт500 руб.
355110-98440-0ED

Картер коробки передач (s) - Case, Gear (s) (Case assy, gear (s) ) (Case, Gear (s))

под заказ0 руб.
409262-10015-000

Подшипник (10x26x8) - Bearing (10x26x8) (Bearing ) (Bearing (10x26x8))

под заказ1340 руб.
509180-19004-000

Запчасть снята с производства - The Spare Part Is Laid Off (Spacer (19x25.4x1.5); Transom:l) (The Spare Part Is Laid Off)

под заказ0 руб.
657133-98400-000

Проставка приводного вала Подшипник - Spacer, Drive Shaft Bearing (Transom:s ) (Spacer, Drive Shaft Bearing)

под заказ0 руб.
709262-12001-000

Подшипник (12x28x8) - Bearing (12x28x8) (Bearing (12x28x8); ) (Bearing (12x28x8))

11 шт1880 руб.
76001KOYO

   (подбор по маркировке) Подшипник KOYO 6001(12*28*8 мм)

под заказ0
709262-12022-000

Подшипник (12x28x8) - Bearing (12x28x8) (Model:98~00) (Bearing (12x28x8))

под заказ1720 руб.
709262-12001-000

   (актуальный код замены) Подшипник (12x28x8) - Bearing (12x28x8)

11 шт1880 руб.
76001KOYO

   (подбор по маркировке) Подшипник KOYO 6001(12*28*8 мм)

под заказ0
709262-12001-000

Подшипник (12x28x8) - Bearing (12x28x8) (Bearing (12x28x8))

11 шт1880 руб.
76001KOYO

   (подбор по маркировке) Подшипник KOYO 6001(12*28*8 мм)

под заказ0
808221-22283-000

Регулировочная шайба - Shim (Shim (t:0.1); ) (Shim)

под заказ150 руб.
808221-22284-000

Регулировочная шайба - Shim (Shim (t:0.2); ) (Shim)

под заказ150 руб.
809181-22130-000

Регулировочная шайба (22x28x0.5) - Shim (22x28x05) (Shim (t:0.5) # Shim (t:0.5); ) (Shim (22x28x0.5))

под заказ210 руб.
908331-41286-000

Стопорное кольцо - Circlip (Circlip)

под заказ170 руб.
908331-41289-000

   (актуальный код замены) Стопорное кольцо - Circlip

под заказ170 руб.
908331-41289-000

Стопорное кольцо - Circlip (Circlip)

под заказ170 руб.
1009289-12002-000

Сальник (12x28x8) - Seal, Oil (12x28x8) (Oil seal (12x28x8) # Oil seal (12x28x8); ) (Seal, Oil (12x28x8))

33 шт970 руб.
1109181-20130-000

Регулировочная шайба (20x26x0.5) - Shim (20x26x05) (Shim (20x26x0.5) # Shim (20x26x0.5); ) (Shim (20x26x0.5))

под заказ0 руб.
1209320-20009-000

Втулка - Bush (Bushing, seal pipe # Bushing, seal pipe; ) (Bush)

4 шт240 руб.
1357151-98400-000

Трубка, Корпус вала передачи Сальник - Pipe, Drive Shaft Seal (Pipe, Drive Shaft Seal)

под заказ4590 руб.
1409108-06062-000

Болт под шпильку - Bolt, Stud (Stud bolt (6x12) # Stud bolt (6x12); ) (Bolt, Stud)

под заказ180 руб.
1509206-09007-000

Запчасть снята с производства - The Spare Part Is Laid Off (Pin (9x5);) (The Spare Part Is Laid Off)

под заказ0 руб.
1609162-06006-000

Шайба с блокировкой - Washer, Lock (Lock washer ) (Washer, Lock)

под заказ160 руб.
1709140-06020-000

Гайка - Nut (Nut)

9 шт150 руб.
1809108-06063-000

Болт под шпильку - Bolt, Stud (Stud bolt (6x20) # Stud bolt (6x20); ) (Bolt, Stud)

под заказ380 руб.
1909206-09001-000

Штифт (6.4x9x10) - Pin (64x9x10) (Pin (9x10) # Pin (9x10); ) (Pin (6.4x9x10))

под заказ0 руб.
2055112-98401-0ED

Крышка картера коробки передач Болт - Cover, Gear Case Bolt (Cover, Gear Case Bolt)

под заказ0 руб.
2109160-06082-000

Шайба (6.5x13x1.0) - Washer (65x13x10) (Washer (6.5x16x2.3); ) (Washer (6.5x13x1.0))

7 шт150 руб.
2209139-06049-000

Запчасть снята с производства - The Spare Part Is Laid Off (Model:86, 87) (The Spare Part Is Laid Off)

под заказ0 руб.
2209248-10008-000

Заглушка (10x7.5) - Plug (10x75) (Plug, drain; Model:88~00, ) (Plug (10x7.5))

120 шт500 руб.
2309168-06004-000

Прокладка (6.2x11x1.2) - Gasket (62x11x12) (Washer (6x11.8x1.5) # Model:86, 87, ) (Gasket (6.2x11x1.2))

под заказ120 руб.
2309168-10022-000

Прокладка (10x17x1.5) - Gasket (10x17x15) (Gasket (10x17x2); Model:88~00 ) (Gasket (10x17x1.5))

2205 шт150 руб.
2463211-98400-000

Рукоятка румпеля - Grip, Handle (Grip, handle # Grip, handle; ) (Grip, Handle)

под заказ1070 руб.
2563111-98403-0ED

Ручка румпеля (gray) - Handle, Tiller (gray) (Handle, Tiller (gray))

под заказ0 руб.
2609160-08081-000

Шайба (8.5x23x1.5) - Washer (85x23x15) (Washer, clutch lever ) (Washer (8.5x23x1.5))

4 шт210 руб.
2709164-10006-000

Шайба - Washer (Washer)

под заказ240 руб.
2809111-08070-000

Болт (8x35) - Bolt (8x35) (Bolt (8x35))

8 шт1010 руб.
2909306-10009-000

Втулка - Bush (Bushing; ) (Bush)

под заказ170 руб.
3055320-98400-000

Zinc, Protection - Zinc, Protection (Model:90~900 ) (Zinc, Protection)

под заказ0 руб.
3109139-06049-000

Запчасть снята с производства - The Spare Part Is Laid Off (Screw, oil level; Model:86, 87) (The Spare Part Is Laid Off)

под заказ0 руб.
3109248-10008-000

Заглушка (10x7.5) - Plug (10x75) (Plug, drain; Model:88~00, type:s, ) (Plug (10x7.5))

120 шт500 руб.
3209168-06004-000

Прокладка (6.2x11x1.2) - Gasket (62x11x12) (Washer (6x11.8x1.5) # Gasket, oil level; Model:86, 87, ) (Gasket (6.2x11x1.2))

под заказ120 руб.
3209168-10022-000

Прокладка (10x17x1.5) - Gasket (10x17x15) (Gasket, oil level; Model:88~00, type:s ) (Gasket (10x17x1.5))

2205 шт150 руб.
3352130-98401-0ED

Запчасть снята с производства - The Spare Part Is Laid Off (Case, extension (l);) (The Spare Part Is Laid Off)

под заказ0 руб.
3409289-12002-000

Сальник (12x28x8) - Seal, Oil (12x28x8) (Oil seal (12x28x8) # Oil seal; ) (Seal, Oil (12x28x8))

33 шт970 руб.
3509262-12001-000

Подшипник (12x28x8) - Bearing (12x28x8) (Bearing (12x28x8))

11 шт1880 руб.
356001KOYO

   (подбор по маркировке) Подшипник KOYO 6001(12*28*8 мм)

под заказ0
3608331-41286-000

Стопорное кольцо - Circlip (Circlip)

под заказ170 руб.
3608331-41289-000

   (актуальный код замены) Стопорное кольцо - Circlip

под заказ170 руб.
3608331-41289-000

Стопорное кольцо - Circlip (Circlip)

под заказ170 руб.
3752133-98401-0ED

Крышка, Удлинение корпуса Болт - Cover, Extension Case Bolt (Cover, Extension Case Bolt)

под заказ0 руб.
3852132-98400-000

Воротник, Удлинение корпуса - Collar, Extension Case (Collar, Extension Case)

под заказ0 руб.
3909280-25005-000

Уплотнительное кольцо (d: 1.9, Id: 24.5) - O Ring (d:19, Id:245) (O ring (d:1.9 id:24.5); ) (O Ring (d:1.9, Id:24.5))

под заказ200 руб.
4009108-06068-000

Болт под шпильку - Bolt, Stud (Bolt, Stud)

под заказ340 руб.
4109206-09010-000

Запчасть снята с производства - The Spare Part Is Laid Off (The Spare Part Is Laid Off)

под заказ0 руб.
4209160-06082-000

Шайба (6.5x13x1.0) - Washer (65x13x10) (Washer (6.5x13x1.0))

7 шт150 руб.
4309162-06006-000

Шайба с блокировкой - Washer, Lock (Lock washer ) (Washer, Lock)

под заказ160 руб.
4409140-06020-000

Гайка - Nut (Nut)

9 шт150 руб.
4509248-10008-000

Заглушка (10x7.5) - Plug (10x75) (Plug; ) (Plug (10x7.5))

120 шт500 руб.
4609168-10022-000

Прокладка (10x17x1.5) - Gasket (10x17x15) (Gasket (10x17x1.5))

2205 шт150 руб.
4752120-98400-0ED

Соединитель, Румпель (gray) - Attachment, Tiller Handle (gray) (Attachment, tiller handle # Attachment, tiller handle; Opt ) (Attachment, Tiller Handle (gray))

под заказ0 руб.
4809100-08219-000

Болт (8x22) - Bolt (8x22) (Bolt (8x22) # Opt ) (Bolt (8x22))

под заказ0 руб.
4909162-08007-000

Шайба с блокировкой - Washer, Lock (Lock washer # Opt ) (Washer, Lock)

под заказ160 руб.
5055300-98400-000

Запчасть снята с производства - The Spare Part Is Laid Off (Opt) (The Spare Part Is Laid Off)

под заказ0 руб.
5109140-06020-000

Гайка - Nut (Opt ) (Nut)

9 шт150 руб.
5209162-06006-000

Шайба с блокировкой - Washer, Lock (Lock washer # Opt ) (Washer, Lock)

под заказ160 руб.


Время выполнения запроса 4.0426738262177 сек.

 
 

данный сайт носит информационный характер и не является публичной офертой

склад запчастей для водомоторной техники