| |
 |
|
 |
Вернуться к выбору узлов мотора
ДЕТАЛИРОВКА ДЛЯ МОДЕЛИ: SUZUKI DT4Y(E1) Y
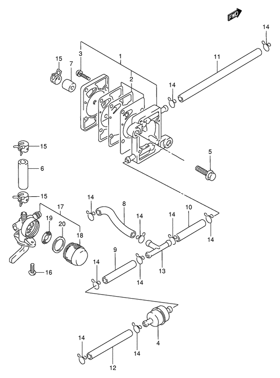
Топливный насос
Год выпуска двигателя: 2000
Регион: General Export No.1 ,Код региона: P01
Цвет: Francois Whte №2,Arctic Silver,Black,Pure White,California Gray Metallic,California Gray,Pearl Still White,Marrone Beige №2,Gold (Tape)
Номер на рисунке | Артикул | Наименование | QTY | Кол-во на складе | Цена |
| 1 | 15100-98610-000 | Топливный насос, в сборе - Pump Assy, Fuel (Pump Assy, Fuel) | | 1 шт | 10280 руб. |
| 2 | 15170-98110-000 | Диафрагма Set, Топливный насос - Diaphragm Set, Fuel Pump (Diaphragm set, fuel pump # Diaphragm, fuel pump; ) (Diaphragm Set, Fuel Pump) | | 2 шт | 5140 руб. |
| 2 | SK15170-98110 | (не оригинальный аналог) Ремкомплект топливного насоса Skipper для Suzuki DT4-8 | | 0 шт | 371 руб. |
| 2 | SC-CR366 | (не оригинальный аналог) Ремкомплект топливного насоса Suzuki SC-CR366 | | под заказ | 670 руб. |
| 3 | 15251-98101-000 | Винт, Топливный насос - Screw, Fuel Pump (Screw, Fuel Pump) | | под заказ | 0 руб. |
| 4 | 15410-98500-000 | Топливный фильтр - Filter, Fuel (Filter assy, fuel # Filter, fuel; ) (Filter, Fuel) | | 40 шт | 1600 руб. |
| 4 | 15410-98500 | (не оригинальный аналог) Топливный фильтр Suzuki 15410-98500 | | под заказ | 590 руб. |
| 5 | 09103-06048-000 | Болт (6x20) - Bolt (6x20) (Bolt (6x20); ) (Bolt (6x20)) | | под заказ | 180 руб. |
| 6 | 09354-53103-600 | Шланг (5.3x10.5x600) - Hose (53x105x600) (Hose (conn to filter) # Hose (tank to kock); L:600->0 ) (Hose (5.3x10.5x600)) | | под заказ | 1160 руб. |
| 6 | 09355-53001-600 | (актуальный код замены) Шланг (5.3x10.5x600) - Hose (5.3x10.5x600) | | под заказ | 1160 руб. |
| 7 | 09355-54115-600 | Шланг (5.4x11.4x600) - Hose (54x114x600) (Hose, vacuum # Hose (vacuum); L:600->1 ) (Hose (5.4x11.4x600)) | | под заказ | 1180 руб. |
| 8 | 09352-50903-600 | Шланг (5x9x600) - Hose (5x9x600) (Hose (cock to elb); L:600->5 ) (Hose (5x9x600)) | | под заказ | 570 руб. |
| 8 | 09352-50006-600 | (актуальный код замены) Шланг (5x9x600) - Hose (5x9x600) | | 1 шт | 570 руб. |
| 9 | 09352-50903-600 | Шланг (5x9x600) - Hose (5x9x600) (Hose (filter to elb); L:600->00 ) (Hose (5x9x600)) | | под заказ | 570 руб. |
| 9 | 09352-50006-600 | (актуальный код замены) Шланг (5x9x600) - Hose (5x9x600) | | 1 шт | 570 руб. |
| 10 | 09352-50903-600 | Шланг (5x9x600) - Hose (5x9x600) (Hose (elb to pump); L:600->25 ) (Hose (5x9x600)) | | под заказ | 570 руб. |
| 10 | 09352-50006-600 | (актуальный код замены) Шланг (5x9x600) - Hose (5x9x600) | | 1 шт | 570 руб. |
| 11 | 09352-50903-600 | Шланг (5x9x600) - Hose (5x9x600) (Hose (pump to carb); L:600->30 ) (Hose (5x9x600)) | | под заказ | 570 руб. |
| 11 | 09352-50006-600 | (актуальный код замены) Шланг (5x9x600) - Hose (5x9x600) | | 1 шт | 570 руб. |
| 12 | 09352-50903-600 | Шланг (5x9x600) - Hose (5x9x600) (Hose (conn to filter); L:600->10 ) (Hose (5x9x600)) | | под заказ | 570 руб. |
| 12 | 09352-50006-600 | (актуальный код замены) Шланг (5x9x600) - Hose (5x9x600) | | 1 шт | 570 руб. |
| 13 | 09367-06002-000 | Соединитель тройника - Joint, 3 Way (3 way ) (Joint, 3 Way) | | под заказ | 220 руб. |
| 14 | 09401-08410-000 | Зажим - Clip (Clip) | | под заказ | 130 руб. |
| 15 | 09401-10409-000 | Зажим - Clip (Clip) | | под заказ | 170 руб. |
| 16 | 02142-04127-000 | Винт - Screw (Screw) | | под заказ | 110 руб. |
| 17 | 66100-98600-000 | Топливный кран в сборе - Cock Assy, Fuel (Cock assy, fuel ) (Cock Assy, Fuel) | | под заказ | 3960 руб. |
| 17 | 66100-98601-000 | (актуальный код замены) Топливный кран в сборе - Cock Assy, Fuel | | под заказ | 3960 руб. |
| 18 | 66171-98301-000 | Чаша фильтра - Cup, Filter (Cup, filter; ) (Cup, Filter) | | под заказ | 520 руб. |
| 19 | 66152-98300-000 | Net, Фильтр - Net, Filter (Net, filter; ) (Net, Filter) | | 2 шт | 180 руб. |
| 20 | 66273-98300-000 | Прокладка, Топливный фильтр Cвыше - Gasket, Fuel Filter Cup (Gasket, filter; ) (Gasket, Fuel Filter Cup) | | под заказ | 200 руб. |
| 20 | 66273-98301-000 | (актуальный код замены) Прокладка, Топливный фильтр Cвыше - Gasket, Fuel Filter Cup | | 1 шт | 200 руб. |
Время выполнения запроса 1.3086068630219 сек. |
|