Купить запчасти на подвесной лодочный двигатель Suzuki модель 1986 года - Lower cover
вконтакте

Контактный телефон: +7 (981) 121-46-93, +7 (800) 200-90-76 , Email: parts-katalog@yandex.ru, где купить

 
 

  Логин:

Пароль:

Регистрация

www.partskatalog.ru Все каталоги Запчасти Mercury Запчасти Suzuki Запчасти Tohatsu Запчасти Honda Контакты



УВАЖАЕМЫЕ КЛИЕНТЫ!
C 19 ДЕКАБРЯ 2025 ПО 02 МАРТА 2026 ГОДА ОТДЕЛ ЗАПЧАСТЕЙ И СЕРВИС РАБОТАТЬ НЕ БУДУТ
ПРОДАЖА ЛОДОЧНЫХ МОТОРОВ В ШТАТНОМ РЕЖИМЕ
ОБ ИЗМЕНЕНИЯХ В ГРАФИКЕ РАБОТЫ ЧИТАЙТЕ НА САЙТА



назад Раздел:   вперёд

Вернуться к выбору узлов мотора


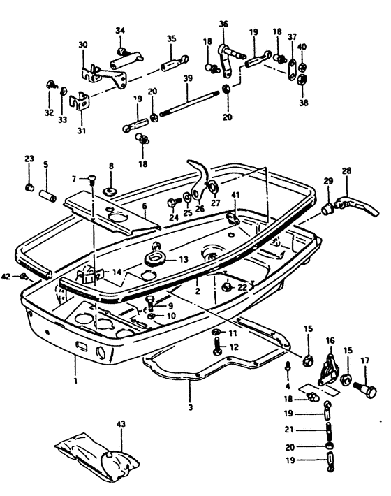
ДЕТАЛИРОВКА ДЛЯ МОДЕЛИ: SUZUKI DT25G(G/J/VZ) G

Нижняя часть корпуса


Год выпуска двигателя: 1986

Регион: General Export No.1 ,Код региона: P01

Номер на
рисунке
АртикулНаименованиеQTYКол-во
на складе
Цена
161110-93400-01J

(To 61110-93401-01j, model g)

под заказ0 руб.
161110-93401-01J

   (актуальный код замены) Запчасть снята с производства - The Spare Part Is Laid Off

под заказ0 руб.
161110-93401-01J

под заказ0 руб.
261112-93000-000

(To 61112-93400, model g)

под заказ0 руб.
261112-93400-000

   (актуальный код замены) Запчасть снята с производства - The Spare Part Is Laid Off

под заказ0 руб.
261112-93400-000

(Rubber, lower cover; 2501-001001~, 2502-001003~)

под заказ0 руб.
361113-93000-000

под заказ0 руб.
409229-03007-000

(Rivet, cover seal;)

под заказ0 руб.
561118-93400-000

(8x12x33.5, model g)

под заказ0 руб.
561118-93401-000

   (актуальный код замены) Запчасть снята с производства - The Spare Part Is Laid Off

под заказ0 руб.
661121-93400-01J

под заказ0 руб.
702112-04108-000

Винт - Screw (Screw)

под заказ120 руб.
702112-04107-000

   (актуальный код замены) Винт - Screw

под заказ120 руб.
702112-04107-000

Винт - Screw (Screw)

под заказ120 руб.
809250-12001-000

Колпачок (od: 20) - Cap (od:20) (Cap (od:20))

под заказ220 руб.
909100-06020-000

Болт (6x20) - Bolt (6x20) (Bolt (6x20))

под заказ0 руб.
909100-06122-000

   (актуальный код замены) Запчасть снята с производства - The Spare Part Is Laid Off

под заказ0 руб.
909100-06122-000

Болт (6x20) - Bolt (6x20) (Bolt (6x20))

под заказ0 руб.
1009162-06001-000

Шайба с блокировкой - Washer, Lock (Washer, Lock)

под заказ160 руб.
1009162-06006-000

   (актуальный код замены) Шайба с блокировкой - Washer, Lock

под заказ160 руб.
1009162-06006-000

Шайба с блокировкой - Washer, Lock (Lock washer ) (Washer, Lock)

под заказ160 руб.
1109162-08003-000

Шайба с блокировкой - Washer, Lock (Washer, Lock)

под заказ160 руб.
1109162-08007-000

   (актуальный код замены) Шайба с блокировкой - Washer, Lock

под заказ160 руб.
1109162-08007-000

Шайба с блокировкой - Washer, Lock (Lock washer ) (Washer, Lock)

под заказ160 руб.
1209100-08112-000

Болт (8x30) - Bolt (8x30) (Bolt (8x30))

под заказ350 руб.
1209100-08232-000

   (актуальный код замены) Болт (8x30) - Bolt (8x30)

6 шт350 руб.
1209100-08232-000

Болт (8x30) - Bolt (8x30) (Bolt (8x30))

6 шт350 руб.
1309308-12007-000

Пыльник - Grommet (Grommet, inter lock rod # Grommet, lower cover; ) (Grommet)

под заказ0 руб.
1419174-93400-000

под заказ0 руб.
1419174-93401-000

   (актуальный код замены) Запчасть снята с производства - The Spare Part Is Laid Off

под заказ0 руб.
1509306-12005-000

под заказ0 руб.
1619171-93400-01J

под заказ0 руб.
1709111-08038-000

под заказ0 руб.
1809119-06047-000

Стержень - Pivot (Pivot, ball # Ball, pivot from 09119-06039; ) (Pivot)

21 шт520 руб.
1967463-95200-000

Коннектор тяги управления дросселем - Connector, Throttle Control (Connector, throttle rod # Connector, throttle; ) (Connector, Throttle Control)

под заказ340 руб.
2009140-05001-000

Гайка - Nut (Model g/vz) (Nut)

под заказ220 руб.
2009140-05005-000

   (актуальный код замены) Гайка - Nut

10 шт270 руб.
2009140-05005-000

Гайка - Nut (Nut)

10 шт270 руб.
2008310-11058-000

Гайка - Nut (Model j) (Nut)

под заказ140 руб.
2008310-00057-000

   (актуальный код замены) Гайка - Nut

под заказ140 руб.
2008310-00057-000

Гайка - Nut (Nut)

под заказ140 руб.
2119179-93400-000

под заказ0 руб.
2209250-08003-000

Подушка - Cushion (Cushion)

под заказ150 руб.
2209321-08025-000

   (актуальный код замены) Подушка - Cushion

под заказ150 руб.
2209321-08005-000

Подушка - Cushion (Cushion, fuel hose guard ) (Cushion)

под заказ150 руб.
2209321-08025-000

   (актуальный код замены) Подушка - Cushion

под заказ150 руб.
2401107-06108-000

Болт - Bolt (Bolt)

под заказ150 руб.
2401500-06107-000

   (актуальный код замены) Болт - Bolt

под заказ150 руб.
2401500-06107-000

Болт - Bolt (Bolt)

под заказ150 руб.
2508322-21068-000

Шайба - Washer (Washer)

под заказ140 руб.
2508322-01067-000

   (актуальный код замены) Шайба - Washer

10 шт160 руб.
2508322-01067-000

Шайба - Washer (Washer)

10 шт160 руб.
2661631-96001-000

под заказ0 руб.
2709164-13001-000

Шайба - Washer (Washer)

под заказ310 руб.
2709164-13005-000

   (актуальный код замены) Шайба - Washer

под заказ310 руб.
2709164-13005-000

Шайба - Washer (Washer)

под заказ310 руб.
2709164-13005-000

Шайба - Washer (Washer, wave; Stainless steel ) (Washer)

под заказ310 руб.
2861633-96002-01J

Рычаг, Крючок - Lever, Hook (Lever, Hook)

под заказ13880 руб.
2861633-93930-0ED

   (актуальный код замены) Рычаг, Крючок - Lever, Hook

под заказ13880 руб.
2861633-93930-0ED

Рычаг, Крючок - Lever, Hook (Lever, Hook)

под заказ13880 руб.
2909306-13002-000

Втулка - Bush (Bush)

под заказ290 руб.
2909306-13007-000

   (актуальный код замены) Втулка - Bush

9 шт290 руб.
2909306-13007-000

Втулка - Bush (Bush)

9 шт290 руб.
3067340-93400-000

(Holder, remote control;)

под заказ0 руб.
3167341-93400-000

Держатель кабеля дистанционного управления - Holder, Remocon Cable (Holder, Remocon Cable)

под заказ1680 руб.
3167341-93401-000

   (актуальный код замены) Держатель кабеля дистанционного управления - Holder, Remocon Cable

под заказ1680 руб.
3167341-93401-000

Держатель кабеля дистанционного управления - Holder, Remocon Cable (Holder, Remocon Cable)

под заказ1680 руб.
3209100-06019-000

Болт - Bolt (Bolt)

под заказ180 руб.
3201550-06167-000

   (актуальный код замены) Болт - Bolt

9 шт210 руб.
3201550-06167-000

Болт - Bolt (Bolt)

9 шт210 руб.
3309162-06001-000

Шайба с блокировкой - Washer, Lock (Washer, Lock)

под заказ160 руб.
3309162-06006-000

   (актуальный код замены) Шайба с блокировкой - Washer, Lock

под заказ160 руб.
3309162-06006-000

Шайба с блокировкой - Washer, Lock (Lock washer ) (Washer, Lock)

под заказ160 руб.
3467440-93701-000

Направляющая тросика сцепления - Guide, Clutch Cable (Guide, clutch cable # Guide, clutch cable; ) (Guide, Clutch Cable)

7 шт2740 руб.
3567466-95200-000

Коннектор - Connector (Connector, throttle cable # Connector, cable; ) (Connector)

18 шт560 руб.
3667410-93401-01J

под заказ0 руб.
3667410-93402-000

   (актуальный код замены) Запчасть снята с производства - The Spare Part Is Laid Off

под заказ0 руб.
3767417-93400-000

под заказ0 руб.
3809140-08003-000

Гайка - Nut (Nut)

под заказ190 руб.
3809140-08016-000

   (актуальный код замены) Гайка - Nut

под заказ190 руб.
3809140-08023-XC0

Гайка - Nut (Nut)

14 шт190 руб.
3967413-93400-000

под заказ0 руб.
4009140-06004-000

Гайка - Nut (Nut)

под заказ150 руб.
4009140-06020-000

   (актуальный код замены) Гайка - Nut

9 шт150 руб.
4009140-06020-000

Гайка - Nut (Nut)

9 шт150 руб.
4309800-00805-000

Набор инструмента - Tool Assy (To 09800-81800) (Tool Assy)

под заказ3120 руб.
4309800-01016-000

   (актуальный код замены) Набор инструмента - Tool Assy

под заказ3120 руб.
4309800-01001-000

Набор инструмента - Tool Assy (Tool Assy)

под заказ3120 руб.
4309800-01016-000

   (актуальный код замены) Набор инструмента - Tool Assy

под заказ3120 руб.
4309800-81800-000

Набор инструмента - Tool Assy (Tool Assy)

под заказ3120 руб.
4309800-01016-000

   (актуальный код замены) Набор инструмента - Tool Assy

под заказ3120 руб.


Время выполнения запроса 2.9899580478668 сек.

 
 

данный сайт носит информационный характер и не является публичной офертой

склад запчастей для водомоторной техники