Купить комплектующие на подвесной мотор Suzuki модель 1984 года - Водяной насос
вконтакте

Контактный телефон: +7 (981) 121-46-93, +7 (800) 200-90-76 , Email: parts-katalog@yandex.ru, где купить

 
 

  Логин:

Пароль:

Регистрация

www.partskatalog.ru Все каталоги Запчасти Mercury Запчасти Suzuki Запчасти Tohatsu Запчасти Honda Контакты



УВАЖАЕМЫЕ КЛИЕНТЫ!
C 19 ДЕКАБРЯ 2025 ПО 02 МАРТА 2026 ГОДА ОТДЕЛ ЗАПЧАСТЕЙ И СЕРВИС РАБОТАТЬ НЕ БУДУТ
ПРОДАЖА ЛОДОЧНЫХ МОТОРОВ В ШТАТНОМ РЕЖИМЕ
ОБ ИЗМЕНЕНИЯХ В ГРАФИКЕ РАБОТЫ ЧИТАЙТЕ НА САЙТА



назад Раздел:   вперёд

Вернуться к выбору узлов мотора


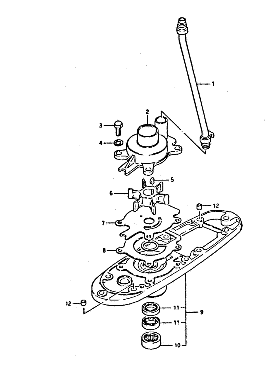
ДЕТАЛИРОВКА ДЛЯ МОДЕЛИ: SUZUKI DT50TVE(E) E

Водяной насос


Год выпуска двигателя: 1984

Номер на
рисунке
АртикулНаименованиеQTYКол-во
на складе
Цена
117560-95500-000

Водяная трубка (l) - Tube, Water (l) (L type) (Tube, Water (l))

под заказ0 руб.
117560-95503-000

   (актуальный код замены) Запчасть снята с производства - The Spare Part Is Laid Off

под заказ0 руб.
117560-95502-000

Водяная трубка (l) - Tube, Water (l) (Tube, Water (l))

под заказ0 руб.
117560-95503-000

   (актуальный код замены) Запчасть снята с производства - The Spare Part Is Laid Off

под заказ0 руб.
117560-95510-000

Водяная трубка (s) - Tube, Water (s) (S type) (Tube, Water (s))

под заказ13780 руб.
117560-95512-000

   (актуальный код замены) Водяная трубка (s) - Tube, Water (s)

под заказ13780 руб.
117560-95511-000

Водяная трубка (s) - Tube, Water (s) (Tube, Water (s))

под заказ13780 руб.
117560-95512-000

   (актуальный код замены) Водяная трубка (s) - Tube, Water (s)

под заказ13780 руб.
117560-95220-000

Водяная трубка (ll) - Tube, Water (ll) (Ll type) (Tube, Water (ll))

под заказ0 руб.
117560-95223-000

   (актуальный код замены) Запчасть снята с производства - The Spare Part Is Laid Off

под заказ0 руб.
117560-95222-000

Водяная трубка (ll) - Tube, Water (ll) (Tube, water (ll) ) (Tube, Water (ll))

под заказ0 руб.
117560-95223-000

   (актуальный код замены) Запчасть снята с производства - The Spare Part Is Laid Off

под заказ0 руб.
117560-95261-000

Водяная трубка (ul) - Tube, Water (ul) (Ul type) (Tube, Water (ul))

под заказ0 руб.
117560-95263-000

   (актуальный код замены) Запчасть снята с производства - The Spare Part Is Laid Off

под заказ0 руб.
117560-95263-000

Водяная трубка (ul) - Tube, Water (ul) (Tube, Water (ul))

под заказ0 руб.
217411-95204-000

под заказ0 руб.
209140-08019-000

Гайка - Nut (Nut)

под заказ160 руб.
217411-95206-000

Корпус водяного насоса - Case, Water Pump (Case, water pump ) (Case, Water Pump)

под заказ0 руб.
217410-95211-000

(E40, te40)

под заказ0 руб.
209140-08019-000

Гайка - Nut (Nut)

под заказ160 руб.
217410-95213-000

Запчасть снята с производства - The Spare Part Is Laid Off (The Spare Part Is Laid Off)

под заказ0 руб.
309100-08139-000

Болт (8x22) - Bolt (8x22) (Bolt (8x22))

под заказ0 руб.
309100-08219-000

   (актуальный код замены) Запчасть снята с производства - The Spare Part Is Laid Off

под заказ0 руб.
309100-08219-000

Болт (8x22) - Bolt (8x22) (Bolt (8x22) ) (Bolt (8x22))

под заказ0 руб.
409162-08003-000

Шайба с блокировкой - Washer, Lock (Washer, Lock)

под заказ160 руб.
409162-08007-000

   (актуальный код замены) Шайба с блокировкой - Washer, Lock

под заказ160 руб.
409162-08007-000

Шайба с блокировкой - Washer, Lock (Lock washer ) (Washer, Lock)

под заказ160 руб.
509420-04005-000

Ключ - Key (Key)

под заказ3560 руб.
617461-95501-000

Крыльчатка водяного насоса - Impeller, Water Pump (Impeller, Water Pump)

под заказ4010 руб.
617461-95302-000

   (актуальный код замены) Крыльчатка водяного насоса - Impeller, Water Pump

под заказ4010 руб.
617461-95302-000

Крыльчатка водяного насоса - Impeller, Water Pump (Impeller, Water Pump)

под заказ4010 руб.
717471-95503-000

Панель в нижней части корпуса помпы - Panel, Pump Case Under (Panel, Pump Case Under)

под заказ0 руб.
717471-95504-000

   (актуальный код замены) Запчасть снята с производства - The Spare Part Is Laid Off

под заказ0 руб.
717471-95504-000

Панель в нижней части корпуса помпы - Panel, Pump Case Under (Panel, under ) (Panel, Pump Case Under)

под заказ0 руб.
817472-95310-000

Прокладка пластины водяного насоса - Gasket, Water Pump Plate (Gasket, panel # Gasket, panel; ) (Gasket, Water Pump Plate)

под заказ320 руб.
956130-95300-02M

Запчасть снята с производства - The Spare Part Is Laid Off (The Spare Part Is Laid Off)

под заказ0 руб.
956130-95302-0ED

   (актуальный код замены) Запчасть снята с производства - The Spare Part Is Laid Off

под заказ0 руб.
956130-95302-0ED

Запчасть снята с производства - The Spare Part Is Laid Off (The Spare Part Is Laid Off)

под заказ0 руб.
1009263-25025-000

Подшипник (25x33x15) - Bearing (25x33x15) (Bearing, driveshaft # Bearing (25*33*15); ) (Bearing (25x33x15))

24 шт3080 руб.
10SK09263-25025

   (не оригинальный аналог) Подшипник игольчатый помпы охлаждения Skipper для Suzuki DT40-85, DF40-50

0 шт1125 руб.
10HMK2515NTN

   (подбор по маркировке) Подшипник NTN HMK 2515(25*33*15 мм)

под заказ0
1109282-20006-000

Сальник (32x20x5) - Seal, Oil (32x20x5) (Seal, Oil (32x20x5))

под заказ700 руб.
1109282-20008-000

   (актуальный код замены) Сальник (32x20x5) - Seal, Oil (32x20x5)

под заказ700 руб.
1109282-20008-000

Сальник (32x20x5) - Seal, Oil (32x20x5) (Oil seal ) (Seal, Oil (32x20x5))

под заказ700 руб.
1209205-11001-000

Штифт (8.4x11x14) - Pin (84x11x14) (Pin (8.4x11x14))

под заказ410 руб.
1209206-11004-000

   (актуальный код замены) Штифт (8.4x11x14) - Pin (8.4x11x14)

под заказ410 руб.
1209206-11004-000

Штифт (8.4x11x14) - Pin (84x11x14) (Pin, gear case no.2 ) (Pin (8.4x11x14))

под заказ410 руб.


Время выполнения запроса 2.1901569366455 сек.

 
 

данный сайт носит информационный характер и не является публичной офертой

склад запчастей для водомоторной техники