Подобрать оригинальные запчасти на двигатель Suzuki модель 1988 года - Inlet case - вход case
вконтакте

Контактный телефон: +7 (981) 121-46-93, +7 (800) 200-90-76 , Email: parts-katalog@yandex.ru, где купить

 
 

  Логин:

Пароль:

Регистрация

www.partskatalog.ru Все каталоги Запчасти Mercury Запчасти Suzuki Запчасти Tohatsu Запчасти Honda Контакты



УВАЖАЕМЫЕ КЛИЕНТЫ!
C 19 ДЕКАБРЯ 2025 ПО 02 МАРТА 2026 ГОДА ОТДЕЛ ЗАПЧАСТЕЙ И СЕРВИС РАБОТАТЬ НЕ БУДУТ
ПРОДАЖА ЛОДОЧНЫХ МОТОРОВ В ШТАТНОМ РЕЖИМЕ
ОБ ИЗМЕНЕНИЯХ В ГРАФИКЕ РАБОТЫ ЧИТАЙТЕ НА САЙТА



назад Раздел:   вперёд

Вернуться к выбору узлов мотора


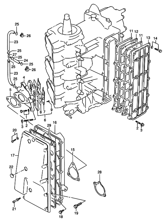
ДЕТАЛИРОВКА ДЛЯ МОДЕЛИ: SUZUKI DT55HTCL J

вход case


Год выпуска двигателя: 1988

Номер на
рисунке
АртикулНаименованиеQTYКол-во
на складе
Цена
101550-06307-000

Болт - Bolt (Bolt)

8 шт250 руб.
201421-06257-000

Болт под шпильку - Bolt, Stud (Stud bolt ) (Bolt, Stud)

под заказ190 руб.
308316-10067-000

Гайка - Nut (Nut)

под заказ170 руб.
413110-94701-0ED

Case, вход (gray) - Case, Inlet (gray) (DT65, <-3110-94700-0ED ) (Case, Inlet (gray))

под заказ0 руб.
413110-94711-0ED

Запчасть снята с производства - The Spare Part Is Laid Off (DT55, <-3110-94710-02M) (The Spare Part Is Laid Off)

под заказ0 руб.
513125-93010-000

Прокладка карбюратора - Gasket, Carburetor (Gasket, carburetor # DT55, <-3125-93000 ) (Gasket, Carburetor)

11 шт470 руб.
5SM-13125-93010-000

   (не оригинальный аналог) Прокладка SM-13125-93010-000 карбюратора

1 шт100 руб.
513125-95210-000

Прокладка карбюратора - Gasket, Carburetor (Gasket, carburetor # DT65, <-3125-95200 ) (Gasket, Carburetor)

7 шт480 руб.
613150-94720-000

Язычковый клапан, в сборе - Valve Assy, Reed (<-3150-94700 ) (Valve Assy, Reed)

под заказ0 руб.
713152-94720-000

Запчасть снята с производства - The Spare Part Is Laid Off (<-3152-94700) (The Spare Part Is Laid Off)

под заказ0 руб.
813153-94700-000

Язычковый клапан - Valve, Reed (Valve, Reed)

под заказ1250 руб.
902112-33063-000

Винт - Screw (Screw)

под заказ140 руб.
902112-3306A-000

   (актуальный код замены) Винт - Screw

под заказ140 руб.
902112-3306A-000

Винт - Screw (Screw)

под заказ140 руб.
1114151-94712-000

Прокладка кожуха выхлопной трубы - Gasket, Exhaust Cover (Gasket, exhaust cover # <-4151-94711 ) (Gasket, Exhaust Cover)

под заказ0 руб.
1214131-94701-000

Пластина, Выхлоп - Plate, Exhaust (Plate, exhaust cover # <-4131-94700 ) (Plate, Exhaust)

под заказ0 руб.
1314141-94700-0ED

Выхлопная крышка - Cover, Exhaust (<-4141-94700-02M ) (Cover, Exhaust)

под заказ0 руб.
1401550-06307-000

Болт - Bolt (Bolt)

8 шт250 руб.
1513855-93310-000

Прокладка, Глушитель - Gasket, Silencer (DT55, <-3855-93300 ) (Gasket, Silencer)

под заказ0 руб.
1613811-94700-000

Корпус глушителя - Case, Silencer (DT65, <-3811-94700-0ED ) (Case, Silencer)

под заказ0 руб.
1613811-94713-000

Запчасть снята с производства - The Spare Part Is Laid Off (DT55, <-3811-94713-0ED) (The Spare Part Is Laid Off)

под заказ0 руб.
1713812-94700-000

Крышка, Глушитель - Cover, Silencer (Cover, Silencer)

под заказ0 руб.
1802162-06167-000

Болт - Bolt (DT55) (Bolt)

под заказ180 руб.
1801550-06167-000

   (актуальный код замены) Болт - Bolt

9 шт210 руб.
1801550-06167-000

Болт - Bolt (Bolt)

9 шт210 руб.
1902162-06167-000

Болт - Bolt (DT65) (Bolt)

под заказ180 руб.
1901550-06167-000

   (актуальный код замены) Болт - Bolt

9 шт210 руб.
1901550-06167-000

Болт - Bolt (Bolt)

9 шт210 руб.
2002142-05207-000

Винт - Screw (Screw, silencer cover # <-9125-05071 ) (Screw)

под заказ110 руб.
2109139-05041-000

Запчасть снята с производства - The Spare Part Is Laid Off (The Spare Part Is Laid Off)

под заказ0 руб.
2209250-15010-000

Заглушка (od: 19) - Plug (od:19) (Plug, silencer cover ) (Plug (od:19))

под заказ150 руб.
2309352-50903-600

Шланг (5x9x600) - Hose (5x9x600) (L:600->25 ) (Hose (5x9x600))

под заказ570 руб.
2309352-50006-600

   (актуальный код замены) Шланг (5x9x600) - Hose (5x9x600)

1 шт570 руб.
2409352-50903-600

Шланг (5x9x600) - Hose (5x9x600) (L:600->5 ) (Hose (5x9x600))

под заказ570 руб.
2409352-50006-600

   (актуальный код замены) Шланг (5x9x600) - Hose (5x9x600)

1 шт570 руб.
2509401-08410-000

Зажим - Clip (MODEL:88~90 ) (Clip)

под заказ130 руб.
2609401-08411-000

Зажим - Clip (MODEL:91~99 ) (Clip)

8 шт130 руб.
2709367-06002-000

Соединитель тройника - Joint, 3 Way (3 way ) (Joint, 3 Way)

под заказ220 руб.
2813855-95210-000

Прокладка, Глушитель - Gasket, Silencer (DT65, <-3855-95200 ) (Gasket, Silencer)

под заказ390 руб.
2913853-94710-000

Прокладка, Корпус глушителя - Gasket, Silencer Cover (Gasket, silencer cover # <-3853-94700 ) (Gasket, Silencer Cover)

под заказ0 руб.


Время выполнения запроса 1.8398439884186 сек.

 
 

данный сайт носит информационный характер и не является публичной офертой

склад запчастей для водомоторной техники