|   | 
   
     
 Выбрать другую модель 
вернуться к списку узлов и деталей ДЕТАЛИРОВКА ДЛЯ МОДЕЛИ:  BRP ATV DS 250 NA, CE & INT, 2013 
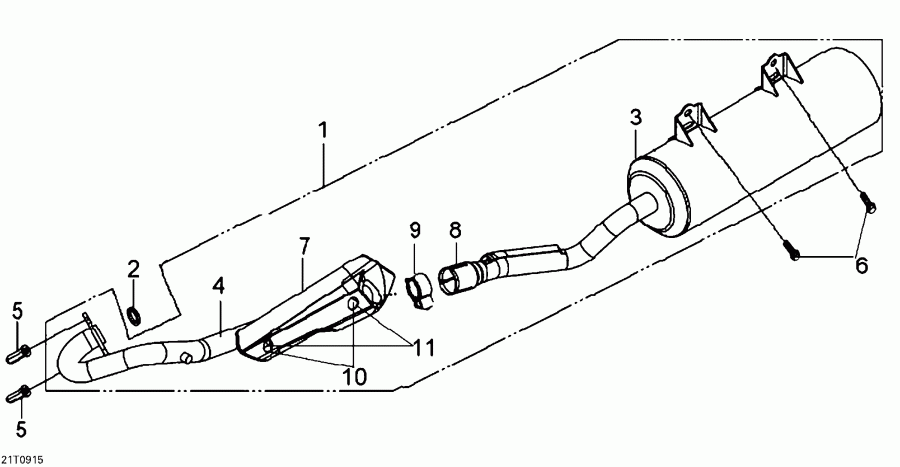
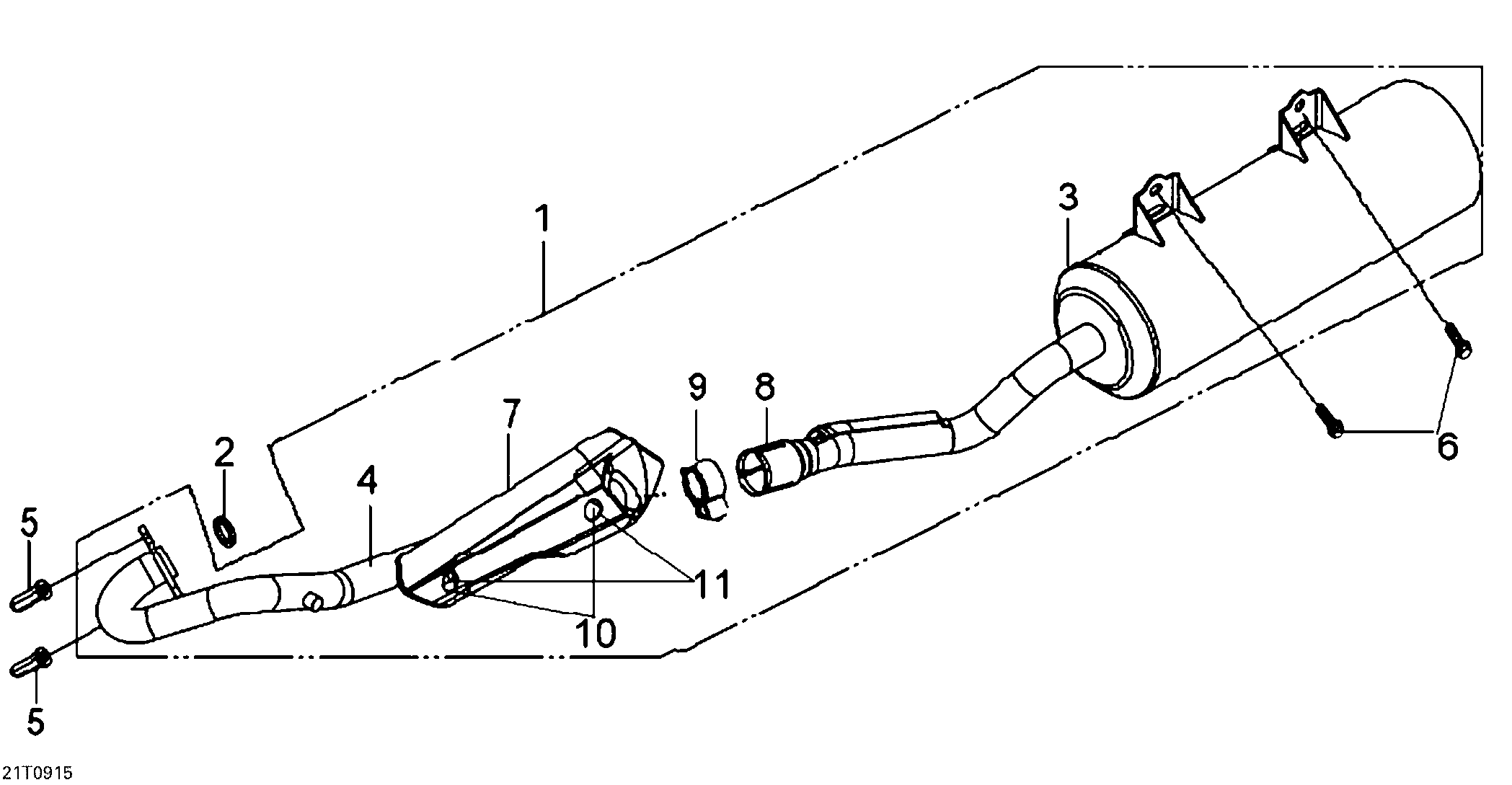
Раздел: Muffler | Muffler
 
 
 
 
Номер на   рисунке | Артикул | Наименование | Кол-во   на складе | Цена |  
|  1  | NASP/NDPR | Не доступно As Spare Parts (Not Available As Spare Parts)  | под заказ | по запросу |  |  
|  2  | S18291H9A000 | Выхлоп Прокладка (Exhaust Gasket)  | под заказ | 760 руб. |  |  
|  3  | S18310RB1300 | Muffler в сборе. Европа (Muffler Assy. Europe)  | под заказ | 37900 руб. |  |  
|  3  | S18310RCB300 | Muffler в сборе. North America, International (Muffler Assy. North America, International)  | под заказ | 37900 руб. |  |  
|  4  | S1832ARB1000 | Выхлопная труба (Exhaust Pipe)  | под заказ | 23100 руб. |  |  
|  5  | S90043HMA000 | Колпачок гайки (Cap Nut)  | под заказ | 910 руб. |  |  
|  6  | S958010801607 | Фланецd Болт M8 X 16 (Flanged Bolt M8 X 16)  | под заказ | 300 руб. |  |  
|  7  | S18317RB1000 | Выхлопная труба Защита (Exhaust Pipe Protector)  | под заказ | 7690 руб. |  |  
|  8  | S18319HMA300 | Muffler Прокладка (Muffler Gasket)  | под заказ | 2120 руб. |  |  
|  9  | S18321RB1000 | Muffler Ремешок 37 mm (Muffler Band 37 mm)  | под заказ | 1660 руб. |  |  
|  10  | S90103V02000 | Фланецd Болт set 8x12 (Flanged Bolt set 8x12)  | под заказ | 450 руб. |  |  
|  11  | S90107V02000 | Шайба (Washer)  | под заказ | 210 руб. |  |  
 
 
 Время выполнения запроса 0.5652379989624 сек.     
    | 
     |